TOP
|
特許
|
意匠
|
商標
特許ウォッチ
Twitter
他の特許を見る
10個以上の画像は省略されています。
公開番号
2025169711
公報種別
公開特許公報(A)
公開日
2025-11-14
出願番号
2024074716
出願日
2024-05-02
発明の名称
タイヤ成形装置の検査方法およびタイヤの成形方法
出願人
横浜ゴム株式会社
代理人
清流国際弁理士法人
,
個人
,
個人
主分類
B29D
30/26 20060101AFI20251107BHJP(プラスチックの加工;可塑状態の物質の加工一般)
要約
【課題】タイヤ成形装置で生じる誤差や不備の有無をより的確に判断できる検査方法およびこの検査方法で検査された成形装置を用いるタイヤの成形方法を提供する。
【解決手段】成形ドラム2とともに回転する検出体8を回転検出部8aにより検出し、センサ部7による検知データ及び駆動モータ4の駆動パルス信号とともに演算部9に入力される回転検出部8aによる検出結果を用いて、周方向基準位置Cpを起点にした検知データが検知された位置に対応する成形ドラム2の周方向位置を特定し、成形ドラム2の表面のチェック指標11に対するセンサ部7による検知結果に基づいてセンサ部7及び成形ドラム2の適正度を判断し、成形ドラム2の回転前と1回転後とでセンサ部7により検知したチェック指標11の周方向基準位置Cpを起点にした周方向位置どうしの周方向ずれ量に基づいて駆動パルス信号の演算部9への入力の適正度を判断する。
【選択図】 図11
特許請求の範囲
【請求項1】
駆動モータにより回転駆動される成形ドラムと、前記成形ドラムの表面でのタイヤ部材の状態を検知するセンサ部と、前記センサ部による検知データおよび前記駆動モータの駆動パルス信号とが入力される演算部とを有し、前記駆動パルス信号に基づいて、前記成形ドラムの周方向移動量が前記演算部により算出されるタイヤ成形装置の適正度を判断するタイヤ成形装置の検査方法において、
前記成形ドラムの表面での周方向基準位置が予め設定されていて、
所定の検出位置に不動状態で固定されている回転検出部により、前記成形ドラムとともに回転する検出体を前記成形ドラムの1回転毎に検出し、前記検知データおよび前記駆動パルス信号とともに前記演算部に入力される前記回転検出部による検出結果を用いて、前記周方向基準位置を起点にした前記検知データが検知された位置に対応する前記成形ドラムの周方向位置を特定可能にして、
前記成形ドラムの表面またはその近傍の所定位置に前記成形ドラムとともに回転するチェック指標を設置して、前記センサ部により前記チェック指標を検知して、この検知結果に基づいて前記センサ部の適正度および前記成形ドラムの適正度を判断し、
前記成形ドラムを回転させつつ前記センサ部により前記成形ドラムの表面を検知して、前記成形ドラムを回転させる前と1回転させた時とで、前記センサ部により検知した前記チェック指標の前記周方向基準位置を起点にした周方向位置どうしの周方向ずれ量に基づいて前記駆動パルス信号の前記演算部への入力の適正度を判断するタイヤ成形装置の検査方法。
続きを表示(約 930 文字)
【請求項2】
前記チェック指標を、前記成形ドラムを構成するセグメントからドラム幅方向外側に突出する突出部に設置する請求項1に記載のタイヤ成形装置の検査方法。
【請求項3】
前記成形ドラムの幅方向中心に対して、同じ形状の前記チェック指標を対称位置に設置する請求項1または2に記載のタイヤ成形装置の検査方法。
【請求項4】
前記成形ドラムの幅方向中心に対して、同じ形状の前記チェック指標を非対称位置に設置する、または、前記成形ドラムの幅方向中心に対して幅方向一方側および他方側に互いに異なる形状の前記チェック指標を設置する請求項1または2に記載のタイヤ成形装置の検査方法。
【請求項5】
前記表面の幅方向所定位置に向かって周方向に延在する一直線の輝線を輝線投光器から投光し、前記センサ部としてカメラ装置を用いて、前記カメラ装置により取得された前記表面での前記輝線の画像データに基づいて算出された前記輝線の前記成形ドラムでのドラム幅方向位置と、予め把握されている前記幅方向所定位置との比較に基づいて、前記輝線投光器の適正度を判断する請求項1または2に記載のタイヤ成形装置の検査方法。
【請求項6】
前記センサ部としてカメラ装置を用いて、前記カメラ装置により取得された前記表面の画像データと、予め把握されている前記表面の健全な状態を示す健全画像データとの比較に基づいて、前記表面の状態の適正度を判断する請求項1または2に記載のタイヤ成形装置の検査方法。
【請求項7】
タイヤ成形装置の成形ドラムにタイヤ部材を巻き付けてグリーンタイヤを成形するタイヤの成形方法において、
請求項1または2に記載のタイヤ成形装置の検査方法によって、予め設定された所定の検査時期に前記タイヤ成形装置の適正度を判断して、判断項目がすべて適正であると判断された前記タイヤ成形装置を用いて前記グリーンタイヤを成形するタイヤの成形方法。
【請求項8】
前記所定の検査時期が、同一仕様の前記グリーンタイヤを連続的に複数成形する同一ロットの成形開始直前である請求項7に記載のタイヤの成形方法。
発明の詳細な説明
【技術分野】
【0001】
本発明は、タイヤ成形装置の検査方法およびタイヤの成形方法に関し、さらに詳しくは、タイヤ成形装置で生じる誤差や不備の有無をより的確に判断できる検査方法およびこの検査方法により検査された成形装置を用いるタイヤの成形方法に関するものである。
続きを表示(約 2,400 文字)
【背景技術】
【0002】
タイヤはグリーンタイヤを加硫することで製造される。グリーンタイヤは、タイヤ成形装置の成形ドラムに複数種類のタイヤ部材が積層されることにより成形される。タイヤ成形装置には成形ドラム上のタイヤ部材の状態を測定する測定システム(センサ部)が備わっている。この測定システムには、僅かではあるが経時的な誤差や不備が生じる。そこで、その測定精度を適切に維持するための較正方法が提案されている(特許文献1参照)。この較正方法では、成形ドラムに較正要素を設けて、この較正要素に対する測定システムによる測定結果に基づいて測定システムの測定精度が検証される(段落0100~0104、図11~図14など)。
【0003】
例えば、成形ドラムにタイヤ部材を巻き付けて環状に形成する際には、適切なスプライス量を確保するために、センサ部によって成形ドラムの周方向移動量(周方向位置)を正確に把握する必要がある。しかしながら、特許文献1で提案されている較正方法では、成形ドラムの周方向移動量(周方向位置)の測定精度が十分に検証されていない。それ故、タイヤ成形装置で生じる誤差や不備をより的確に判断するには改善の余地がある。
【先行技術文献】
【特許文献】
【0004】
特表2022-527754号公報
【発明の概要】
【発明が解決しようとする課題】
【0005】
本発明の目的は、タイヤ成形装置で生じる誤差や不備の有無をより的確に判断できる検査方法およびこの検査方法により検査された成形装置を用いるタイヤの成形方法を提供することにある。
【課題を解決するための手段】
【0006】
上記目的を達成するため本発明のタイヤ成形装置の検査方法は、駆動モータにより回転駆動される成形ドラムと、前記成形ドラムの表面でのタイヤ部材の状態を検知するセンサ部と、前記センサ部による検知データおよび前記駆動モータの駆動パルス信号とが入力される演算部とを有し、前記駆動パルス信号に基づいて、前記成形ドラムの周方向移動量が前記演算部により算出されるタイヤ成形装置の適正度を判断するタイヤ成形装置の検査方法において、前記成形ドラムの表面での周方向基準位置が予め設定されていて、所定の検出位置に不動状態で固定されている回転検出部により、前記成形ドラムとともに回転する検出体を前記成形ドラムの1回転毎に検出し、前記検知データおよび前記駆動パルス信号とともに前記演算部に入力される前記回転検出部による検出結果を用いて、前記周方向基準位置を起点にした前記検知データが検知された位置に対応する前記成形ドラムの周方向位置を特定可能にして、前記成形ドラムの表面またはその近傍の所定位置に前記成形ドラムとともに回転するチェック指標を設置して、前記センサ部により前記チェック指標を検知して、この検知結果に基づいて前記センサ部の適正度および前記成形ドラムの適正度を判断し、前記成形ドラムを回転させつつ前記センサ部により前記成形ドラムの表面を検知して、前記成形ドラムを回転させる前と1回転させた時とで、前記センサ部により検知した前記チェック指標の前記周方向基準位置を起点にした周方向位置どうしの周方向ずれ量に基づいて前記駆動パルス信号の前記演算部への入力の適正度を判断することを特徴とする。
【0007】
本発明のタイヤの成形方法は、タイヤ成形装置の成形ドラムにタイヤ部材を巻き付けてグリーンタイヤを成形するタイヤの成形方法において、上記のタイヤ成形装置の検査方法によって、予め設定された所定の検査時期に前記タイヤ成形装置の適正度を判断して、判断項目がすべて適正であると判断された前記タイヤ成形装置を用いて前記グリーンタイヤを成形することを特徴とする。
【発明の効果】
【0008】
本発明のタイヤ成形装置の検査方法によれば、前記センサ部による前記チェック指標に対する検知結果に基づいて前記センサ部の適正度および前記成形ドラムの適正度が判断される。さらに、前記成形ドラムを回転させる前と1回転させた時とにおいて、前記センサ部により検知された前記チェック指標の前記周方向基準位置を起点にした周方向位置どうしの周方向ずれ量に基づいて前記駆動パルス信号の前記演算部への入力の適正度が判断される。これに伴い、タイヤ成形装置で生じる誤差や不備の有無をより的確に判断するには有利になる。
【0009】
本発明のタイヤの成形方法によれば、上記の検査方法によって適正あると判断されたタイヤ成形装置を用いることにより、品質の優れたグリーンタイヤを成形することができる。これに伴い、製造されたタイヤの品質向上に寄与し、タイヤの生産性を向上させるにも有利になる。
【図面の簡単な説明】
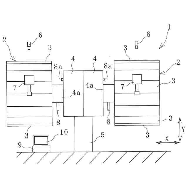
【0010】
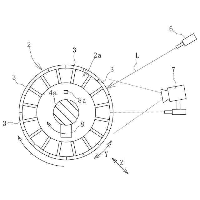
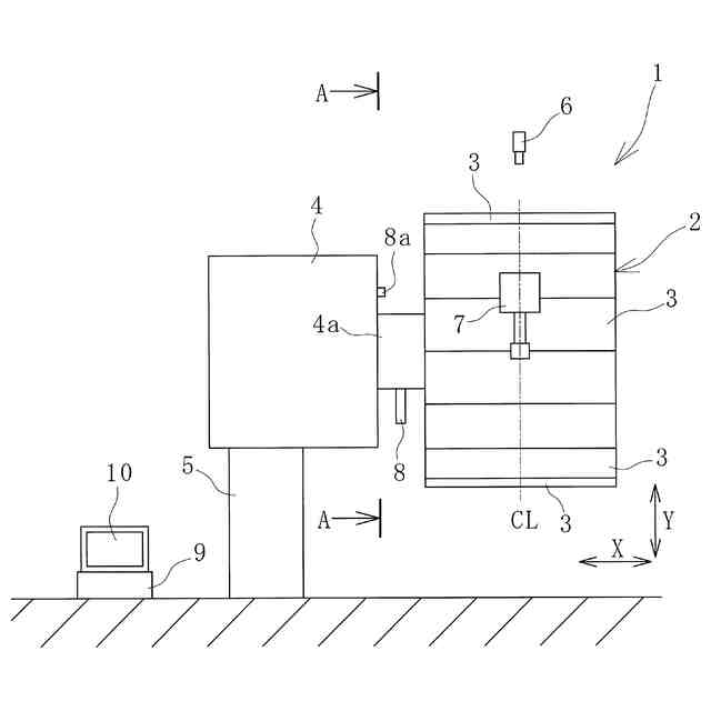
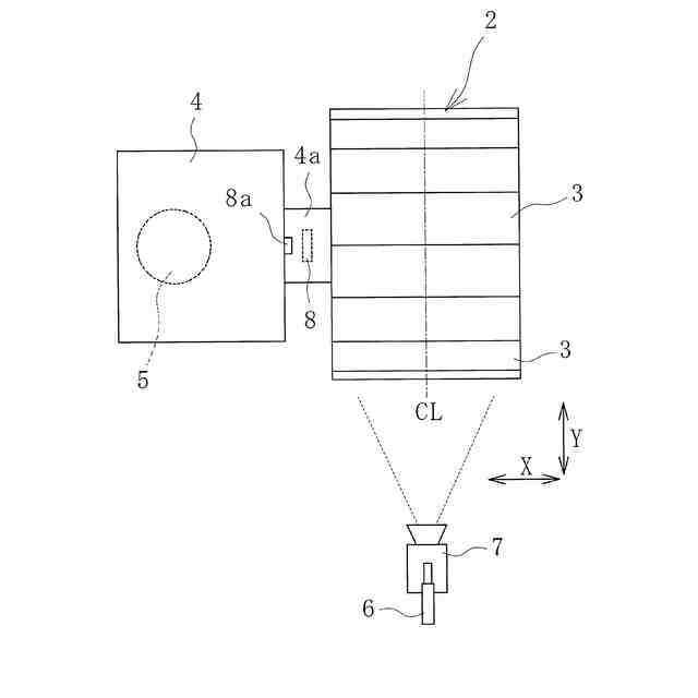
タイヤ成形装置を正面視で例示する説明図である。
図1のA-A断面図である。
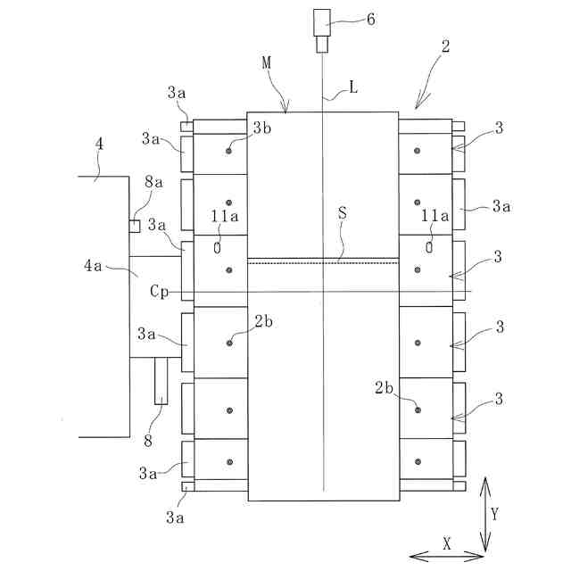
図1の成形ドラムを平面視で例示する説明図である。
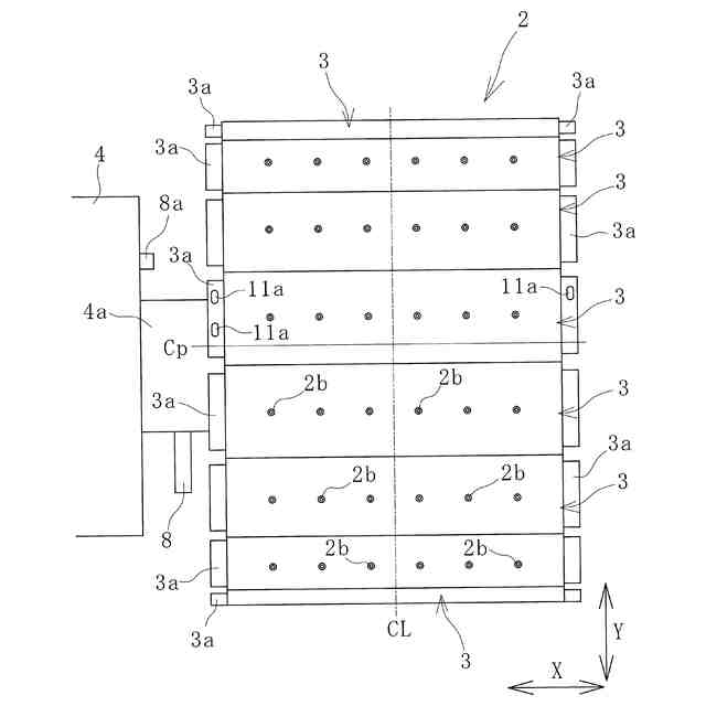
図1の成形ドラムの表面を拡大して例示する説明図である。
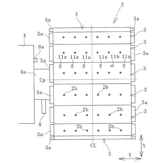
検査方法による判断項目を例示する説明である説明図である。
別の判断項目を例示する説明図である。
さらに別の判断項目を例示する説明図である。
図4のチェック指標の変形例を示す説明図である。
別のタイヤ成形装置を正面視で例示する説明図である。
図9の成形ドラムを平面視で例示する説明図である。
図4の成形ドラムにタイヤ部材を巻き付けてグリーンタイヤを成形している工程を例示する説明図である。
【発明を実施するための形態】
(【0011】以降は省略されています)
この特許をJ-PlatPat(特許庁公式サイト)で参照する
関連特許
横浜ゴム株式会社
タイヤ
2か月前
横浜ゴム株式会社
タイヤ
2か月前
横浜ゴム株式会社
タイヤ
1か月前
横浜ゴム株式会社
タイヤ
1か月前
横浜ゴム株式会社
タイヤ
1か月前
横浜ゴム株式会社
タイヤ
1か月前
横浜ゴム株式会社
タイヤ
1か月前
横浜ゴム株式会社
タイヤ
2か月前
横浜ゴム株式会社
タイヤ
1か月前
横浜ゴム株式会社
タイヤ
1か月前
横浜ゴム株式会社
タイヤ
1か月前
横浜ゴム株式会社
タイヤ
1か月前
横浜ゴム株式会社
タイヤ
1か月前
横浜ゴム株式会社
タイヤ
2か月前
横浜ゴム株式会社
タイヤ
28日前
横浜ゴム株式会社
タイヤ
2か月前
横浜ゴム株式会社
タイヤ
2か月前
横浜ゴム株式会社
タイヤ
2か月前
横浜ゴム株式会社
タイヤ
2か月前
横浜ゴム株式会社
タイヤ
2か月前
横浜ゴム株式会社
タイヤ
2か月前
横浜ゴム株式会社
タイヤ
2か月前
横浜ゴム株式会社
タイヤ
2か月前
横浜ゴム株式会社
タイヤ
2か月前
横浜ゴム株式会社
タイヤ
2か月前
横浜ゴム株式会社
タイヤ
2か月前
横浜ゴム株式会社
タイヤ
28日前
横浜ゴム株式会社
タイヤ
1か月前
横浜ゴム株式会社
タイヤ
3か月前
横浜ゴム株式会社
タイヤ
27日前
横浜ゴム株式会社
音響材
6日前
横浜ゴム株式会社
タイヤ
2か月前
横浜ゴム株式会社
タイヤ
13日前
横浜ゴム株式会社
タイヤ
22日前
横浜ゴム株式会社
タイヤ
22日前
横浜ゴム株式会社
タイヤ
13日前
続きを見る
他の特許を見る