TOP
|
特許
|
意匠
|
商標
特許ウォッチ
Twitter
他の特許を見る
公開番号
2025169696
公報種別
公開特許公報(A)
公開日
2025-11-14
出願番号
2024074671
出願日
2024-05-02
発明の名称
締結具及びナット
出願人
公立大学法人大阪
,
国立大学法人徳島大学
,
日鉄ボルテン株式会社
代理人
アセンド弁理士法人
主分類
F16B
37/00 20060101AFI20251107BHJP(機械要素または単位;機械または装置の効果的機能を生じ維持するための一般的手段)
要約
【課題】鋼構造物の接合部の耐食性を高め、引張耐力を高める締結具を提供する。
【解決手段】締結具1のボルト2は、軸部21と、ボルト皿頭部22とを含む。軸部21は、円柱形状を有し、雄ねじ部211を含む。ボルト皿頭部22は、軸部21と繋がっており、軸部21と同軸に配置され、軸部21からボルト2の軸方向に離れるに従って直径が大きくなる円錐台部221を有する。ナット3は、円筒部31と、ナット皿頭部32と、貫通孔33と、雌ねじ部34とを含む。円筒部31は、円筒形状を有する。ナット皿頭部32は、円筒部31と繋がっており、円筒部31と同軸に配置され、円筒部31からナット3の軸方向に離れるに従って直径が大きくなる円錐台部321を有する。貫通孔33は、円筒部31及びナット皿頭部32と同軸に配置され、円筒部31及びナット皿頭部32を貫通する。雌ねじ部34は、貫通孔33の内面に形成される。
【選択図】図3
特許請求の範囲
【請求項1】
ボルトと、
ナットと、を備え、
前記ボルトは、
円柱形状を有し、雄ねじ部を含む軸部と、
前記軸部と繋がっており、前記軸部と同軸に配置され、前記軸部から前記ボルトの軸方向に離れるに従って直径が大きくなる円錐台部を有するボルト皿頭部と、を含み、
前記ナットは、
円筒形状を有する円筒部と、
前記円筒部と繋がっており、前記円筒部と同軸に配置され、前記円筒部から前記ナットの軸方向に離れるに従って直径が大きくなる円錐台部を有するナット皿頭部と、
前記円筒部及び前記ナット皿頭部と同軸に配置され、前記円筒部及び前記ナット皿頭部を貫通する貫通孔と、
前記貫通孔の内面に形成される雌ねじ部と、を含む、
締結具。
続きを表示(約 750 文字)
【請求項2】
請求項1に記載の締結具であって、
前記円筒部は、前記円筒部の内面の先端部にテーパ部を含み、
前記テーパ部では、前記円筒部の開口に向かって内径が大きくなる。
締結具。
【請求項3】
請求項1に記載の締結具であって、
前記ボルト皿頭部のテーパ角は、前記ナット皿頭部のテーパ角よりも大きい、
締結具。
【請求項4】
請求項1に記載の締結具であって、
前記ナットはさらに、
前記ナット皿頭部のナット上面において、前記貫通孔の開口の周りに形成された複数の有底穴を有する、
締結具。
【請求項5】
請求項4に記載の締結具であって、
前記ナット上面を平面視したとき、前記有底穴は矩形状である、
締結具。
【請求項6】
ナットであって、
円筒形状を有する円筒部と、
前記円筒部と繋がっており、前記円筒部と同軸に配置され、前記円筒部から前記ナットの軸方向に離れるに従って直径が大きくなる円錐台部を有するナット皿頭部と、
前記円筒部及び前記ナット皿頭部と同軸に配置され、前記円筒部及び前記ナット皿頭部を貫通する貫通孔と、
前記貫通孔の内面に形成される雌ねじ部と、を含む、
ナット。
【請求項7】
請求項6に記載のナットであってさらに、
前記ナット皿頭部のナット上面において、前記貫通孔の開口の周りに形成された複数の有底穴を有する、
ナット。
【請求項8】
請求項7に記載のナットであって、
前記ナット上面を平面視したとき、前記有底穴は矩形状である、
ナット。
発明の詳細な説明
【技術分野】
【0001】
本開示は、締結具及びナットに関し、さらに詳しくは、ボルトとナットとを備える締結具、及び、ナットに関する。
続きを表示(約 1,900 文字)
【背景技術】
【0002】
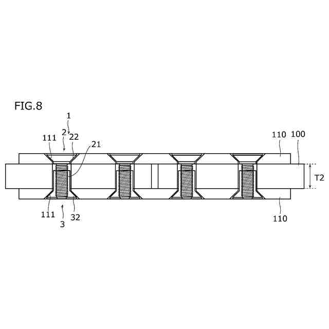
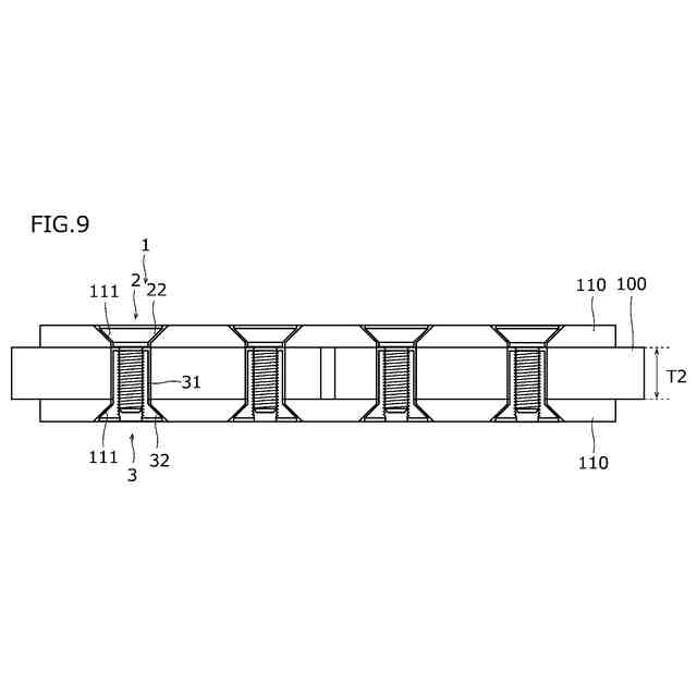
鋼橋、建築物、鉄塔、化学プラント等に代表される鋼構造物は、現場において、複数の鋼部材を締結具により接合して構築される。締結具は、ボルト及びナットを備える。図1は、鋼構造物の接合部の模式図である。図1を参照して、鋼構造物の接合部は例えば、一対の母板100と、一対の連結板110とを含む。母板100及び連結板110には、貫通孔140が形成されている。貫通孔140には、締結具120のボルト130が挿入される。母板100が一対の連結板110に挟まれた状態で、複数の締結具120により接合される。具体的には、締結具120のボルト130とナット150とが締結されることにより、摩擦接合により、母板100が連結板110と接合される。鋼構造物の複数箇所で図1に示すような接合部が形成され、鋼構造物が構築される。摩擦接合により母板100及び連結板110が接合される接合部に使用される締結具120には、摩擦接合を実現できる高い引張耐性(軸力)が求められる。
【0003】
また、上述の鋼構造物は屋外に設置される。そのため、鋼構造物の接合部には耐食性が求められる。通常、鋼構造物の接合部には、耐食性を高めるために塗料が塗られ、塗膜が形成される。しかしながら、図1に示すとおり、鋼構造物の接合部は、ボルト130の頭部及びナット150により凹凸が形成される。このような凹凸が形成された接合部表面を塗装することは困難であり、塗膜が均一に形成されにくい。そのため、接合部に塗膜の薄い部分が形成されてしまう。塗膜の薄い部分は耐食性に劣る。さらに、接合部の表面の凹凸には雨水が長期間滞留しやすい。その結果、接合部が形成されてからある程度の期間が経過すると、図2に示すように、接合部の凹凸部分(図2ではナット150付近)が腐食する場合がある。
【0004】
このような鋼構造物の接合部での経年腐食を抑制するために、特開2000-160700号公報(特許文献1)では、いわゆる皿ボルトとナットとを備える締結具を提案する。この文献では、締結具で接合部の母板と連結板とを接合するとき、皿ボルトの皿頭が連結板から突出するのを抑制できる。そのため、接合部において凹凸の形成をある程度抑制できる(特許文献1の図2参照)。
【先行技術文献】
【特許文献】
【0005】
特開2000-160700号公報
【発明の概要】
【発明が解決しようとする課題】
【0006】
しかしながら、特許文献1に開示された締結具を用いて接合部の母板と連結板とを接合した場合、ナット側の連結板の表面では依然として凹凸が形成される。そのため、塗膜を均一に形成しにくく、十分な耐食性が得られない場合がある。
【0007】
本開示の目的は、鋼構造物を構成する鋼部材を接合して形成される接合部の耐食性を高め、締結後の引張耐力を高めることが可能な締結具を提供することである。
【課題を解決するための手段】
【0008】
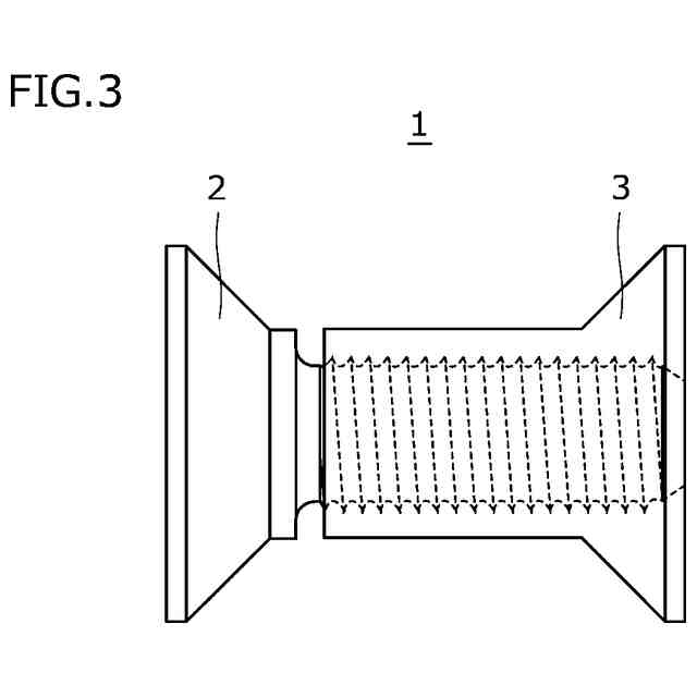
本開示の締結具は、ボルトと、ナットとを備える。
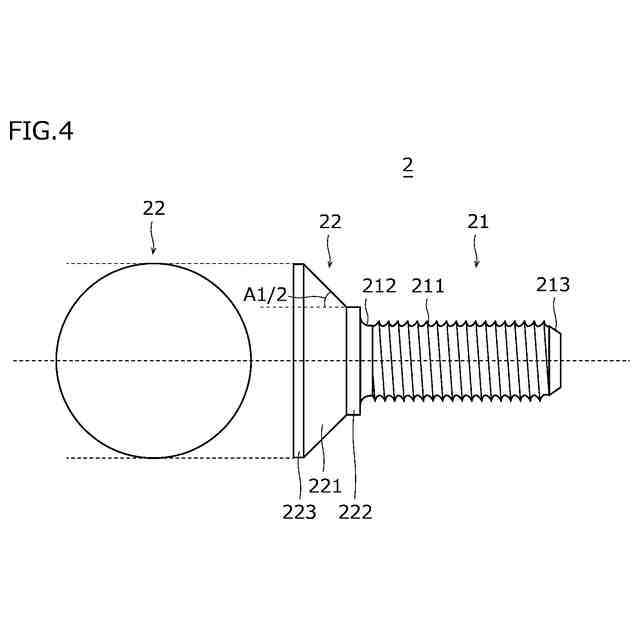
ボルトは、軸部と、ボルト皿頭部とを含む。軸部は、円柱形状を有し、雄ねじ部を含む。ボルト皿頭部は、軸部と繋がっており、軸部と同軸に配置され、軸部からボルトの軸方向に離れるに従って直径が大きくなる円錐台部を有する。
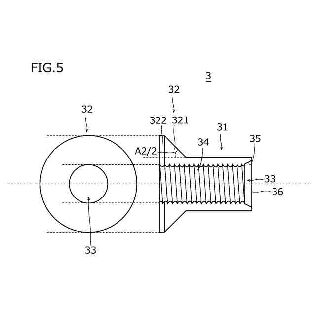
ナットは、円筒部と、ナット皿頭部と、貫通孔と、雌ねじ部とを含む。円筒部は、円筒形状を有する。ナット皿頭部は、円筒部と繋がっており、円筒部と同軸に配置され、円筒部からナットの軸方向に離れるに従って直径が大きくなる円錐台部を有する。貫通孔は、円筒部及びナット皿頭部と同軸に配置され、円筒部及びナット皿頭部を貫通する。雌ねじ部は、貫通孔の内面に形成される。
【0009】
本開示のナットは、円筒部と、ナット皿頭部と、貫通孔と、雌ねじ部とを含む。円筒部は、円筒形状を有する。ナット皿頭部は、円筒部と繋がっており、円筒部と同軸に配置され、円筒部からナットの軸方向に離れるに従って直径が大きくなる円錐台部を有する。貫通孔は、円筒部及びナット皿頭部と同軸に配置され、円筒部及びナット皿頭部を貫通する。雌ねじ部は、貫通孔の内面に形成される。
【発明の効果】
【0010】
本開示の締結具は、鋼構造物を構成する鋼部材を接合して形成される接合部の耐食性を高め、締結後の引張耐力を高めることが可能である。本開示のナットは、上述の締結具に利用される。
【図面の簡単な説明】
(【0011】以降は省略されています)
この特許をJ-PlatPat(特許庁公式サイト)で参照する
関連特許
公立大学法人大阪
硫化物
2か月前
公立大学法人大阪
締結具及びナット
3日前
公立大学法人大阪
タケ由来ミミズ堆肥
2か月前
公立大学法人大阪
細胞質送達剤及びその使用
1か月前
公立大学法人大阪
内視鏡外科手術用ドリルのカバー
3日前
鹿島建設株式会社
空調システム
1か月前
愛三工業株式会社
電力供給装置
2か月前
公立大学法人大阪
座圧測定装置及び座位姿勢改善方法
3日前
三菱ケミカル株式会社
ガス吸着フィルム
2か月前
日東電工株式会社
ウレア化合物の製造方法
1か月前
森村金属株式会社
蠕動運動で移動するロボット
2か月前
公立大学法人大阪
プラスチック分解用固体触媒及び液状油の製造方法
5日前
NTT株式会社
光ファイバの群遅延時間測定システム
1か月前
公立大学法人大阪
脂肪酸アルキルエステルの製造方法および製造システム
1か月前
学校法人神奈川大学
化合物及びそれを含んでなる発光材料
2か月前
公立大学法人大阪
画像処理装置、画像撮影装置、プログラム及び画像処理方法
2か月前
信越化学工業株式会社
熱伝導性樹脂組成物、及び高温高熱伝導シート
2か月前
飯田グループホールディングス株式会社
蟻酸分解装置及び水素供給システム
1か月前
公立大学法人大阪
光ファイバグレーティングデバイスおよび光ファイバグレーティングデバイスの製造方法
1か月前
セイコーエプソン株式会社
時系列データ処理方法、学習方法、処理システム及び学習システム
2か月前
公立大学法人大阪
消化管又は皮膚移植片対宿主病の診断用キット、診断用デバイス、及び罹患の可能性を判断する方法
2か月前
国立研究開発法人農業・食品産業技術総合研究機構
湿度制御装置、プログラム、湿度制御システムおよび湿度制御方法
2か月前
公立大学法人大阪
カプセルタンパク質とその多量体組成物およびそれを用いた医薬組成物
2か月前
個人
留め具
1か月前
個人
鍋虫ねじ
2か月前
個人
ホース保持具
7か月前
個人
紛体用仕切弁
2か月前
個人
回転伝達機構
3か月前
個人
差動歯車用歯形
4か月前
個人
給排気装置
1か月前
個人
ジョイント
1か月前
個人
ナット
12日前
株式会社不二工機
電磁弁
4か月前
個人
地震の揺れ回避装置
3か月前
株式会社不二工機
電磁弁
6か月前
個人
ナット
2か月前
続きを見る
他の特許を見る