TOP
|
特許
|
意匠
|
商標
特許ウォッチ
Twitter
他の特許を見る
公開番号
2025169619
公報種別
公開特許公報(A)
公開日
2025-11-14
出願番号
2024074491
出願日
2024-05-01
発明の名称
座圧測定装置及び座位姿勢改善方法
出願人
公立大学法人大阪
代理人
個人
,
個人
,
個人
,
個人
,
個人
,
個人
主分類
A47C
7/62 20060101AFI20251107BHJP(家具;家庭用品または家庭用設備;コーヒーひき;香辛料ひき;真空掃除機一般)
要約
【課題】本発明は、座圧の左右バランスが取れているか否かを精度よく測定することができる座圧測定装置を提供する。
【解決手段】本発明の座圧測定装置は、右座圧用感圧センサと、左座圧用感圧センサと、マットと、前記右座圧用感圧センサ及び前記左座圧用感圧センサと電気的に接続した制御部とを備え、前記マットは、椅子の座面に敷くためのマット又は椅子の座面を構成するマットであり、前記制御部は、前記右座圧用感圧センサ及び前記左座圧用感圧センサを用いて座圧に対応したデータを測定するように設けられ、前記右座圧用感圧センサ及び前記左座圧用感圧センサは、前記マットに着脱可能に取り付けられており、かつ、前記マット上における前記右座圧用感圧センサ及び前記左座圧用感圧センサの取り付け位置を変更できるように設けられたことを特徴とする。
【選択図】図2
特許請求の範囲
【請求項1】
右座圧用感圧センサと、左座圧用感圧センサと、マットと、前記右座圧用感圧センサ及び前記左座圧用感圧センサと電気的に接続した制御部とを備え、
前記マットは、椅子の座面に敷くためのマット又は椅子の座面を構成するマットであり、
前記制御部は、前記右座圧用感圧センサ及び前記左座圧用感圧センサを用いて座圧に対応したデータを測定するように設けられ、
前記右座圧用感圧センサ及び前記左座圧用感圧センサは、前記マットに着脱可能に取り付けられており、かつ、前記マット上における前記右座圧用感圧センサ及び前記左座圧用感圧センサの取り付け位置を変更できるように設けられたことを特徴とする座圧測定装置。
続きを表示(約 1,000 文字)
【請求項2】
前記右座圧用感圧センサ及び前記左座圧用感圧センサは、面ファスナ、粘着テープ又は仮止め針により前記マットに着脱可能に取り付けられている請求項1に記載の座圧測定装置。
【請求項3】
前記マットは、前記面ファスナのループ面を有し、
前記右座圧用感圧センサは、前記面ファスナの第1フック面を有する第1シートに固定されており、
前記左座圧用感圧センサは、前記面ファスナの第2フック面を有する第2シートに固定されており、
前記ループ面又は前記マットは、第1及び第2フック面を前記ループ面に取り付けるための目盛り又はマークを有する請求項2に記載の座圧測定装置。
【請求項4】
前記制御部は、前記右座圧用感圧センサ及び前記左座圧用感圧センサを用いて測定した測定データに基づき前記椅子に座っている人に座位姿勢についての情報を知らせるように設けられ、或いは、前記椅子に座っている人に座位姿勢についての情報を知らせるための機器に前記右座圧用感圧センサ及び前記左座圧用感圧センサを用いて測定した測定データ又は前記測定データから算出されたデータを直接的又は間接的に出力するように設けられた請求項1に記載の座圧測定装置。
【請求項5】
前記制御部又は前記機器は、表示部又はスピーカーを備え、
前記制御部又は前記機器は、前記表示部又は前記スピーカーを用いて前記椅子に座っている人に対し右に傾いた座位姿勢、左に傾いた座位姿勢及び左右に偏りのない座位姿勢をとるよう指示するように設けられ、かつ、前記椅子に座っている人が指示に従い動いた時の前記右座圧用感圧センサ及び前記左座圧用感圧センサを用いて測定した測定データ又は前記測定データから算出されたデータに基づき、前記表示部又は前記スピーカーを用いて前記椅子に座っている人に座位姿勢についての情報を知らせるように設けられた請求項4に記載の座圧測定装置。
【請求項6】
請求項1~5のいずれか1つの座圧測定装置を用いた座位姿勢改善方法であって、
前記椅子に座っている人に対し右に傾いた座位姿勢、左に傾いた座位姿勢及び左右に偏りのない座位姿勢をとるよう指示するステップと、
前記椅子に座っている人が指示に従い動いた時の前記右座圧用感圧センサ及び前記左座圧用感圧センサを用いて測定した測定データ又は前記測定データから算出されたデータに基づき、前記椅子に座っている人に座位姿勢についての情報を知らせるステップとを含む座位姿勢改善方法。
発明の詳細な説明
【技術分野】
【0001】
本発明は、座圧測定装置及び座位姿勢改善方法に関する。
続きを表示(約 2,900 文字)
【背景技術】
【0002】
腰痛は性別や職業を問わず、多くの人が悩む症状の1つである。腰痛の原因の1つとして、悪い座位姿勢によって腰部に大きな負担がかかることが挙げられる。このため、座位姿勢を改善することにより、腰痛を治すこと又は和らげることができる場合がある。しかし、本人が座位姿勢が良いか悪いかを判断することは難しい。このため、座位姿勢を可視化することが考えられる。例えば、椅子の座面及び背面に圧力分布センサを設けた座位姿勢モニタリングシステムが知られている(例えば、特許文献1参照)。
【先行技術文献】
【特許文献】
【0003】
特開2018-102861号公報
【発明の概要】
【発明が解決しようとする課題】
【0004】
従来の座位姿勢モニタリングシステムでは、固定されたセンサで座面の圧力分布を測定するため、座面に多くの測定点を設ける必要があり、装置が複雑となり、測定データの解析も複雑となる。また、座位姿勢の判定精度が低下する場合がある。
本発明は、このような事情に鑑みてなされたものであり、座圧の左右バランスが取れているか否かを精度よく測定することができる座圧測定装置を提供する。
【課題を解決するための手段】
【0005】
本発明は、右座圧用感圧センサと、左座圧用感圧センサと、マットと、前記右座圧用感圧センサ及び前記左座圧用感圧センサと電気的に接続した制御部とを備え、前記マットは、椅子の座面に敷くためのマット又は椅子の座面を構成するマットであり、前記制御部は、前記右座圧用感圧センサ及び前記左座圧用感圧センサを用いて座圧に対応したデータを測定するように設けられ、前記右座圧用感圧センサ及び前記左座圧用感圧センサは、前記マットに着脱可能に取り付けられており、かつ、前記マット上における前記右座圧用感圧センサ及び前記左座圧用感圧センサの取り付け位置を変更できるように設けられたことを特徴とする座圧測定装置を提供する。
また、本発明は、前記椅子に座っている人に対し右に傾いた座位姿勢、左に傾いた座位姿勢及び左右に偏りのない座位姿勢をとるよう指示するステップと、前記椅子に座っている人が指示に従い動いた時の前記右座圧用感圧センサ及び前記左座圧用感圧センサを用いて測定した測定データ又は前記測定データから算出されたデータに基づき、前記椅子に座っている人に座位姿勢についての情報を知らせるステップとを含む座位姿勢改善方法も提供する。
【発明の効果】
【0006】
本発明の座圧測定装置では、椅子に座る人の体格や体形に合わせて右座圧用感圧センサ及び左座圧用感圧センサの取り付け位置を変更できる。このため、座位姿勢時の臀部と大腿の接続後部付近に右座圧用感圧センサ及び左座圧用感圧センサを配置することが可能になる。このことにより、右側の座圧と左側の座圧との比を精度よく測定することができ、座圧の左右バランスが取れているか否かを精度よく測定することができる。また、右座圧用感圧センサ及び左座圧用感圧センサは、マットに着脱可能に取り付けられているため、椅子に座っている人が前後左右に身体を動かしたとしても右座圧用感圧センサ及び左座圧用感圧センサの位置がずれることを防止することができる。
【図面の簡単な説明】
【0007】
本発明の一実施形態の座圧測定装置を取り付けた椅子の概略斜視図である。
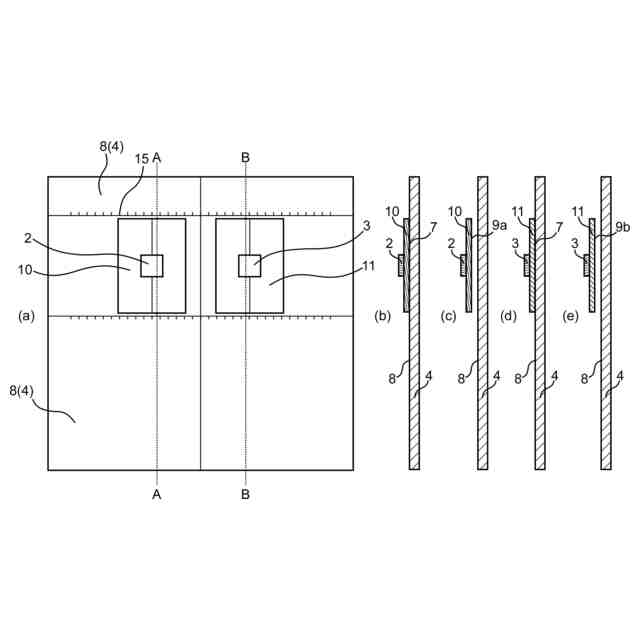
(a)は座圧用感圧センサを取り付けたマットの概略平面図であり、(b)は(a)の点線A-Aにおける右座圧用感圧センサ及びマットの概略断面図であり、(c)はマットとマットから取り外した右座圧用感圧センサの概略断面図であり、(d)は(a)の点線B-Bにおける左座圧用感圧センサ及びマットの概略断面図であり、(e)はマットとマットから取り外した左座圧用感圧センサの概略断面図である。
(a)は座圧用感圧センサを取り付けたマットの概略平面図であり、(b)は(a)の点線C-Cにおける右座圧用感圧センサ及びマットの概略断面図であり、(c)はマットとマットから取り外した右座圧用感圧センサの概略断面図であり、(d)は(a)の点線D-Dにおける左座圧用感圧センサ及びマットの概略断面図であり、(e)はマットとマットから取り外した左座圧用感圧センサの概略断面図である。
本発明の一実施形態の座位姿勢改善方法のフローチャートである。
座圧測定装置を用いて測定した調査対象者の座位姿勢状態の分布である。
【発明を実施するための形態】
【0008】
以下、図面を用いて本発明の一実施形態を説明する。図面や以下の記述中で示す構成は、例示であって、本発明の範囲は、図面や以下の記述中で示すものに限定されない。
本実施形態の座圧測定装置30は、右座圧用感圧センサ2と、左座圧用感圧センサ3と、マット4と、右座圧用感圧センサ2及び左座圧用感圧センサ3と電気的に接続した制御部5とを備え、マット4は、椅子6の座面に敷くためのマット又は椅子6の座面を構成するマットであり、制御部5は、右座圧用感圧センサ2及び左座圧用感圧センサ3を用いて座圧に対応したデータを測定するように設けられ、右座圧用感圧センサ2及び左座圧用感圧センサ3は、マット4に着脱可能に取り付けられており、かつ、マット4上における右座圧用感圧センサ2及び左座圧用感圧センサ3の取り付け位置を変更できるように設けられたことを特徴とする。
【0009】
座圧測定装置30は、椅子6に座っている人の座圧を測定する装置である。
本願明細書では、座圧とは、人が椅子6に座っているときに臀部及び大腿に対応する座面にかかる圧力である。
右座圧とは、人が椅子6に座っているときに右臀部及び右大腿に対応する座面にかかる圧力であり、右座圧用感圧センサ2は、この右座圧の大きさを測定するための感圧センサである。右座圧用感圧センサ2は、椅子6に座っている人の右臀部と右大腿の接続後部(右坐骨付近)に位置することが好ましい。このことにより、右座圧の大きさを適切に測定することができる。右臀部と右大腿の接続後部の位置には個人差があるが、座圧測定装置30では、右座圧用感圧センサ2の取り付け位置を変更できるため、右座圧の大きさを適切に測定することができる。
【0010】
左座圧とは、人が椅子6に座っているときに左臀部及び左大腿に対応する座面にかかる圧力であり、左座圧用感圧センサ3は、この左座圧の大きさを測定するための感圧センサである。左座圧用感圧センサ3は、椅子6に座っている人の左臀部と左大腿の接続後部(左坐骨付近)に位置することが好ましい。このことにより、左座圧の大きさを適切に測定することができる。左臀部と左大腿の接続後部の位置には個人差があるが、座圧測定装置30では、左座圧用感圧センサ3の取り付け位置を変更できるため、左座圧の大きさを適切に測定することができる。
(【0011】以降は省略されています)
この特許をJ-PlatPat(特許庁公式サイト)で参照する
関連特許
公立大学法人大阪
硫化物
2か月前
公立大学法人大阪
複合粒子
5か月前
公立大学法人大阪
食育システム
4か月前
公立大学法人大阪
締結具及びナット
5日前
公立大学法人大阪
タケ由来ミミズ堆肥
2か月前
公立大学法人大阪
測定方法および構造体
8か月前
公立大学法人大阪
プロペラのピッチ変更装置
8か月前
公立大学法人大阪
細胞質送達剤及びその使用
1か月前
公立大学法人大阪
Trichoderma属菌
5か月前
公立大学法人大阪
カルボン酸化合物の製造方法
4か月前
公立大学法人大阪
リン化コバルト炭素複合粒子
3か月前
鹿島建設株式会社
空調システム
1か月前
公立大学法人大阪
内視鏡外科手術用ドリルのカバー
5日前
愛三工業株式会社
電力供給装置
2か月前
公立大学法人大阪
変異型アシル-ACPレダクターゼ
3か月前
公立大学法人大阪
座圧測定装置及び座位姿勢改善方法
5日前
公立大学法人大阪
核酸配列編集方法及び核酸配列製造方法
6か月前
三菱ケミカル株式会社
ガス吸着フィルム
2か月前
公立大学法人大阪
ウルトラファインバブル内酸素濃度測定方法
7か月前
日東電工株式会社
ウレア化合物の製造方法
1か月前
公立大学法人大阪
支援システム、支援方法、及び支援プログラム
4か月前
美津濃株式会社
足関節底背屈トレーニング器具
7か月前
森村金属株式会社
蠕動運動で移動するロボット
2か月前
公立大学法人大阪
プラスチック分解用固体触媒及び液状油の製造方法
7日前
公立大学法人大阪
光架橋高分子粒子および光架橋高分子粒子の生成方法
6か月前
トヨタ自動車株式会社
活物質、電極合材および電池
5か月前
NTT株式会社
光ファイバの群遅延時間測定システム
2か月前
公立大学法人大阪
過酸化水素付加体、及び、過酸化水素付加体の使用方法
6か月前
飯田グループホールディングス株式会社
蟻酸生成装置
3か月前
公立大学法人大阪
脂肪酸アルキルエステルの製造方法および製造システム
1か月前
公立大学法人大阪
画像処理装置、画像撮影装置、プログラム及び画像処理方法
2か月前
学校法人神奈川大学
化合物及びそれを含んでなる発光材料
2か月前
鹿島建設株式会社
帯水層蓄熱システム及び帯水層蓄熱方法
3か月前
甲南化工株式会社
アルコール性肝疾患予防又は改善用組成物
6か月前
甲南化工株式会社
アルコール性肝疾患予防又は改善用組成物
6か月前
国立大学法人 東京大学
皮膚微生物叢を制御するための溶菌剤
4か月前
続きを見る
他の特許を見る