TOP
|
特許
|
意匠
|
商標
特許ウォッチ
Twitter
他の特許を見る
10個以上の画像は省略されています。
公開番号
2025136371
公報種別
公開特許公報(A)
公開日
2025-09-19
出願番号
2024034894
出願日
2024-03-07
発明の名称
光ファイバの群遅延時間測定システム
出願人
NTT株式会社
,
公立大学法人大阪
代理人
弁理士法人アイル知財事務所
主分類
G01M
11/02 20060101AFI20250911BHJP(測定;試験)
要約
【課題】測定装置の時間分解能に関わらず群遅延時間及び波長分散を測定できる測定方法、測定システム、演算処理装置及びプログラムを提供することを目的とする。
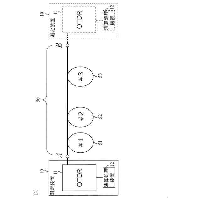
【解決手段】本発明に係る測定システムは、光パルス試験装置11と演算処理装置12とを備えており、光パルス試験装置11は、被試験光ファイバ53と、群遅延時間が既知である2本以上の参照ファイバ(51、52)とを縦続接続した光ファイバ伝送路50の両端に光パルスを入射し、それぞれの前記光パルスで発生する後方散乱光の波形を測定すること、演算処理装置12は、光ファイバ伝送路50の任意位置からの、それぞれの前記後方散乱光から構造不整損失値を計算すること、及び参照ファイバ(51、52)の既知である群遅延時間と、参照ファイバと被試験光ファイバの構造不整損失値とから被試験光ファイバ53についての群遅延時間の算出を行うことを特徴とする。
【選択図】図1
特許請求の範囲
【請求項1】
光パルス試験装置と演算処理装置とを備え、被試験光ファイバの群遅延時間を測定する測定システムであって、
前記光パルス試験装置は、
前記被試験光ファイバと、群遅延時間が既知である2本以上の参照ファイバとを縦続接続した光ファイバ伝送路の両端に光パルスを入射し、それぞれの前記光パルスで発生する後方散乱光の波形を測定すること、
前記演算処理装置は、
前記光ファイバ伝送路の任意位置からの、それぞれの前記後方散乱光の光強度を平均して構造不整損失値を計算すること、及び
前記参照ファイバの既知である群遅延時間と、一方の前記参照ファイバにおける構造不整損失値と、前記被試験光ファイバにおける構造不整損失値とから前記被試験光ファイバについての群遅延時間の算出を行うこと
を特徴とする測定システム。
続きを表示(約 1,300 文字)
【請求項2】
前記光ファイバ伝送路を構成する前記被試験光ファイバ及び前記参照ファイバは、共に、複数の空間チャネルを有する空間多重光ファイバであり、
前記光パルス試験装置からの前記光パルスを前記光ファイバ伝送路の前記空間チャネル毎に入射し、当該空間チャネルからの前記後方散乱光を前記光パルス試験装置へ入力する入出力デバイスをさらに備えており、
前記演算処理装置は、前記空間チャネル毎に前記群遅延時間の算出を行うこと
を特徴とする請求項1に記載の測定システム。
【請求項3】
前記光ファイバ伝送路を構成する、前記被試験光ファイバは複数の空間チャネルを有する空間多重光ファイバ、且つ前記参照ファイバはシングルモードファイバであり、
前記光パルス試験装置からの前記光パルスを前記被試験光ファイバの前記空間チャネル毎に入射し、当該空間チャネルからの前記後方散乱光を前記光パルス試験装置へ入力する入出力デバイスをさらに備えており、
前記演算処理装置は、前記空間チャネル毎に前記群遅延時間の算出を行うこと
を特徴とする請求項1に記載の測定システム。
【請求項4】
前記演算処理装置は、
3つの波長の前記光パルスのそれぞれで前記群遅延時間の算出を行うこと、及び
3つの波長の前記光パルスで算出した前記群遅延時間から前記被試験光ファイバについての波長分散を計算すること
を特徴とする請求項1から3のいずれかに記載の測定システム。
【請求項5】
被試験光ファイバの群遅延時間を測定する測定方法であって、
前記被試験光ファイバと、群遅延時間が既知である2本以上の参照ファイバとを縦続接続した光ファイバ伝送路の両端に光パルスを入射すること、
それぞれの前記光パルスで発生する後方散乱光の波形を測定すること、
前記光ファイバ伝送路の任意位置からの、それぞれの前記後方散乱光の光強度を平均して構造不整損失値を計算すること、及び
前記参照ファイバの既知である群遅延時間と、一方の前記参照ファイバにおける構造不整損失値と、前記被試験光ファイバにおける構造不整損失値とから前記被試験光ファイバについての群遅延時間の算出を行うこと
を特徴とする測定方法。
【請求項6】
被試験光ファイバと、群遅延時間が既知である2本以上の参照ファイバとを縦続接続した光ファイバ伝送路の両端に光パルスを入射する光パルス試験装置によって測定された、それぞれの前記光パルスで発生する後方散乱光の波形から、前記被試験光ファイバの群遅延時間を演算する演算処理装置であって、
前記光ファイバ伝送路の任意位置からの、それぞれの前記後方散乱光の光強度を平均して構造不整損失値を計算すること、及び
前記参照ファイバの既知である群遅延時間と、一方の前記参照ファイバにおける構造不整損失値と、前記被試験光ファイバにおける構造不整損失値とから前記被試験光ファイバについての群遅延時間の算出を行うこと
を特徴とする演算処理装置。
【請求項7】
請求項6に記載の演算処理装置としてコンピュータを機能させるためのプログラム。
発明の詳細な説明
【技術分野】
【0001】
本開示は、光ファイバの群遅延時間を測定する測定システムに関する。
続きを表示(約 2,100 文字)
【背景技術】
【0002】
光ファイバにおける波長分散は伝送レートに関連する重要なパラメータとなる。したがって、光ファイバ製造時に波長分散の測定が不可欠である。非特許文献1では、光パルス試験器(OTDR)を用いて光ファイバの波長分散を取得する方法が開示されている。
【先行技術文献】
【非特許文献】
【0003】
D. R. Anderson et al., “Troubleshooting optical-fiber networks, understanding and using your optical time-domain reflectometer,” second edition, Elsevier Academic Press, 2004.
【発明の概要】
【発明が解決しようとする課題】
【0004】
非特許文献1の方法は、被試験光ファイバに光パルスを入射し、当該被試験光ファイバの遠端から反射されて戻ってくる光パルスを測定する。光パルスのラウンドトリップ時間から光ファイバにおける群遅延時間を直接取得することができる。この群遅延時間を複数波長で測定し、数値処理を経て波長分散を取得する。しかし、本手法では群遅延時間を直接取得する必要があり、波長分散の測定精度が測定装置の時間分解能に制約される、という課題があった。
【0005】
そこで、本発明は、上記課題を解決するために、測定装置の時間分解能に関わらず群遅延時間及び波長分散を測定できる測定方法、測定システム、演算処理装置及びプログラムを提供することを目的とする。
【課題を解決するための手段】
【0006】
上記目的を達成するために、本発明に係る測定方法は、群遅延時間が既知の参照ファイバを用いて、当該参照ファイバの群遅延時間を基準に被試験光ファイバにおける群遅延時間を取得することとした。また、得られた群遅延時間から波長分散を取得することとした。
【0007】
具体的には、本発明に係る測定方法は、被試験光ファイバの群遅延時間を測定する測定方法であって、
前記被試験光ファイバと、群遅延時間が既知である2本以上の参照ファイバとを縦続接続した光ファイバ伝送路の両端に光パルスを入射すること、
それぞれの前記光パルスで発生する後方散乱光の波形を測定すること、
前記光ファイバ伝送路の任意位置からの、それぞれの前記後方散乱光の光強度を平均して構造不整損失値を計算すること、及び
前記参照ファイバの既知である群遅延時間と、一方の前記参照ファイバにおける構造不整損失値と、前記被試験光ファイバにおける構造不整損失値とから前記被試験光ファイバについての群遅延時間の算出を行うこと
を特徴とする。
【0008】
また、本発明に係る測定システムは、光パルス試験装置と演算処理装置とを備え、被試験光ファイバの群遅延時間を測定する測定システムであって、
前記光パルス試験装置は、
前記被試験光ファイバと、群遅延時間が既知である2本以上の参照ファイバとを縦続接続した光ファイバ伝送路の両端に光パルスを入射し、それぞれの前記光パルスで発生する後方散乱光の波形を測定すること、
前記演算処理装置は、
前記光ファイバ伝送路の任意位置からの、それぞれの前記後方散乱光の光強度を平均して構造不整損失値を計算すること、及び
前記参照ファイバの既知である群遅延時間と、一方の前記参照ファイバにおける構造不整損失値と、前記被試験光ファイバにおける構造不整損失値とから前記被試験光ファイバについての群遅延時間の算出を行うこと
を特徴とする。
【0009】
さらに、本発明に係る演算処理装置は、被試験光ファイバと、群遅延時間が既知である2本以上の参照ファイバとを縦続接続した光ファイバ伝送路の両端に光パルスを入射する光パルス試験装置によって測定された、それぞれの前記光パルスで発生する後方散乱光の波形から、前記被試験光ファイバの群遅延時間を演算する演算処理装置であって、
前記光ファイバ伝送路の任意位置からの、それぞれの前記後方散乱光の光強度を平均して構造不整損失値を計算すること、及び
前記参照ファイバの既知である群遅延時間と、一方の前記参照ファイバにおける構造不整損失値と、前記被試験光ファイバにおける構造不整損失値とから前記被試験光ファイバについての群遅延時間の算出を行うこと
を特徴とする。
【0010】
そして、本発明では、前記演算処理装置が、3つの波長の前記光パルスのそれぞれで前記群遅延時間の算出を行うこと、及び3つの波長の前記光パルスで算出した前記群遅延時間から前記被試験光ファイバについての波長分散を計算することを特徴とする。
(【0011】以降は省略されています)
この特許をJ-PlatPat(特許庁公式サイト)で参照する
関連特許
NTT株式会社
計算装置
1か月前
NTT株式会社
検知装置
9日前
NTT株式会社
計算装置
24日前
NTT株式会社
通信システム
15日前
NTT株式会社
遠隔制御システム
1日前
NTT株式会社
遠隔制御システム
1日前
NTT株式会社
刺激制御装置、および刺激制御方法
23日前
NTT株式会社
映像処理装置、方法及びプログラム
1日前
NTT株式会社
窒素固定能を有する藻類の選抜方法
25日前
NTT株式会社
無線通信システム及び無線通信方法
23日前
NTT株式会社
評価装置、評価方法およびプログラム
1か月前
NTT株式会社
情報処理装置およびボットネット分析方法
1か月前
NTT株式会社
数モードマルチコア光ファイバ及び光伝送システム
1か月前
NTT株式会社
データ処理装置、データ処理方法、およびプログラム
3日前
NTT株式会社
電荷分布推定装置、電荷分布推定方法、及びプログラム
1日前
NTT株式会社
学習装置、分類装置、学習方法、分類方法及びプログラム
1か月前
NTT株式会社
植物の開花時期制御方法および開花時期が制御された植物の作出方法
15日前
NTT株式会社
連続発話推定方法、連続発話推定装置、およびプログラム
1か月前
NTT株式会社
植物の光合成応答を調節する方法、光合成応答が迅速化した植物の作出方法、および光合成応答が迅速化した植物の栽培のためのシステム
15日前
日本精機株式会社
検出装置
24日前
個人
採尿及び採便具
1か月前
個人
アクセサリー型テスター
1か月前
個人
計量機能付き容器
19日前
個人
高精度同時多点測定装置
1か月前
日本精機株式会社
発光表示装置
2日前
株式会社カクマル
境界杭
9日前
甲神電機株式会社
電流検出装置
24日前
株式会社ミツトヨ
測定器
1か月前
株式会社トプコン
測量装置
1日前
アズビル株式会社
電磁流量計
1か月前
大成建設株式会社
風洞実験装置
19日前
大和製衡株式会社
組合せ計量装置
1か月前
愛知電機株式会社
軸部材の外観検査装置
1か月前
大和製衡株式会社
組合せ計量装置
1か月前
日本信号株式会社
距離画像センサ
22日前
双庸電子株式会社
誤配線検査装置
25日前
続きを見る
他の特許を見る