TOP
|
特許
|
意匠
|
商標
特許ウォッチ
Twitter
他の特許を見る
公開番号
2025146174
公報種別
公開特許公報(A)
公開日
2025-10-03
出願番号
2024046814
出願日
2024-03-22
発明の名称
光ファイバグレーティングデバイスおよび光ファイバグレーティングデバイスの製造方法
出願人
公立大学法人大阪
代理人
弁理士法人 HARAKENZO WORLD PATENT & TRADEMARK
主分類
G02B
6/02 20060101AFI20250926BHJP(光学)
要約
【課題】簡易的な構成により偏波依存性のない光ファイバグレーティングデバイスを実現する。
【解決手段】光ファイバグレーティングデバイス(100)は、グレーティングが形成された光ファイバ(10)であって、屈折率の偏波依存性がない位置にコア(11)が形成されている光ファイバを有する。
【選択図】図2
特許請求の範囲
【請求項1】
グレーティングが形成された光ファイバであって、屈折率の偏波依存性がない位置にコアが形成されている光ファイバを有する、光ファイバグレーティングデバイス。
続きを表示(約 1,300 文字)
【請求項2】
前記コアは、前記光ファイバの中心から外れた位置にある、請求項1に記載の光ファイバグレーティングデバイス。
【請求項3】
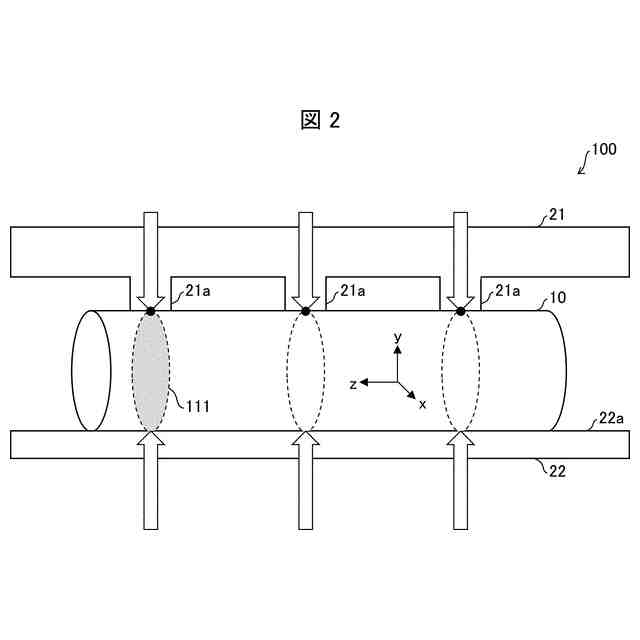
前記光ファイバの側面に周期的に圧力を印加することにより前記光ファイバにグレーティングを形成する、請求項1に記載の光ファイバグレーティングデバイス。
【請求項4】
前記圧力が加えられる押圧位置を示すマーカが前記光ファイバに印されている、請求項3に記載の光ファイバグレーティングデバイス。
【請求項5】
外部から前記光ファイバの側面に周期的に圧力を印加する押圧部材を備え、
前記押圧部材は、凸部が周期的に設けられる第1押圧部と、前記光ファイバに対して第1押圧部の反対側に設けられる表面が平坦な第2押圧部とを備え、
前記光ファイバの断面において、前記光ファイバの中心と前記圧力が加えられる押圧位置とを通る直線を第1直線とし、前記光ファイバの中心と前記コアの中心とを通る直線を第2直線としたとき、前記コアは、前記第1直線と前記第2直線とがなす角度が0°より大きく90°より小さくなる位置に設けられる、請求項3に記載の光ファイバグレーティングデバイス。
【請求項6】
光ファイバを備える光ファイバグレーティングデバイスの製造方法であって、
前記光ファイバの断面における、前記光ファイバに屈折率変化を生じさせたときに屈折率の偏波依存性がない第1領域を特定する第1特定ステップと、
前記光ファイバの断面における、前記光ファイバに屈折率変化を生じさせたときに所定の閾値以上の屈折率変調度を示す第2領域を特定する第2特定ステップと、
前記第1領域と前記第2領域とが重なる領域にコアを形成する形成ステップと、を含む、光ファイバグレーティングデバイスの製造方法。
【請求項7】
コアを有する光ファイバを備える光ファイバグレーティングデバイスの製造方法であって、
前記光ファイバを準備する準備ステップと、
前記コアが適正位置に位置するように前記光ファイバを軸回りに回転させる回転ステップと、
前記コアが適正位置に位置したときに、前記光ファイバの側面に周期的に圧力を印加して前記光ファイバにグレーティングを形成する印加ステップと、を含む、光ファイバグレーティングデバイスの製造方法。
【請求項8】
コアを有する光ファイバを備える光ファイバグレーティングデバイスの製造方法であって、
前記光ファイバを準備する準備ステップと、
前記光ファイバを軸回りに所定の角度だけ回転させる回転ステップと、
前記光ファイバの側面に周期的に圧力を印加して前記光ファイバにグレーティングを形成する印加ステップと、
屈折率変化領域における前記コアの屈折率の偏波依存性を測定する測定ステップと、を含み、
前記回転ステップと前記印加ステップと前記測定ステップとを繰り返し、前記偏波依存性がない位置に前記コアを配置する、光ファイバグレーティングデバイスの製造方法。
発明の詳細な説明
【技術分野】
【0001】
本発明は、光ファイバグレーティングデバイスおよび光ファイバグレーティングデバイスの製造方法に関する。
続きを表示(約 1,200 文字)
【背景技術】
【0002】
従来、光ファイバに周期的に屈折率変化を形成した光ファイバグレーティングでは、伝送する光の偏波方向によって屈折率に差が生じる(すなわち、複屈折が生じる)ことが知られている。特許文献1には、屈折率が互いに異なる直交軸(複屈折軸)を形成することにより、単一偏波のレーザ光を出力する偏波保持型の光ファイバグレーティングが開示されている。
【先行技術文献】
【特許文献】
【0003】
特開2010-177469号公報
【発明の概要】
【発明が解決しようとする課題】
【0004】
しかしながら、特許文献1に開示される光ファイバグレーティングでは、入射光の偏波方向に合わせて光ファイバグレーティングの向きを調整する必要がある。また、屈折率が互いに異なる直交軸を実現するために、応力付与部を光ファイバの内部に形成する必要があり、製造工程が複雑である。
【0005】
本発明の一態様は、簡易的な構成により偏波依存性のない光ファイバグレーティングデバイスを実現することを目的とする。
【課題を解決するための手段】
【0006】
上記の課題を解決するために、本発明の態様1に係る光ファイバグレーティングデバイスは、グレーティングが形成された光ファイバであって、屈折率の偏波依存性がない位置にコアが形成されている光ファイバを有する。
【0007】
本発明の態様2に係る光ファイバグレーティングデバイスでは、上記態様1において、前記コアは、前記光ファイバの中心から外れた位置にあってもよい。
【0008】
本発明の態様3に係る光ファイバグレーティングデバイスでは、上記態様1または2において、前記光ファイバの側面に周期的に圧力を印加することにより前記光ファイバにグレーティングを形成してもよい。
【0009】
本発明の態様4に係る光ファイバグレーティングデバイスでは、上記態様3において、前記圧力が加えられる押圧位置を示すマーカが前記光ファイバに印されていてもよい。
【0010】
本発明の態様5に係る光ファイバグレーティングデバイスは、上記態様3または4において、外部から前記光ファイバの側面に周期的に圧力を印加する押圧部材を備え、前記押圧部材は、凸部が周期的に設けられる第1押圧部と、前記光ファイバに対して第1押圧部の反対側に設けられる表面が平坦な第2押圧部とを備え、前記光ファイバの断面において、前記光ファイバの中心と前記圧力が加えられる押圧位置とを通る直線を第1直線とし、前記光ファイバの中心と前記コアの中心とを通る直線を第2直線としたとき、前記コアは、前記第1直線と前記第2直線とがなす角度が0°より大きく90°より小さくなる位置に設けられてもよい。
(【0011】以降は省略されています)
この特許をJ-PlatPat(特許庁公式サイト)で参照する
関連特許
公立大学法人大阪
硫化物
3か月前
公立大学法人大阪
複合粒子
6か月前
公立大学法人大阪
食育システム
5か月前
公立大学法人大阪
締結具及びナット
26日前
公立大学法人大阪
タケ由来ミミズ堆肥
3か月前
公立大学法人大阪
測定方法および構造体
8か月前
公立大学法人大阪
プロペラのピッチ変更装置
8か月前
公立大学法人大阪
細胞質送達剤及びその使用
2か月前
公立大学法人大阪
カルボン酸化合物の製造方法
5か月前
公立大学法人大阪
Trichoderma属菌
6か月前
公立大学法人大阪
リン化コバルト炭素複合粒子
4か月前
愛三工業株式会社
電力供給装置
2か月前
公立大学法人大阪
内視鏡外科手術用ドリルのカバー
26日前
鹿島建設株式会社
空調システム
2か月前
公立大学法人大阪
変異型アシル-ACPレダクターゼ
4か月前
公立大学法人大阪
座圧測定装置及び座位姿勢改善方法
26日前
公立大学法人大阪
核酸配列編集方法及び核酸配列製造方法
6か月前
三菱ケミカル株式会社
ガス吸着フィルム
3か月前
日東電工株式会社
ウレア化合物の製造方法
2か月前
公立大学法人大阪
ウルトラファインバブル内酸素濃度測定方法
8か月前
公立大学法人大阪
支援システム、支援方法、及び支援プログラム
5か月前
美津濃株式会社
足関節底背屈トレーニング器具
7か月前
森村金属株式会社
蠕動運動で移動するロボット
3か月前
公立大学法人大阪
プラスチック分解用固体触媒及び液状油の製造方法
28日前
トヨタ自動車株式会社
活物質、電極合材および電池
6か月前
公立大学法人大阪
光架橋高分子粒子および光架橋高分子粒子の生成方法
7か月前
公立大学法人大阪
過酸化水素付加体、及び、過酸化水素付加体の使用方法
7か月前
飯田グループホールディングス株式会社
蟻酸生成装置
3か月前
公立大学法人大阪
脂肪酸アルキルエステルの製造方法および製造システム
2か月前
NTT株式会社
光ファイバの群遅延時間測定システム
2か月前
鹿島建設株式会社
帯水層蓄熱システム及び帯水層蓄熱方法
4か月前
学校法人神奈川大学
化合物及びそれを含んでなる発光材料
3か月前
公立大学法人大阪
画像処理装置、画像撮影装置、プログラム及び画像処理方法
2か月前
甲南化工株式会社
アルコール性肝疾患予防又は改善用組成物
6か月前
甲南化工株式会社
アルコール性肝疾患予防又は改善用組成物
6か月前
国立大学法人 東京大学
皮膚微生物叢を制御するための溶菌剤
5か月前
続きを見る
他の特許を見る