TOP
|
特許
|
意匠
|
商標
特許ウォッチ
Twitter
他の特許を見る
10個以上の画像は省略されています。
公開番号
2025168665
公報種別
公開特許公報(A)
公開日
2025-11-11
出願番号
2025073492
出願日
2025-04-25
発明の名称
正にバイアスされた基材を有する基材処理システムおよびその方法
出願人
エーエスエム・アイピー・ホールディング・ベー・フェー
代理人
個人
,
個人
,
個人
主分類
H01L
21/31 20060101AFI20251104BHJP(基本的電気素子)
要約
【課題】正にバイアスされたDC電圧を基材に印加して、基材処理中のイオン損傷を低減する方法、および方法を使用する基材処理システムを提供する。
【解決手段】イオン衝撃によるイオン損傷を低減するために、基材処理システムは、サセプタおよび基材プロセス空間を備える反応チャンバであって、サセプタがヒーターを備える、反応チャンバと、直流(DC)バイアスユニットであって、三角形パルスDC電圧信号を生成するように構成されたDC供給部と、DC供給部とサセプタとの間に配置されるスイッチであって、DC供給部からサセプタへの線を開放または閉鎖するように構成された、スイッチと、を備える、直流(DC)バイアスユニットと、を備えてもよく、三角形パルスDC電圧信号は、第1の頂部および第1の周波数を有する。
【選択図】図1
特許請求の範囲
【請求項1】
プラズマを使用する基材処理システムであって、
サセプタおよび基材プロセス空間を備える反応チャンバであって、前記サセプタはヒーターを備える、反応チャンバと、
直流バイアスユニットであって、
三角形パルス直流電圧信号を生成するように構成されている直流供給部と、
前記直流供給部と前記サセプタとの間に配置されているスイッチであって、前記直流供給部から前記サセプタへの線を開放または閉鎖するように構成されているスイッチと、を備える直流バイアスユニットと、を備え、
前記三角形パルス直流電圧信号は、第1の頂部および第1の周波数を有する、基材処理システム。
続きを表示(約 1,600 文字)
【請求項2】
前記スイッチと前記サセプタとの間に配置されている測定ユニットであって、前記測定ユニットは、前記線の電圧および電流を測定するように構成されており、前記サセプタ内の前記ヒーターの静電容量を測定するようにさらに構成されている、測定ユニットと、
前記測定ユニットと前記直流供給部との間に配置されており、前記スイッチに接続されているコントローラであって、前記コントローラは、前記電圧と、前記電流と、前記静電容量とを監視するように構成されており、前記直流供給部を制御して前記三角形パルス直流電圧信号の第1の頂部および/または第1の周波数を第2の頂部および/または第2の周波数に変化させるようにさらに構成されている、コントローラと、をさらに備える請求項1に記載のシステム。
【請求項3】
前記コントローラは、下記数式1により基材上のバイアスされた正電圧を計算するようにさらに構成されており、
JPEG
2025168665000005.jpg
13
170
数式1中、
V(基材)は、前記基材上に誘導されるバイアスされた正電圧であり、
V(バイアス)は、前記直流供給部から生成される電圧であり、
I(プラズマ)は、プラズマから前記ヒーターに流れる電流であり、
C(ヒーター)は、前記ヒーターの静電容量であり、
V0は、前記基材の初期電圧である、請求項2に記載のシステム。
【請求項4】
前記コントローラは、前記三角形パルス直流電圧信号の次のサイクルが開始するまで、前記三角形パルス直流電圧信号の頂部で前記三角形パルス直流電圧信号をオフに切り替えるようにさらに構成されている、請求項2に記載のシステム。
【請求項5】
前記コントローラは、V(基材)が第1の閾値電圧を上回るかまたは第2の閾値電圧を下回るかどうかを監視するようにさらに構成されている、請求項3に記載のシステム。
【請求項6】
前記コントローラは、V(基材)が前記第2の閾値電圧を下回るとき、前記三角形パルス直流電圧信号の振幅を増大させ、V(基材)が前記第1の閾値電圧を上回るとき、前記三角形パルス直流電圧信号の前記振幅を減少させるように、前記直流供給部を制御するようにさらに構成されている、請求項5に記載のシステム。
【請求項7】
前記基材上の前記バイアスされた正電圧は、前記基材がイオン衝撃から損傷されないように、前記プラズマからのイオンを反射するために十分に強い、請求項3に記載のシステム。
【請求項8】
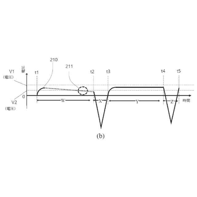
正にバイアスされた直流電圧を基材に印加して、基材処理中のイオン損傷を低減する方法であって、
三角形パルス直流電圧信号を生成するステップと、
生成された三角形パルス直流電圧信号を基材支持体に印加して、前記基材の表面上の正の直流バイアスを維持するステップと、
前記三角形パルス直流電圧信号が各サイクルで前記三角形パルス直流電圧信号の頂部に達すると、定期的に前記三角形パルス直流電圧信号をオフに切り替えるステップと、を含み、
生成された三角形パルス直流電圧信号は、第1の頂部および第1の周波数を有する、方法。
【請求項9】
複数のパラメータを測定および計算するステップをさらに含む請求項8に記載の方法。
【請求項10】
前記複数のパラメータは、前記基材上に誘導されるバイアスされた正電圧(V(基材))と、直流供給部から生成される電圧(V(バイアス))と、プラズマからヒーターへ流れる電流(I(プラズマ))と、前記ヒーターの静電容量値(C(ヒーター))と、前記基材の初期電圧(V0)と、を含む、請求項9に記載の方法。
(【請求項11】以降は省略されています)
発明の詳細な説明
【技術分野】
【0001】
本開示は、基材処理システムに関し、より具体的には、基材サセプタおよび基材がDC(Direct Current、直流)電圧信号で正にバイアスされる基材処理システムに関する。正にバイアスされた基材(および、サセプタ)は、高エネルギーイオン衝撃を反射および/または偏向させ、基材の表面上に与えられ得る任意のイオン損傷を防止し得る。
続きを表示(約 1,500 文字)
【背景技術】
【0002】
一部のCCP(Capacitively Coupled Plasma、容量結合型プラズマ)半導体処理用途では、基材は高エネルギーイオンによって損傷する可能性があり、ICP(Inductively Coupled Plasma、誘導結合型プラズマ)を使用するシステムでは同じ問題が発生する可能性がある。
【0003】
イオンフィルタは、イオン損傷を低減するために使用されてもよい。しかし、イオンフィルタは、イオンだけでなく、基材の処理に必要なラジカルも減少させ得る。
【0004】
パルス化された正のDCバイアスを使用してイオンエネルギーを低減してもよいが、通常のパルス化されたDCバイアスは極性スイッチングを必要とする場合がある。この極性スイッチング中、負電圧は、より高いエネルギーをイオンに有させ得、基材上のイオン損傷を増加させ得る。
【0005】
したがって、上述の欠点を克服するために、本開示は、イオンによる損傷を低減するための、基材に正にバイアスされたDC電圧を印加する方法および同じ能力を有する基材処理システムを提示する。
【発明の概要】
【0006】
この概要は、選択された概念を、単純化した形態で紹介するために提供される。これらの概念は、下記の本開示の例示の実施形態の詳細な説明において、さらに詳細に記載される。この概要は、特許請求される主題の主要な特徴または本質的な特徴を特定することを意図するものではなく、特許請求される主題の範囲を限定するために使用されることも意図するものではない。
【0007】
一実施形態によれば、プラズマを使用する基材処理システムであって、ヒーターを有するサセプタおよび基材プロセス空間を備える反応チャンバと、直流(DC)バイアスユニットであって、三角形パルスDC電圧信号を生成するように構成されているDC供給部と、DC供給部とサセプタとの間に配置されているスイッチであって、DC供給部からサセプタへの線を開放または閉鎖するように構成されている、スイッチと、を備える、直流(DC)バイアスユニットと、を備え、三角形パルスDC電圧信号は、第1の頂部および第1の周波数を有する、基材処理システムが、提供されてもよい。
【0008】
少なくとも一つの態様では、システムは、スイッチとサセプタとの間に配置されている測定ユニットであって、線の電圧および電流を測定するように構成されており、サセプタ内のヒーターの静電容量を測定するようにさらに構成されている、測定ユニットと、測定ユニットとDC供給部との間に配置されており、スイッチに接続されているコントローラであって、コントローラは、測定された電圧と、電流と、静電容量とを監視するように構成されており、DC供給部を制御してDC電圧信号の第1の頂部および/または第1の周波数を第2の頂部および/または第2の周波数に変化させるようにさらに構成されている、コントローラと、をさらに備える。
【0009】
少なくとも一つの態様では、コントローラは、下記数式1により基材上のバイアスされた正電圧を計算するようにさらに構成されている。
【0010】
JPEG
2025168665000002.jpg
13
170
(V(基材):基材上に誘導されるバイアスされた正電圧、V(バイアス):DC供給部から生成される電圧、I(プラズマ):プラズマからヒーターに流れる電流、C(ヒーター):ヒーターの静電容量、V0:基材の初期電圧)。
(【0011】以降は省略されています)
この特許をJ-PlatPat(特許庁公式サイト)で参照する
関連特許
東ソー株式会社
絶縁電線
20日前
APB株式会社
蓄電セル
18日前
株式会社東芝
端子台
12日前
ローム株式会社
半導体装置
19日前
マクセル株式会社
電源装置
12日前
株式会社GSユアサ
蓄電装置
13日前
株式会社GSユアサ
蓄電装置
5日前
株式会社ホロン
冷陰極電子源
26日前
株式会社GSユアサ
蓄電装置
13日前
日新イオン機器株式会社
基板処理装置
15日前
トヨタ自動車株式会社
バッテリ
18日前
日本特殊陶業株式会社
保持装置
21日前
トヨタ自動車株式会社
蓄電装置
13日前
日本特殊陶業株式会社
保持装置
4日前
北道電設株式会社
配電具カバー
18日前
トヨタ自動車株式会社
冷却構造
20日前
住友電装株式会社
コネクタ
20日前
トヨタ自動車株式会社
密閉型電池
14日前
甲神電機株式会社
変流器及び零相変流器
6日前
株式会社トクヤマ
シリコンエッチング液
26日前
トヨタ自動車株式会社
電池パック
25日前
トヨタ自動車株式会社
電池パック
25日前
日本無線株式会社
レーダアンテナ
6日前
株式会社トクヤマ
シリコンエッチング液
26日前
日亜化学工業株式会社
半導体レーザ素子
15日前
ローム株式会社
半導体装置
20日前
株式会社デンソー
電子装置
15日前
マクセル株式会社
扁平形電池
19日前
株式会社デンソー
熱交換部材
6日前
株式会社半導体エネルギー研究所
二次電池
25日前
株式会社村田製作所
二次電池
26日前
株式会社東芝
高周波回路
21日前
富士電機株式会社
半導体モジュール
7日前
三協立山株式会社
バッテリーケース
19日前
日本航空電子工業株式会社
コネクタ
4日前
株式会社村田製作所
コイル部品
20日前
続きを見る
他の特許を見る