TOP
|
特許
|
意匠
|
商標
特許ウォッチ
Twitter
他の特許を見る
10個以上の画像は省略されています。
公開番号
2025168659
公報種別
公開特許公報(A)
公開日
2025-11-11
出願番号
2025072105
出願日
2025-04-24
発明の名称
電力伝送構成要素および電気接続アセンブリ
出願人
タイコ エレクトロニクス (シャンハイ) カンパニー リミテッド
,
タイコ・エレクトロニクス・テクノロジー・(エスアイピー)・カンパニー・リミテッド
,
Tyco Electronics Technology (SIP) Co., Ltd.
代理人
弁理士法人大場国際特許事務所
主分類
H01R
4/58 20060101AFI20251104BHJP(基本的電気素子)
要約
【課題】電気接続操作が簡略になるのみならず、体積およびコストも低減した電力伝送構成要素および電気接続アセンブリを提供する。
【解決手段】電力伝送構成要素は、第1の導電性構成要素(21)との電気的接続のための第1の接続端部(110)を有する第1の金属バー(11)と、第2の導電性構成要素(22)との電気的接続のための第2の接続端部(120)を有する第2の金属バー(12)と、第1の金属バーおよび第2の金属バーを包囲する絶縁体とを備える。第1の金属バーは、絶縁体により第2の金属バーから電気的に隔離され、第1の接続端部および第2の接続端部は、絶縁体に包囲され、絶縁体から突出しない。本発明において、電力伝送構成要素は、複数の導電性構成要素に別個に電気的に接続することが可能な複数の金属バーを同時に有する。
【選択図】図27
特許請求の範囲
【請求項1】
第1の導電性構成要素(21)との電気的接続のための第1の接続端部(110)を有する第1の金属バー(11)と、
第2の導電性構成要素(22)との電気的接続のための第2の接続端部(120)を有する第2の金属バー(12)と、
前記第1の金属バー(11)および前記第2の金属バー(12)を包囲する絶縁体(13)と
を備え、
前記第1の金属バー(11)は、前記絶縁体(13)により前記第2の金属バー(12)から電気的に隔離され、前記第1の接続端部(110)および前記第2の接続端部(120)は、前記絶縁体(13)に包囲され、前記絶縁体(13)から突出しない、
電力伝送構成要素。
続きを表示(約 1,800 文字)
【請求項2】
第1の開口部(131a)が、前記絶縁体(13)の端部の上面および/または底面に形成され、前記第1の接続端部(110)の一部分が、前記第1の開口部(131a)を通して露出して前記第1の導電性構成要素(21)に電気的に接続され、
第2の開口部(132a)が、前記絶縁体(13)の前記端部の前記上面および/または前記底面に形成され、前記第2の接続端部(120)の一部分が、前記第2の開口部(132a)を通して露出して前記第2の導電性構成要素(22)に電気的に接続される、
請求項1に記載の電力伝送構成要素。
【請求項3】
前記第1の金属バー(11)の前記第1の接続端部(110)は、前記第1の開口部(131a)においてのみ前記絶縁体(13)から露出し、および/または、
前記第2の金属バー(12)の前記第2の接続端部(120)は、前記第2の開口部(132a)においてのみ前記絶縁体(13)から露出する、
請求項2に記載の電力伝送構成要素。
【請求項4】
前記第1の金属バー(11)の前記第1の接続端部(110)は、前記電力伝送構成要素(1)の長さ方向に垂直な第1の端面(110a)を有し、前記第1の端面(110a)は、前記絶縁体(13)に包囲され、前記絶縁体(13)から露出せず、および/または、
前記第2の金属バー(12)の前記第2の接続端部(120)は、前記電力伝送構成要素(1)の前記長さ方向に垂直な第2の端面(120a)を有し、前記第2の端面(120a)は、前記絶縁体(13)に包囲され、前記絶縁体(13)から露出しない、
請求項2に記載の電力伝送構成要素。
【請求項5】
前記第1の接続端部(110)の前記第1の端面(110a)および前記第2の接続端部(120)の前記第2の端面(120a)は、互いに面一であり、したがって、前記第1の接続端部(110)の前記第1の端面(110a)および前記第2の接続端部(120)の前記第2の端面(120a)は、前記電力伝送構成要素(1)の前記長さ方向に垂直な同じ平面に配置される、
請求項4に記載の電力伝送構成要素。
【請求項6】
前記第1の金属バー(11)の前記第1の接続端部(110)は、前記電力伝送構成要素(1)の長さ方向に垂直な第1の端面(110a)を有し、前記第1の端面(110a)は、前記絶縁体(13)に包囲されず、前記絶縁体(13)から露出し、および/または、
前記第2の金属バー(12)の前記第2の接続端部(120)は、前記電力伝送構成要素(1)の前記長さ方向に垂直な第2の端面(120a)を有し、前記第2の端面(120a)は、前記絶縁体(13)に包囲されず、前記絶縁体(13)から露出する、
請求項2に記載の電力伝送構成要素。
【請求項7】
前記第1の接続端部(110)の前記第1の端面(110a)と前記第2の接続端部(120)の前記第2の端面(120a)との間の沿面距離を増大させるために、前記第1の接続端部(110)の前記第1の端面(110a)および前記第2の接続端部(120)の前記第2の端面(120a)は、前記電力伝送構成要素(1)の前記長さ方向において所定の距離だけ離隔する、
請求項6に記載の電力伝送構成要素。
【請求項8】
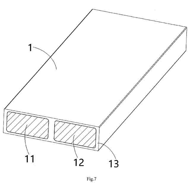
前記電力伝送構成要素(1)は、平坦であり、前記第1の金属バー(11)および前記第2の金属バー(12)は、平坦なアルミニウムバスバーまたは平坦な銅バスバーである、
請求項1に記載の電力伝送構成要素。
【請求項9】
前記第1の金属バー(11)は、前記電力伝送構成要素(1)の厚さ方向において前記第2の金属バー(12)の上方に積層される、
請求項1から8のいずれか一項に記載の電力伝送構成要素。
【請求項10】
前記第1の金属バー(11)の前記第1の接続端部(110)の幅は、前記第1の金属バー(11)の幅の半分以下であり、前記電力伝送構成要素(1)の幅方向の一方側に偏っており、
前記第2の金属バー(12)の前記第2の接続端部(120)の幅は、前記第2の金属バー(12)の幅の半分以下であり、前記電力伝送構成要素(1)の前記幅方向の他方側に偏っている、
請求項9に記載の電力伝送構成要素。
(【請求項11】以降は省略されています)
発明の詳細な説明
【技術分野】
【0001】
関連出願の相互参照
本出願は、中国国家知識産権局において2024年4月29日に出願された中国特許出願第CN202410535813.4号の利益を主張し、その全開示が本明細書に参照により組み込まれる。
続きを表示(約 1,500 文字)
【0002】
本発明は、電力伝送構成要素、電力伝送構成要素を備える電気接続アセンブリ、および電気接続アセンブリを備える電気接続製品に関する。
【背景技術】
【0003】
先行技術においては、新エネルギー電気自動車のバッテリパックと電源との間で電流を伝送するために、大断面の従来のワイヤが通例用いられる。バッテリパックを充電するときの最大1000Aの高電流に起因して、従来のワイヤの温度上昇は大きく、そのため、要件を満たすことが難しく、さらには火災が生じる場合もある。加えて、従来のワイヤは、銅コアを使用し、大断面の銅コアのコストは非常に高い。
【0004】
先行技術においては、ワイヤの温度上昇およびコストを低減するために、従来の銅コアワイヤに代えて、アルミニウムバスバーワイヤが通例用いられる。しかしながら、先行技術におけるアルミニウムバスバーワイヤは、単一のアルミニウムバスバーしか含まない。複数の異なる導電性構成要素を別個に電気的に接続する必要がある場合、複数のアルミニウムバスバーワイヤを設ける必要があり、それにより、電気的接続が不便になり、結果として電気接続製品の体積が大きくなりコストが高くなる場合がある。
【発明の概要】
【発明が解決しようとする課題】
【0005】
本発明は、上記の難点のうちの少なくとも1つの側面を克服または軽減するためになされたものである。
【課題を解決するための手段】
【0006】
本発明の一態様によれば、電力伝送構成要素が提供される。電力伝送構成要素は、第1の導電性構成要素との電気的接続のための第1の接続端部を有する第1の金属バーと、第2の導電性構成要素との電気的接続のための第2の接続端部を有する第2の金属バーと、第1の金属バーおよび第2の金属バーを包囲する絶縁体とを備える。第1の金属バーは、絶縁体により第2の金属バーから電気的に隔離され、第1の接続端部および第2の接続端部は、絶縁体に包囲され、絶縁体から突出しない。
【0007】
本発明の例示的実施形態によれば、第1の開口部が、絶縁体の端部の上面および/または底面に形成され、第1の接続端部の一部分が、第1の開口部を通して露出して第1の導電性構成要素に電気的に接続され、第2の開口部が、絶縁体の端部の上面および/または底面に形成され、第2の接続端部の一部分が、第2の開口部を通して露出して第2の導電性構成要素に電気的に接続される。
【0008】
本発明の別の例示的実施形態によれば、第1の金属バーの第1の接続端部は、第1の開口部においてのみ絶縁体から露出し、および/または、第2の金属バーの第2の接続端部は、第2の開口部においてのみ絶縁体から露出する。
【0009】
本発明の別の例示的実施形態によれば、第1の金属バーの第1の接続端部は、電力伝送構成要素の長さ方向に垂直な第1の端面を有し、第1の端面は、絶縁体に包囲され、絶縁体から露出せず、および/または、第2の金属バーの第2の接続端部は、電力伝送構成要素の長さ方向に垂直な第2の端面を有し、第2の端面は、絶縁体に包囲され、絶縁体から露出しない。
【0010】
本発明の別の例示的実施形態によれば、第1の接続端部の第1の端面および第2の接続端部の第2の端面は、互いに面一であり、したがって、第1の接続端部の第1の端面および第2の接続端部の第2の端面は、電力伝送構成要素の長さ方向に垂直な同じ平面に配置される。
(【0011】以降は省略されています)
特許ウォッチbot のツイートを見る
この特許をJ-PlatPat(特許庁公式サイト)で参照する
関連特許
東ソー株式会社
絶縁電線
20日前
APB株式会社
蓄電セル
18日前
個人
フレキシブル電気化学素子
1か月前
ローム株式会社
半導体装置
1か月前
ローム株式会社
半導体装置
1か月前
株式会社ユーシン
操作装置
1か月前
マクセル株式会社
電源装置
12日前
日新イオン機器株式会社
イオン源
28日前
株式会社東芝
端子台
12日前
ローム株式会社
半導体装置
19日前
株式会社GSユアサ
蓄電装置
5日前
株式会社ホロン
冷陰極電子源
26日前
株式会社GSユアサ
蓄電設備
1か月前
オムロン株式会社
電磁継電器
1か月前
株式会社GSユアサ
蓄電装置
13日前
株式会社GSユアサ
蓄電装置
13日前
株式会社GSユアサ
蓄電設備
1か月前
太陽誘電株式会社
コイル部品
1か月前
太陽誘電株式会社
全固体電池
1か月前
トヨタ自動車株式会社
冷却構造
20日前
日本特殊陶業株式会社
保持装置
21日前
日本特殊陶業株式会社
保持装置
4日前
トヨタ自動車株式会社
蓄電装置
1か月前
TDK株式会社
電子部品
1か月前
ノリタケ株式会社
熱伝導シート
1か月前
トヨタ自動車株式会社
バッテリ
1か月前
北道電設株式会社
配電具カバー
18日前
日新イオン機器株式会社
基板処理装置
15日前
日東電工株式会社
積層体
1か月前
サクサ株式会社
電池の固定構造
1か月前
トヨタ自動車株式会社
蓄電装置
13日前
トヨタ自動車株式会社
バッテリ
18日前
SMK株式会社
キートップ及びスイッチ
1か月前
日本特殊陶業株式会社
電極
1か月前
日本製紙株式会社
導電性フィルム
1か月前
トヨタ自動車株式会社
電池パック
25日前
続きを見る
他の特許を見る