TOP
|
特許
|
意匠
|
商標
特許ウォッチ
Twitter
他の特許を見る
10個以上の画像は省略されています。
公開番号
2025168509
公報種別
公開特許公報(A)
公開日
2025-11-07
出願番号
2025146591,2023009091
出願日
2025-09-04,2023-01-25
発明の名称
農作業機
出願人
株式会社ササキコーポレーション
代理人
主分類
A01B
35/04 20060101AFI20251030BHJP(農業;林業;畜産;狩猟;捕獲;漁業)
要約
【課題】整地体の調整に係る制御機構を、美観を損なうことなく且つ目視確認の妨げにならないように適切に配置させた農作業機を提供する。
【解決手段】農作業機は、作業者が搭乗する走行機体から動力を獲得する変速部を有した機枠と、変速部から伝動された動力で耕耘する耕耘部と、耕耘部の後方側で姿勢変更可能な整地体と、整地体の姿勢を変更する動作をさせるとともに作業者から視認できない位置に設けたアクチュエータと、を備える。さらに、アクチュエータはシリンダおよびシリンダに対して進退自在なロッドを備え、アクチュエータが動作中のロッドは作業者からの視界を妨げない。さらに、アクチュエータは変速部の後方に位置する。さらに、アクチュエータはカバー体の後端から後方側に突出しない。さらに、機枠はトップマストを有した装着部、を備え、アクチュエータはトップマストより上方に突出しない。
【選択図】 図5A
特許請求の範囲
【請求項1】
作業者が搭乗する走行機体から動力を獲得する変速部を有した機枠と、
前記変速部から伝動された動力で耕耘する耕耘部と、
前記耕耘部の後方側で姿勢変更可能な整地体と、
前記整地体の姿勢を変更する動作をさせるとともに前記作業者から視認できない位置に設けたアクチュエータと、
を備えたことを特徴とする農作業機。
続きを表示(約 420 文字)
【請求項2】
前記アクチュエータはシリンダおよび前記シリンダに対して進退自在なロッドを備え、
前記アクチュエータが動作中の前記ロッドは前記作業者からの視界を妨げない、
ことを特徴とする請求項1に記載の農作業機。
【請求項3】
前記アクチュエータは前記変速部の後方に位置する、
ことを特徴とする請求項2に記載の農作業機。
【請求項4】
前記アクチュエータは前記カバー体の後端から後方側に突出しない、
ことを特徴とする請求項2に記載の農作業機。
【請求項5】
前記機枠はトップマストを有した装着部、を備え、
前記アクチュエータは前記トップマストより上方に突出しない、
ことを特徴とする請求項2に記載の農作業機。
【請求項6】
前記アクチュエータは前記トップマストの後方に位置する、
ことを特徴とする請求項5に記載の農作業機。
発明の詳細な説明
【技術分野】
【0001】
本願発明は農作業機に関し、とくに圃場の泥土や土塊等を砕土、均平化する農作業機に関する。
続きを表示(約 3,100 文字)
【背景技術】
【0002】
走行機体に装着し、土壌を耕耘、砕土するとともに均平に整地する作業機として、例えば、特許文献1および2の農作業機が知られている。これら文献によれば、整地板または整地板の位置を規制および規制解除が可能にする駆動装置を有している。駆動装置はシリンダやモータなどのアクチュエータを含んだ機構であり、これらは変速部の上部にあるトップマストの上方または側方に配置させている。
【先行技術文献】
【特許文献】
【0003】
特開2008-136427号公報
特開2014-75987号公報
【発明の概要】
【発明が解決しようとする課題】
【0004】
特許文献1および2の農作業機を用いて作業をする場合、走行機体に搭乗した作業者は、着座位置から農作業機での作業結果を確認するため、農作業機越しに圃場面を直接目視で確認することがある。または、走行機体に搭乗した作業者が、農作業機での最終工程をおこなう作業部である農作業機後部に位置した整地板および整地部を、正常に動作しているか確認するべく目視で確認することがある。しかしながら、特許文献1および2の農作業機は、トップマストおよび変速部付近に駆動装置が配置されているので、駆動装置越しに作業後の圃場や整地板等を目視できない。駆動装置自体が目視確認の妨げになっているともいえる。また、駆動装置を目視確認の妨げにならない場所に配置するにしても、安易に配置すると、農作業機を構成する各構成部材間のまとまりがなくなり、美観を損なうことも考えられる。さらに、ギヤボックスと耕耘部を覆うカバーの間に駆動装置を配置することも考えられるが、配置空間を確保することできない場合に、効率よく配置することができない問題もある。
【0005】
したがって、本発明は上記課題に着眼してなされたものであり、整地体の調整に係る制御機構を、美観を損なうことなく且つ目視確認の妨げにならないように適切に配置させた農作業機を提供することを目的とする。
【課題を解決するための手段】
【0006】
上記課題を解決するために、本発明の一態様は、作業者が搭乗する走行機体から動力を獲得する変速部を有した機枠と、変速部から伝動された動力で耕耘する耕耘部と、耕耘部の後方側で姿勢変更可能な整地体と、整地体の姿勢を変更する動作をさせるとともに作業者から視認できない位置に設けたアクチュエータと、を備えた農作業機であることを要旨とする。
【発明の効果】
【0007】
本発明の構成によって、整地体の調整に係る制御機構を、美観を損なうことなく且つ目視確認の妨げにならないように適切に配置させた農作業機を提供することができる。
【図面の簡単な説明】
【0008】
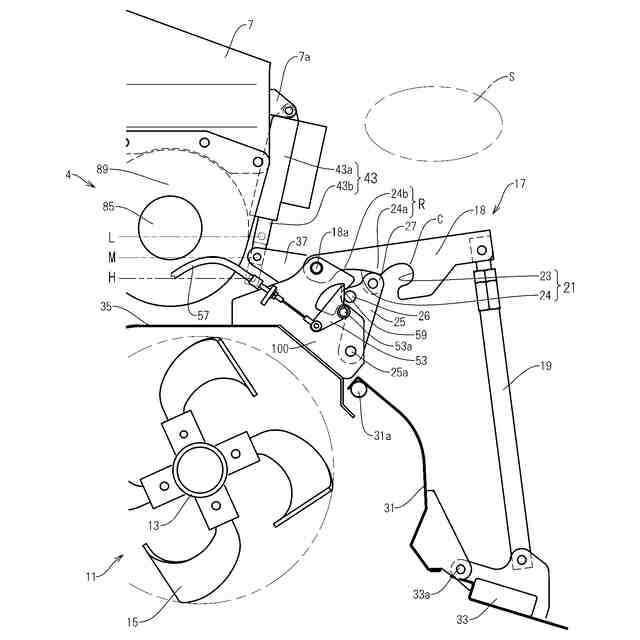
本願発明による農作業機の一実施の形態を示す正面図である。
図1の右側面図である。
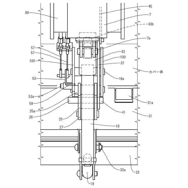
図1のA部の拡大平面図である。
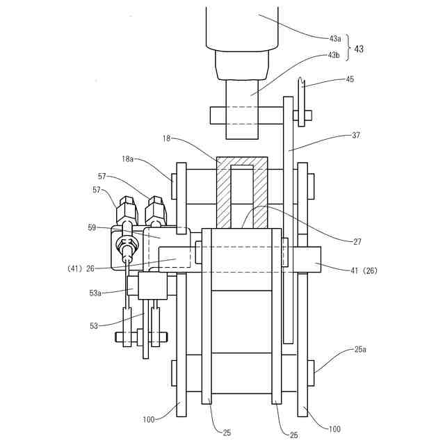
図3Aの要部正面図である。
リンク支持部材の正面図である。
図1のB部の一部断面拡大平面図である。
図1のA部の拡大側面図であり、揺動アームが規制範囲に位置しているときの調圧ロッドの状態を示す。
図1のA部の拡大側面図であり、揺動アームが姿勢維持区間の第1姿勢維持点に位置しているときの調圧ロッドの状態を示す。
図1のA部の拡大側面図であり、揺動アームが姿勢維持区間の第1姿勢維持点に位置し、かつ整地体の代掻き作業時様子を示す。
図1のA部の拡大側面図であり、揺動アームが姿勢維持区間の第2姿勢維持点に位置しているときの調圧ロッドの状態を示す。
図1のA部の拡大側面図であり、揺動アームが姿勢維持区間の第2姿勢維持点に位置し、かつ整地体の代掻き作業時様子を示す。
図1のB部の拡大断面側面図であり、揺動アームが規制範囲に位置しているときの調圧ロッドの状態を示す。
図1のB部の拡大断面図であり、揺動アームが姿勢維持区間の第1姿勢維持点に位置しているときの調圧ロッドの状態を示す。
図1のB部の拡大断面側面図であり、揺動アームが姿勢維持区間の第1姿勢維持点に位置し、かつ整地体の代掻き作業時の様子を示す。
図1のB部の拡大断面図であり、揺動アームが姿勢維持区間の第2姿勢維持点に位置しているときの調圧ロッドの状態を示す。
図1のB部の一部断面拡大平面図であり、揺動アームが姿勢維持区間の第2姿勢維持点に位置しているときの調圧ロッドの状態を示し、かつ整地体の代掻き作業時の様子を示す。
図1のC部の拡大側面図であり、揺動アームが規制範囲に位置しているときのカムリンクの状態を示す。
図1のC部の拡大側面図であり、揺動アームが姿勢維持区間の第1姿勢維持点に位置しているときカムリンクの状態を示す。
図1のC部の拡大側面図であり、揺動アームが姿勢維持区間の第2姿勢維持点に位置しているときのカムリンクの状態を示す。
リンク支持部材と第1リンク、揺動アーム、操作アーム、連携部材の連動関係を示す図である。
第1リンク、揺動アーム、操作アーム、連携部材の連動関係を示す図である。
図1の農作業機を折り畳んだ状態の正面図である。
図10の側面図である。
図1の第1リンクの変形例を示す拡大側面図である。
【発明を実施するための最良の形態】
【0009】
次に、実施の形態を示す本願発明による農作業機をさらに詳しく説明する。なお、便宜上同一の機能を奏する部分には同一の符号を付してその説明を省略することがある。図1等に示す正面図において、図示する左側を進行方向左側、図示する右側を進行方向右側として表現する。また、図2等に示す右側面図において、図示する左側を進行方向に対する前方側、図示する右側を進行方向に対する後方側として表現する。図1等に示す正面図および図2等に示す側面図において、図示する上側を機体に対する上側、図示する下側を機体に対する下側として表現する。
【0010】
本願発明による農作業機1は、図1~図11に示すように、中央作業体2、側部作業体3、姿勢制御部17、調圧部51を備え、トラクタ等の走行機体の後方に装着して前進することによって作業をする。各作業体2、3は、機体を支える機枠4、機枠4の下方に位置する耕耘部11、耕耘部11の上部を覆うカバー体35、カバー体35の後端部で上下回動可能な整地体31、33、整地体31、33の姿勢を固定しまた固定解除をする姿勢制御部17及び調圧部51を有する。姿勢制御部17と調圧部51は遠隔操作により操縦される。
機枠4は走行機体(図示省略)に装着するトップピン8およびロワピン9を含む装着部と、走行機体から入力軸91を介して動力を獲得して変速を行う変速部89と、装着部と変速部89を支えるとともに変速部89から左右に張り出したパイプフレーム85とを有する。機枠4はパイプフレーム85に加え、変速部89の前方に位置し、後述の支持部材99同士を固定する第2パイプフレーム93を有してもよい。本発明は第2パイプフレーム93が無くても実施可能であるが、実施の形態においては第2パイプフレーム93を有したものとして記載をする。カバー体35は耕耘部11の上部全体であって前方側から後方側を覆い、泥土の飛散を防止する。
(【0011】以降は省略されています)
この特許をJ-PlatPat(特許庁公式サイト)で参照する
関連特許
個人
釣り用錘
今日
個人
蠅捕獲器
20日前
個人
草刈り鋏
24日前
個人
蜜蜂保護装置
11日前
個人
刈込鋏保持具
1か月前
個人
後付巻降ろし器
1か月前
個人
草刈機用回転刃
20日前
個人
種子の製造方法
17日前
株式会社丹勝
緑化工法
1か月前
個人
昆虫捕集器
17日前
個人
イカ釣り用ヤエン
1か月前
井関農機株式会社
作業車両
1か月前
個人
可動リップ付きルアー
3日前
井関農機株式会社
作業車両
1か月前
井関農機株式会社
作業車両
1か月前
井関農機株式会社
作業車両
1か月前
株式会社ナベル
表示システム
6日前
個人
餌付き針の餌取り防止具
6日前
個人
四足動物用装着具
25日前
個人
ブルーカーボンシステム
3日前
井関農機株式会社
圃場作業機
3日前
大栄工業株式会社
捕獲器
1か月前
株式会社オーツボ
海苔箱船
24日前
井関農機株式会社
作業車両
20日前
みのる産業株式会社
除草機
6日前
みのる産業株式会社
除草機
6日前
井関農機株式会社
作業車両
1か月前
井関農機株式会社
作業車両
25日前
松山株式会社
収穫機
3日前
松山株式会社
収穫機
3日前
松山株式会社
農作業機
1か月前
トヨタ自動車株式会社
育苗装置
1か月前
松山株式会社
草刈作業機
11日前
株式会社シマノ
釣糸ガイド
3日前
株式会社シマノ
釣糸ガイド
3日前
スガノ農機株式会社
圃場作業装置
1か月前
続きを見る
他の特許を見る