TOP
|
特許
|
意匠
|
商標
特許ウォッチ
Twitter
他の特許を見る
10個以上の画像は省略されています。
公開番号
2025168474
公報種別
公開特許公報(A)
公開日
2025-11-07
出願番号
2025145832,2024139115
出願日
2025-09-03,2020-05-29
発明の名称
複合部材及びその製造方法並びに飲料容器及びその製造方法
出願人
象印マホービン株式会社
,
サンアロー株式会社
代理人
弁理士法人はるか国際特許事務所
主分類
A47J
41/00 20060101AFI20251030BHJP(家具;家庭用品または家庭用設備;コーヒーひき;香辛料ひき;真空掃除機一般)
要約
【課題】互いに接着したシリコーンゴム表面とポリプロピレン表面とを含む複合部材及びその製造方法並びに飲料容器及びその製造方法を提供する。
【解決手段】本発明の一実施形態に係る方法の一側面は、第一部材と第二部材とを含む複合部材の製造方法であって、シリコーンゴム成形体である前記第一部材のシリコーンゴム表面と、ポリプロピレン成形体である前記第二部材のポリプロピレン表面とを接着する接着工程を含む。
【選択図】図1
特許請求の範囲
【請求項1】
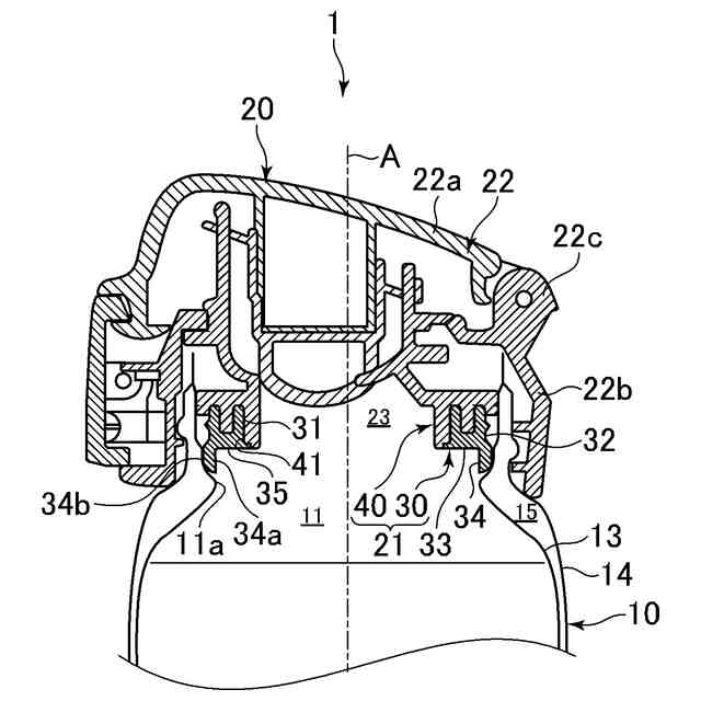
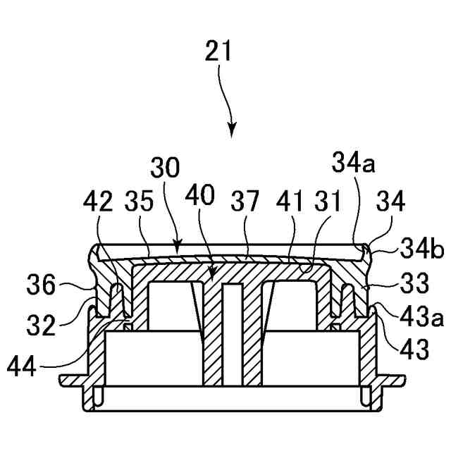
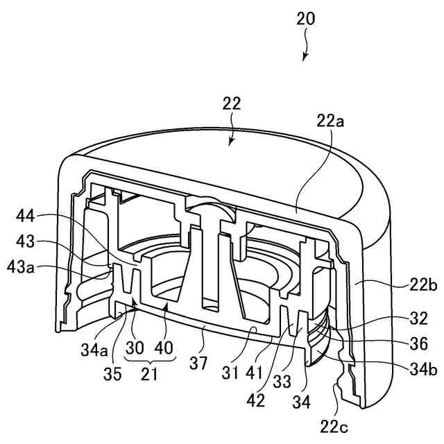
断熱二重容器を含む飲料容器の中栓部材であって、
シリコーンゴム成形体である、前記断熱二重容器の上部開口の内周面に密着する中栓パッキンと、
樹脂成形体である、前記中栓パッキンを支持する中栓基材と、
を含み、
前記中栓パッキンのシリコーンゴム表面と、前記中栓基材の樹脂表面とが分離不能に接着しており、
前記中栓基材は、下方に延びて前記中栓パッキンに侵入するフランジ部を有し、且つ、径方向外方に延びて前記中栓パッキンに侵入するフランジ部を有さず、
前記中栓パッキンは、前記フランジ部を有する前記中栓基材の樹脂表面上でシリコーンゴム原料組成物からインサート成形された部材である、
中栓部材。
続きを表示(約 400 文字)
【請求項2】
前記中栓パッキンの前記シリコーンゴム表面と、前記中栓基材の前記樹脂表面とは、プライマー由来成分を介して接着している、
請求項1に記載の中栓部材。
【請求項3】
前記中栓基材は、改質された前記樹脂表面を有する、
請求項2に記載の中栓部材。
【請求項4】
前記シリコーンゴム表面と前記樹脂表面とが、JIS K6256-2に準拠した方法により測定される剥離強さが3.0N/mm以上の強度で接着している、
請求項1乃至3のいずれかに記載の中栓部材。
【請求項5】
断熱二重容器と、
請求項1乃至4のいずれかに記載の中栓部材と、
を含む飲料容器。
【請求項6】
断熱二重容器に、請求項1乃至4のいずれかに記載の中栓部材を取り付ける取付工程を含む、
飲料容器の製造方法。
発明の詳細な説明
【技術分野】
【0001】
本発明は、複合部材及びその製造方法並びに飲料容器及びその製造方法に関する。
続きを表示(約 1,700 文字)
【背景技術】
【0002】
特許文献1には、飲食物容器の開口部を閉止する栓部材の中栓であって、当該開口部の内周に密着する中栓ゴムと、当該中栓ゴムが嵌着されるゴム受けと、当該ゴム受けに一体的に設けられ、当該中栓ゴムを当該ゴム受けから分離不可能に拘束する拘束部と、を備える栓部材の中栓が記載されている。
【先行技術文献】
【特許文献】
【0003】
特開2016-007296号公報
【発明の概要】
【発明が解決しようとする課題】
【0004】
一方、本発明の発明者らは、飲料容器の中栓部材に関し、中栓パッキンとしてシリコーンゴム成形体を採用し、且つ、当該中栓パッキンを支持する中栓基材としてポリプロピレン成形体を採用した場合に、当該中栓パッキンのシリコーンゴム表面と、当該中栓基材のポリプロピレン表面とを接着する技術的手段について鋭意検討を行った。
【0005】
本発明は、上記課題に鑑みて為されたものであり、互いに接着したシリコーンゴム成形体とポリプロピレン成形体とを含む複合部材及びその製造方法並びに飲料容器及びその製造方法を提供することをその目的の一つとする。
【課題を解決するための手段】
【0006】
上記課題を解決するための本発明の一実施形態に係る複合部材の製造方法は、第一部材と第二部材とを含む複合部材の製造方法であって、シリコーンゴム成形体である前記第一部材のシリコーンゴム表面と、ポリプロピレン成形体である前記第二部材のポリプロピレン表面とを接着する接着工程を含む。本発明によれば、互いに接着したシリコーンゴム成形体とポリプロピレン成形体とを含む複合部材の製造方法が提供される。
【0007】
また、前記方法は、前記第二部材の前記ポリプロピレン表面に表面改質処理を施す表面改質工程と、前記第二部材の前記表面改質処理が施された前記ポリプロピレン表面にプライマーを塗布するプライマー塗布工程と、をさらに含み、前記接着工程において、前記第一部材の前記シリコーンゴム表面と、前記第二部材の前記プライマーが塗布された前記ポリプロピレン表面とを接着することとしてもよい。また、前記接着工程において、インサート成形により、前記第一部材の前記シリコーンゴム表面と、前記第二部材の前記ポリプロピレン表面とを接着することとしてもよい。また、前記接着工程において、前記シリコーンゴム表面と前記ポリプロピレン表面とを、JIS K6256-2に準拠した方法により測定される剥離強さが3.0N/mm以上の強度で接着することとしてもよい。
【0008】
また、前記方法において、前記複合部材は、断熱二重容器を含む飲料容器の中栓部材であり、前記第一部材として、前記断熱二重容器の上部開口の内周面に密着する中栓パッキンを含み、前記第二部材として、前記中栓パッキンを支持する中栓基材を含むこととしてもよい。
【0009】
上記課題を解決するための本発明の一実施形態に係る複合部材は、シリコーンゴム成形体である第一部材と、ポリプロピレン成形体である第二部材と、を含み、前記第一部材のシリコーンゴム表面と、前記第二部材のポリプロピレン表面とが接着している。本発明によれば、互いに接着したシリコーンゴム成形体とポリプロピレン成形体とを含む複合部材が提供される。
【0010】
また、前記複合部材において、前記第一部材の前記シリコーンゴム表面と、前記第二部材の前記ポリプロピレン表面とは、プライマー由来成分を介して接着していることとしてもよい。この場合、前記第二部材は、改質された前記ポリプロピレン表面を有することとしてもよい。また、前記複合部材は、インサート成形体であることとしてもよい。また、前記複合部材において、前記シリコーンゴム表面と前記ポリプロピレン表面とが、JIS K6256-2に準拠した方法により測定される剥離強さが3.0N/mm以上の強度で接着していることとしてもよい。
(【0011】以降は省略されています)
この特許をJ-PlatPat(特許庁公式サイト)で参照する
関連特許
個人
箸
27日前
個人
椅子
2か月前
個人
家具
4か月前
個人
自助箸
6か月前
個人
掃除機
8か月前
個人
掃除道具
8か月前
個人
屋外用箒
7か月前
個人
枕
8か月前
個人
枕
5か月前
個人
掃除用具
3か月前
個人
ハンガー
6か月前
個人
多用途紐
24日前
個人
ソファー
1か月前
個人
体洗い具
10か月前
個人
耳拭き棒
10か月前
個人
開閉トング
6か月前
個人
組立式棚板
7か月前
個人
エコ掃除機
11か月前
個人
掃除シート
9か月前
個人
省煙消臭器
8か月前
個人
物品
2か月前
個人
片手代替具
11か月前
個人
中身のない枕
7か月前
個人
受け皿
5か月前
個人
洗面台
10か月前
個人
シャワー装置
5か月前
個人
紙コップ 蓋
2か月前
個人
ゴミ袋保持枠
6か月前
個人
経典表示装置
4か月前
個人
バターナイフ
27日前
個人
靴ベラ
2か月前
個人
転倒防止装置
4か月前
個人
ホバー掃除機。
5か月前
個人
汚水汚れ防止具
9か月前
個人
補助寝具
8か月前
個人
コーナーシール
9か月前
続きを見る
他の特許を見る