TOP
|
特許
|
意匠
|
商標
特許ウォッチ
Twitter
他の特許を見る
10個以上の画像は省略されています。
公開番号
2025168216
公報種別
公開特許公報(A)
公開日
2025-11-07
出願番号
2025003317
出願日
2025-01-09
発明の名称
仮想空間制御システムおよび仮想空間制御方法
出願人
株式会社JVCケンウッド
代理人
弁理士法人酒井国際特許事務所
主分類
H04N
7/15 20060101AFI20251030BHJP(電気通信技術)
要約
【課題】仮想空間内のコミュニケーションを適切に行うこと。
【解決手段】仮想空間制御システム1が備える情報処理装置50は、仮想空間において第一ユーザが第一情報端末装置10を用いて、会議室内に存在する全てのアバターが情報共有可能な会議空間に第一ユーザに対応する第一アバターを移動させた場合、第一アバターを会議室内に表示させるとともに、仮想空間における移動前の所定の位置に表示形態を変化させて表示させ、第二ユーザが第二情報端末装置10を用いて、所定の位置に表示形態を変化させて表示されている第一アバターに対して、第二ユーザに対応する第二アバターを用いて情報共有の要求を行った場合、第一ユーザと会議室内に存在するアバターのユーザとの情報共有が制限された状態で、第一ユーザと第二ユーザとの情報共有を可能とする。
【選択図】図4
特許請求の範囲
【請求項1】
情報端末装置に仮想空間を表示させ、前記仮想空間に前記情報端末装置のユーザに対応するアバターを表示させる仮想空間制御システムであって、
前記仮想空間制御システムが備える情報処理装置は、
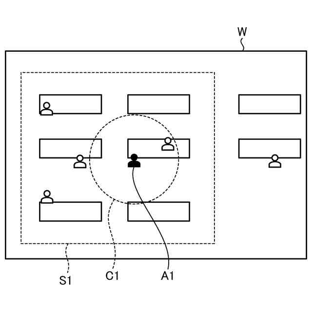
前記仮想空間において第一ユーザに対応する第一アバターが移動した場合、前記第一アバターを移動した先に表示させるとともに、前記第一アバターの移動前の位置に仮第一アバターを表示させ、
第二ユーザが、前記第二ユーザに対応する第二アバターを用いて、前記仮第一アバターに対してコミュニケーションの要求を行った場合、前記第一ユーザと前記第一アバターの周辺に存在する他のアバターのユーザとのコミュニケーションが制限された状態で、前記第一ユーザと前記第二ユーザとのコミュニケーションを可能とする、
仮想空間制御システム。
続きを表示(約 1,800 文字)
【請求項2】
前記情報処理装置は、
前記仮第一アバターを、前記第一アバターとは表示形態を異ならせて表示させる、
請求項1に記載の仮想空間制御システム。
【請求項3】
前記情報処理装置は、
前記仮想空間において前記第一アバターが、前記第一ユーザが所属することで配置される所属区画内から前記所属区画外に移動した場合、前記第一アバターを前記所属区画外で表示させるとともに、前記所属区画内における前記第一アバターの移動前の位置に前記仮第一アバターを表示させる、
請求項1に記載の仮想空間制御システム。
【請求項4】
前記情報処理装置は、
前記第一ユーザが前記第一アバターを用いて、前記第一アバターを移動した先において他のアバターのユーザとのコミュニケーションを行っていない場合、またはコミュニケーション可能な状態ではない場合に、前記第二ユーザが前記第二アバターを用いて前記仮第一アバターに対してコミュニケーションの要求を行った場合、前記第一ユーザと前記第二ユーザとのコミュニケーションを可能とする、
請求項1に記載の仮想空間制御システム。
【請求項5】
前記情報処理装置は、
前記第二ユーザが前記第二アバターを用いて、前記仮第一アバターに対してコミュニケーションの要求を行った場合、前記第一アバターが、前記第一アバターが存在する区画内に存在する他のアバターとコミュニケーション可能な状態である場合、前記区画内に存在する他のアバターのユーザに対して前記第一ユーザの音声の出力が制限された状態で、前記第一ユーザと前記第二ユーザとのコミュニケーションを可能とする、
請求項1に記載の仮想空間制御システム。
【請求項6】
前記情報処理装置は、
前記第一ユーザが前記第一アバターを用いて、前記第一アバターを移動した先において他のアバターのユーザとのコミュニケーションを行っている場合、またはコミュニケーション可能な状態である場合に、前記第二ユーザが前記第二アバターを用いて前記仮第一アバターに対してコミュニケーションの要求を行った場合、前記第一ユーザと前記第二ユーザとのコミュニケーションが予約され、前記第一アバターのユーザと前記他のアバターのユーザとのコミュニケーションが終了した場合、またはコミュニケーションが可能な状態ではなくなった場合に、前記第一ユーザと前記第二ユーザとのコミュニケーションを可能とする、
請求項1に記載の仮想空間制御システム。
【請求項7】
前記情報処理装置は、
前記第二ユーザが前記第二アバターを用いて、前記仮第一アバターに対してコミュニケーションの要求を行った場合、少なくとも前記第一ユーザが使用する情報端末装置に対して、前記第一アバターを移動した先に、仮第二アバターを表示させる、
請求項1から6のいずれか1項に記載の仮想空間制御システム。
【請求項8】
前記情報処理装置は、
前記第一アバターが移動した場合、前記第一アバターの移動前の位置の近傍における前記第一アバターが存在している時間が最も長い位置、または、前記第一アバターに割り当てられている位置に、前記仮第一アバターを表示させる、
請求項1に記載の仮想空間制御システム。
【請求項9】
情報端末装置に仮想空間を表示させ、前記仮想空間に前記情報端末装置のユーザに対応するアバターを表示させる仮想空間制御システムが実行する仮想空間制御方法であって、
前記仮想空間において第一ユーザに対応する第一アバターが移動した場合、前記第一アバターを移動した先に表示させるとともに、前記第一アバターの移動前の位置に仮第一アバターを表示させ、
第二ユーザが、前記第二ユーザに対応する第二アバターを用いて、前記仮第一アバターに対してコミュニケーションの要求を行った場合、前記第一ユーザと前記第一アバターの周辺に存在する他のアバターのユーザとのコミュニケーションが制限された状態で、前記第一ユーザと前記第二ユーザとのコミュニケーションを可能とすることを、
仮想空間制御システムが実行する仮想空間制御方法。
発明の詳細な説明
【技術分野】
【0001】
本発明は、仮想空間制御システムおよび仮想空間制御方法に関する。
続きを表示(約 2,400 文字)
【背景技術】
【0002】
各々のユーザがアバターを利用して、仮想オフィス(バーチャルオフィス)内で業務等を行う、仮想空間に構成した仮想オフィスに関する技術が知られている(例えば、特許文献1参照)。各アバターは、仮想空間上の距離が近い場合、または、仮想オフィスにおいて同一空間内に位置する場合、相互に声などの音声が聞こえる状態となる。仮想オフィスに設定されている会議室などにおいては、会議室内の全てのアバターが会話可能な状態となる。
【先行技術文献】
【特許文献】
【0003】
特開2022-071314号公報
【発明の概要】
【発明が解決しようとする課題】
【0004】
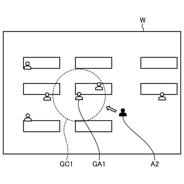
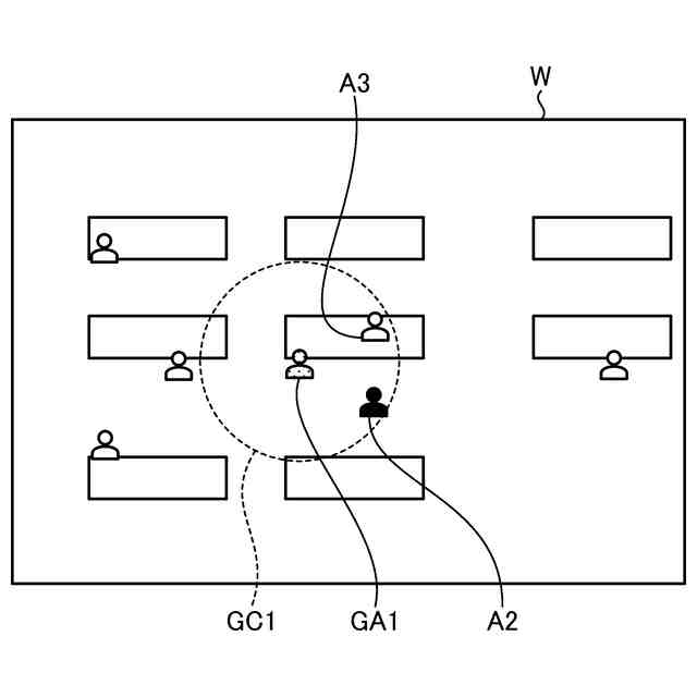
各アバターのユーザは、音声による会話などを行いたい他のユーザのアバターの近傍に自己のアバターを移動させて、他のユーザとのコミュニケーションを行う。例えば、第一ユーザの第一アバターが、仮想オフィスにおける会議室または他部門の区画のような場所に移動した場合、第一ユーザとコミュニケーションを行いたい第二ユーザは、第一アバターが第一アバターの自席に不在となることからコミュニケーションを行うことができない場合がある。また、第一アバターを検索して第一アバターの近傍に第二アバターを移動させた場合、第一アバターが会議室または他部門の区画のような場所にいることから、他のアバターのユーザに、第一ユーザと第二ユーザとのコミュニケーション内容が聞かれてしまうことがある。
【0005】
本開示は、仮想空間内のコミュニケーションを適切に行うことを目的とする。
【課題を解決するための手段】
【0006】
上述した課題を解決し、目的を達成するために、本開示に係る仮想空間制御システムは、情報端末装置に仮想空間を表示させ、前記仮想空間に前記情報端末装置のユーザに対応するアバターを表示させる仮想空間制御システムであって、前記仮想空間制御システムが備える情報処理装置は、前記仮想空間において第一ユーザに対応する第一アバターが移動した場合、前記第一アバターを移動した先に表示させるとともに、前記第一アバターの移動前の位置に仮第一アバターを表示させ、第二ユーザが、前記第二ユーザに対応する第二アバターを用いて、前記仮第一アバターに対してコミュニケーションの要求を行った場合、前記第一ユーザと前記第一アバターの周辺に存在する他のアバターのユーザとのコミュニケーションが制限された状態で、前記第一ユーザと前記第二ユーザとのコミュニケーションを可能とする。
【0007】
本開示に係る仮想空間制御方法は、情報端末装置に仮想空間を表示させ、前記仮想空間に前記情報端末装置のユーザに対応するアバターを表示させる仮想空間制御システムが実行する仮想空間制御方法であって、前記仮想空間において第一ユーザに対応する第一アバターが移動した場合、前記第一アバターを移動した先に表示させるとともに、前記第一アバターの移動前の位置に仮第一アバターを表示させ、第二ユーザが、前記第二ユーザに対応する第二アバターを用いて、前記仮第一アバターに対してコミュニケーションの要求を行った場合、前記第一ユーザと前記第一アバターの周辺に存在する他のアバターのユーザとのコミュニケーションが制限された状態で、前記第一ユーザと前記第二ユーザとのコミュニケーションを可能とすることを、仮想空間制御システムが実行する。
【発明の効果】
【0008】
本開示によれば、仮想空間内のコミュニケーションを適切に行うことができる。
【図面の簡単な説明】
【0009】
図1は、第一実施形態に係る仮想空間制御システムの構成例を示す概略図である。
図2は、第一実施形態に係る情報端末装置の構成例を示すブロック図である。
図3は、第一実施形態に係るサーバ装置の構成例を示すブロック図である。
図4は、第一実施形態に係る情報処理装置の構成例を示すブロック図である。
図5は、第一実施形態に係る情報端末装置の表示画面に表示された仮想オフィスの表示画面の一例を示す図である。
図6は、第一実施形態に係る情報端末装置の表示画面に表示された仮想オフィスの表示画面の他の例を示す図である。
図7は、第一実施形態に係る情報端末装置の表示画面に表示された仮想オフィスの表示画面の他の例を示す図である。
図8は、第一実施形態に係る情報端末装置の表示画面に表示された仮想オフィスの表示画面の他の例を示す図である。
図9は、第一実施形態に係る情報端末装置の表示画面に表示された仮想オフィスの表示画面の他の例を示す図である。
図10は、第一実施形態に係る情報端末装置の表示画面に表示された仮想オフィスの表示画面の他の例を示す図である。
図11は、第一実施形態に係る情報端末装置の表示画面に表示された仮想オフィスの表示画面の他の例を示す図である。
図12は、第一実施形態に係る仮想空間制御方法の一例を示すフローチャートである。
図13は、第一実施形態に係る仮想空間制御方法の一例を示すフローチャートである。
図14は、第二実施形態に係る実施形態に係る仮想空間制御方法の一例を示すフローチャートである。
図15は、第三実施形態に係る実施形態に係る仮想空間制御方法の一例を示すフローチャートである。
【発明を実施するための形態】
【0010】
以下に添付図面を参照して、本発明に係る仮想空間制御システムおよび仮想空間制御方法の実施形態を詳細に説明する。なお、以下の実施形態により本発明が限定されるものではない。
(【0011】以降は省略されています)
この特許をJ-PlatPat(特許庁公式サイト)で参照する
関連特許
個人
イヤーピース
25日前
個人
イヤーマフ
1か月前
個人
監視カメラシステム
1か月前
キーコム株式会社
光伝送線路
1か月前
個人
スイッチシステム
1か月前
WHISMR合同会社
収音装置
2か月前
サクサ株式会社
中継装置
1か月前
サクサ株式会社
中継装置
1か月前
個人
スキャン式車載用撮像装置
1か月前
アイホン株式会社
電気機器
2か月前
キヤノン株式会社
撮像装置
4日前
キヤノン電子株式会社
画像読取装置
1か月前
キヤノン電子株式会社
画像読取装置
1か月前
ヤマハ株式会社
放音制御装置
1か月前
株式会社リコー
画像形成装置
1か月前
キヤノン電子株式会社
画像読取装置
25日前
キヤノン電子株式会社
画像読取装置
2か月前
サクサ株式会社
無線通信装置
1か月前
個人
ワイヤレスイヤホン対応耳掛け
2か月前
サクサ株式会社
無線システム
1か月前
サクサ株式会社
無線通信装置
1か月前
個人
映像表示装置、及びARグラス
1か月前
キヤノン電子株式会社
シート搬送装置
25日前
キヤノン株式会社
情報処理装置
12日前
キヤノン株式会社
画像処理装置
28日前
キヤノン株式会社
撮像システム
2か月前
個人
発信機及び発信方法
1か月前
日本電気株式会社
海底分岐装置
1か月前
株式会社JVCケンウッド
通信システム
2か月前
沖電気工業株式会社
画像形成装置
2か月前
株式会社NTTドコモ
端末
1か月前
沖電気工業株式会社
画像形成装置
1か月前
株式会社NTTドコモ
端末
1か月前
株式会社NTTドコモ
端末
1か月前
株式会社松平商会
携帯機器カバー
2か月前
有限会社フィデリックス
マイクロフォン
2か月前
続きを見る
他の特許を見る