TOP
|
特許
|
意匠
|
商標
特許ウォッチ
Twitter
他の特許を見る
公開番号
2025167907
公報種別
公開特許公報(A)
公開日
2025-11-07
出願番号
2024072924
出願日
2024-04-26
発明の名称
液体攪拌装置及びシステム
出願人
キヤノン株式会社
代理人
弁理士法人大塚国際特許事務所
主分類
B41J
2/175 20060101AFI20251030BHJP(印刷;線画機;タイプライター;スタンプ)
要約
【課題】構造的な特徴を有する液体攪拌装置の提供。
【解決手段】液体攪拌装置は、液体を収容する収容手段と、前記収容手段の外周壁に当接して前記収容手段を回動自在に支持する支持手段と、前記支持手段に支持された前記収容手段を回動する駆動手段と、を備える。
【選択図】図8
特許請求の範囲
【請求項1】
液体を収容する収容手段と、
前記収容手段の外周壁に当接して前記収容手段を回動自在に支持する支持手段と、
前記支持手段に支持された前記収容手段を回動する駆動手段と、を備える、
ことを特徴とする液体攪拌装置。
続きを表示(約 1,200 文字)
【請求項2】
請求項1に記載の液体攪拌装置であって、
前記収容手段は、
液体収容器を収容し、前記外周壁を形成する収容部材を備える、
ことを特徴とする液体攪拌装置。
【請求項3】
請求項2に記載の液体攪拌装置であって、
前記収容手段の回動中心線の方向は横方向であり、
前記収容部材の前記外周壁は、円筒形状部を含み、
前記支持手段は、前記円筒形状部の周方向に離間した位置において前記円筒形状部に下側から当接する複数の当接部を含む、
ことを特徴とする液体攪拌装置。
【請求項4】
請求項3に記載の液体攪拌装置であって、
前記複数の当接部は、それぞれローラである、
ことを特徴とする液体攪拌装置。
【請求項5】
請求項2に記載の液体攪拌装置であって、
前記収容手段の回動中心線と交差する方向で、前記収容部材の変位を規制する規制手段を備える、
ことを特徴とする液体攪拌装置。
【請求項6】
請求項3に記載の液体攪拌装置であって、
前記収容部材の前記外周壁は、前記円筒形状部に対して前記収容手段の回動中心線の方向に並ぶ角筒形状部を含み、
前記角筒形状部は、前記液体収容器の収容空間の少なくとも一部を形成し、
前記角筒形状部は、第一の幅と前記第一の幅と直交する第二の幅とを有し、
前記第一の幅は前記円筒形状部の直径よりも短い、
ことを特徴とする液体攪拌装置。
【請求項7】
請求項2に記載の液体攪拌装置であって、
前記収容部材は、
前記収容手段の回動中心線の方向で一方の側の第一の端部と、
前記回動中心線の方向で他方の側の第二の端部と、
前記回動中心線の方向に沿い、前記第一の端部に開口した前記液体収容器の収容空間と、
を有する、
ことを特徴とする液体攪拌装置。
【請求項8】
請求項7に記載の液体攪拌装置であって、
前記回動中心線の方向は横方向であり、
前記支持手段は、前記第二の端部よりも前記第一の端部の側の位置において前記収容手段を回動自在に支持する、
ことを特徴とする液体攪拌装置。
【請求項9】
請求項7に記載の液体攪拌装置であって、
前記収容手段は、前記第二の端部の側において、前記回動中心線上を延設された軸部材を備え、
前記液体攪拌装置は、前記軸部材を支持する軸受けを備える、
ことを特徴とする液体攪拌装置。
【請求項10】
請求項7に記載の液体攪拌装置であって、
前記駆動手段は、前記回動中心線の方向で、前記第二の端部の外側に配置されている、
ことを特徴とする液体攪拌装置。
(【請求項11】以降は省略されています)
発明の詳細な説明
【技術分野】
【0001】
本発明は液体の攪拌技術に関する。
続きを表示(約 1,600 文字)
【背景技術】
【0002】
沈降性を有する物質を含む液体は、使用に際して攪拌し、沈殿物を分散させる必要がある場合がある。例えば、液体インクを記録媒体に吐出して記録を行う記録装置では、顔料インクやメタリックインクといったインクを使用する場合、沈殿物を分散させるためにその攪拌が必要となる場合がある。特許文献1及び2には、インクの収容部を回動させることでインクを攪拌する装置が開示されている。
【先行技術文献】
【特許文献】
【0003】
特開平5-338195号公報
特許第6567186号公報
【発明の概要】
【発明が解決しようとする課題】
【0004】
しかし、従来の液体攪拌装置は、その構造に改善の余地がある。
【0005】
本発明は、構造的な特徴を有する液体攪拌装置を提供するものである。
【課題を解決するための手段】
【0006】
本発明によれば、
液体を収容する収容手段と、
前記収容手段の外周壁に当接して前記収容手段を回動自在に支持する支持手段と、
前記支持手段に支持された前記収容手段を回動する駆動手段と、を備える、
ことを特徴とする液体攪拌装置が提供される。
【発明の効果】
【0007】
本発明は、構造的な特徴を有する液体攪拌装置を提供することができる。
【図面の簡単な説明】
【0008】
本発明の一実施形態に係るシステムの斜視図。
図1のシステムの正面図。
液体吐出装置の内部構造の説明図。
格納部の正面図。
液体収容器と容器支持ユニットの斜視図。
格納部に対する容器支持ユニットの装着態様を示す説明図。
ハンドルの動作説明図。
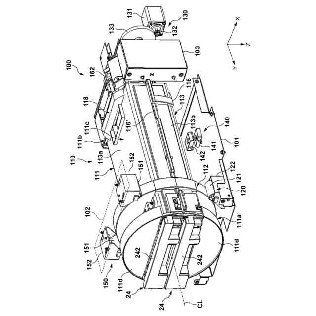
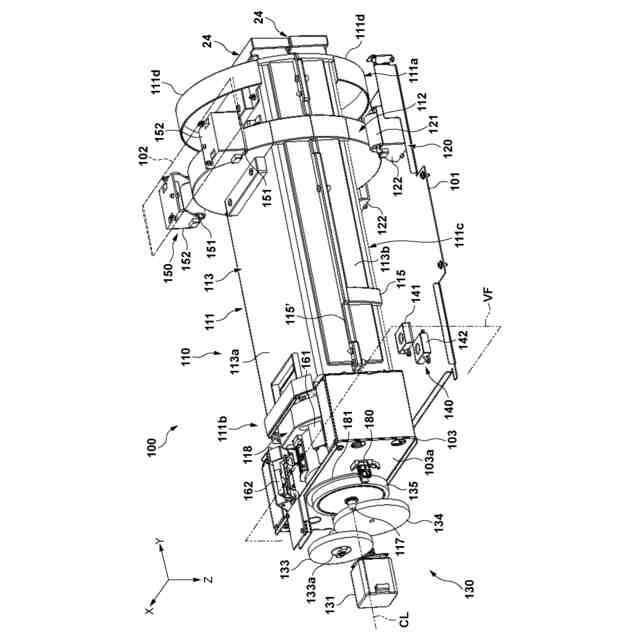
液体攪拌装置の斜視図。
液体攪拌装置の斜視図。
収容空間の正面図。
容器支持ユニットの収容態様を示す図。
液体攪拌装置の正面図。
液体攪拌装置の後部の斜視図。
攪拌動作の例を示す図。
回動規制ユニットの説明図。
回動規制態様を示す図。
回動規制態様を示す図。
位置検知動作の説明図。
流路形成部材及び弁ユニットの説明図。
回動時の流路形成部材の姿勢の変化の例を示す図。
可動側及び固定側のチューブ固定部材の配置の説明図。
保持部材の説明図。
回動時のチューブ等の形態の変化の例を示す図。
図1のシステムの制御回路のブロック図。
制御例の説明図。
制御例の説明図。
別の例の説明図。
別の例の説明図。
別の例の説明図。
【発明を実施するための形態】
【0009】
以下、添付図面を参照して実施形態を詳しく説明する。尚、以下の実施形態は特許請求の範囲に係る発明を限定するものではない。実施形態には複数の特徴が記載されているが、これらの複数の特徴の全てが発明に必須のものとは限らず、また、複数の特徴は任意に組み合わせられてもよい。さらに、添付図面においては、同一若しくは同様の構成に同一の参照番号を付し、重複した説明は省略する。
【0010】
<第一実施形態>
図1は本発明の一実施形態に係るシステムAの斜視図、図2はシステムAの正面図である。各図において、矢印X、Y、Zは互いに交差する方向を示し、本実施形態の場合、直交している。システムAを水平な面に設置した場合の左右方向をX方向、前後方向をY方向、上下方向をZ方向とする。X方向及びY方向は横方向とも呼ぶことができる。
(【0011】以降は省略されています)
この特許をJ-PlatPat(特許庁公式サイト)で参照する
関連特許
キヤノン株式会社
記録装置
1か月前
キヤノン株式会社
電子機器
3日前
株式会社リコー
印刷システム
1か月前
株式会社リコー
画像形成装置
1か月前
株式会社リコー
画像形成装置
2か月前
株式会社リコー
画像形成装置
1か月前
シャープ株式会社
画像形成装置
19日前
ブラザー工業株式会社
液体吐出ヘッド
1か月前
キヤノン株式会社
画像形成装置
25日前
独立行政法人 国立印刷局
潜像形成体
1か月前
理想科学工業株式会社
印刷装置
1か月前
キヤノン株式会社
画像記録装置
1か月前
カシオ計算機株式会社
印刷装置
17日前
株式会社リコー
画像形成システム
1か月前
大日本印刷株式会社
印刷物
24日前
大日本印刷株式会社
印刷物
24日前
キヤノン株式会社
画像形成システム
26日前
キヤノン株式会社
画像形成システム
1か月前
独立行政法人 国立印刷局
潜像画像形成体
1か月前
キヤノン株式会社
画像形成システム
1か月前
株式会社リコー
感熱記録媒体
1か月前
株式会社リコー
液体を吐出する装置
1か月前
キヤノン株式会社
画像形成システム
26日前
ブラザー工業株式会社
回収装置
1か月前
ブラザー工業株式会社
印刷媒体
1か月前
ブラザー工業株式会社
印刷媒体
1か月前
コニカミノルタ株式会社
情報処理装置
6日前
ブラザー工業株式会社
印刷媒体
1か月前
ブラザー工業株式会社
カセット
1か月前
セイコーインスツル株式会社
プリンタ
1か月前
キヤノン株式会社
画像形成装置
11日前
ブラザー工業株式会社
カセット
1か月前
キヤノン株式会社
画像形成装置
11日前
ブラザー工業株式会社
カセット
1か月前
キヤノン株式会社
画像形成装置
11日前
ブラザー工業株式会社
カセット
1か月前
続きを見る
他の特許を見る