TOP
|
特許
|
意匠
|
商標
特許ウォッチ
Twitter
他の特許を見る
10個以上の画像は省略されています。
公開番号
2025167758
公報種別
公開特許公報(A)
公開日
2025-11-07
出願番号
2024072638
出願日
2024-04-26
発明の名称
提案装置、提案方法及びプログラム
出願人
日清ファルマ株式会社
代理人
個人
,
個人
主分類
G16H
20/60 20180101AFI20251030BHJP(特定の用途分野に特に適合した情報通信技術)
要約
【課題】ユーザの悩みに適した商品を提案する。
【解決手段】提案装置が、ユーザの悩みに関する第1の質問に対する第1の回答及びユーザの食生活に関する第2の質問に対する第2の回答を含む回答情報を受け付ける回答受付部と、第1の回答に基づいて、悩みに対応する商品ごとの第1のスコアを計算する第1スコア計算部と、第2の回答に基づいて、食生活で不足する栄養素を含む商品ごとの第2のスコアを計算する第2スコア計算部と、第1のスコアが閾値以上の商品のうち、第1のスコアと第2のスコアとの合計スコアが高い商品を選択する商品選択部と、商品選択部により選択された商品を、ユーザに提案するための提案画面を出力する商品提案部と、を備える。
【選択図】図3
特許請求の範囲
【請求項1】
ユーザの悩みに関する第1の質問に対する第1の回答及び前記ユーザの食生活に関する第2の質問に対する第2の回答を含む回答情報を受け付けるように構成されている回答受付部と、
前記第1の回答に基づいて、前記悩みに対応する商品ごとの第1のスコアを計算するように構成されている第1スコア計算部と、
前記第2の回答に基づいて、前記食生活で不足する栄養素を含む商品ごとの第2のスコアを計算するように構成されている第2スコア計算部と、
前記第1のスコアが閾値以上の商品のうち、前記第1のスコアと前記第2のスコアとの合計スコアが高い前記商品を選択するように構成されている商品選択部と、
前記商品選択部により選択された前記商品を、前記ユーザに提案するための提案画面を出力するように構成されている商品提案部と、
を備える提案装置。
続きを表示(約 1,300 文字)
【請求項2】
請求項1に記載の提案装置であって、
前記提案画面は、前記合計スコアが高い順に前記商品を表示する、
提案装置。
【請求項3】
請求項2に記載の提案装置であって、
前記提案画面は、前記合計スコアが高い所定数の前記商品を含む商品群を表示する、
提案装置。
【請求項4】
請求項3に記載の提案装置であって、
前記提案画面は、互いに異なる数の商品を含む複数の商品群を表示する、
提案装置。
【請求項5】
請求項1から4のいずれかに記載の提案装置であって、
前記第1の質問は、予め定めた悩みの選択肢に順位付けさせる質問を含む、
提案装置。
【請求項6】
請求項1から4のいずれかに記載の提案装置であって、
前記第2の質問は、予め定めた食材ごとの摂取頻度を回答させる質問を含む、
提案装置。
【請求項7】
請求項1から4のいずれかに記載の提案装置であって、
前記商品提案部は、
前記回答情報に応じたアドバイスを表示する評価結果画面を出力し、
前記評価結果画面に対する前記ユーザの操作に応じて、前記提案画面を出力するように構成されている、
提案装置。
【請求項8】
請求項1から4のいずれかに記載の提案装置であって、
前記商品は、サプリメントである、
提案装置。
【請求項9】
コンピュータが、
ユーザの悩みに関する第1の質問に対する第1の回答及び前記ユーザの食生活に関する第2の質問に対する第2の回答を含む回答情報を受け付ける手順と、
前記第1の回答に基づいて、前記悩みに対応する商品ごとの第1のスコアを計算する手順と、
前記第2の回答に基づいて、前記食生活で不足する栄養素を含む商品ごとの第2のスコアを計算する手順と、
前記第1のスコアが閾値以上の商品のうち、前記第1のスコアと前記第2のスコアとの合計スコアが高い前記商品を選択する手順と、
前記選択する手順により選択された前記商品を、前記ユーザに提案するための提案画面を出力する手順と、
を実行する提案方法。
【請求項10】
コンピュータに、
ユーザの悩みに関する第1の質問に対する第1の回答及び前記ユーザの食生活に関する第2の質問に対する第2の回答を含む回答情報を受け付ける手順と、
前記第1の回答に基づいて、前記悩みに対応する商品ごとの第1のスコアを計算する手順と、
前記第2の回答に基づいて、前記食生活で不足する栄養素を含む商品ごとの第2のスコアを計算する手順と、
前記第1のスコアが閾値以上の商品のうち、前記第1のスコアと前記第2のスコアとの合計スコアが高い前記商品を選択する手順と、
前記選択する手順により選択された前記商品を、前記ユーザに提案するための提案画面を出力する手順と、
を実行させるためのプログラム。
発明の詳細な説明
【技術分野】
【0001】
本開示は、提案装置、提案方法及びプログラムに関する。
続きを表示(約 1,700 文字)
【背景技術】
【0002】
例えば健康食品又はサプリメント等の商品をインターネット等の通信ネットワークを介して販売する通信販売サービスにおいて、顧客の健康状態に応じた商品を提案する技術がある。この種の通信販売サービスは、パーソナルニュートリションなどとも呼ばれる。
【0003】
例えば、特許文献1には、生活習慣に関する質問に対するユーザからの回答に基づいて、ユーザに不足している栄養素を含むサプリメントを選択し、不足している栄養素を含むサプリメントの中からユーザの悩みの度合に基づいて所定範囲の数のサプリメントを絞り込むサプリメント提案システムが開示されている。
【先行技術文献】
【特許文献】
【0004】
特開2021-033592号公報
【発明の概要】
【発明が解決しようとする課題】
【0005】
しかしながら、従来技術では、ユーザの悩みに適したサプリメントを提案する余地がある。例えば、従来技術では、ユーザに不足している栄養素を含むサプリメントの中からユーザに提案するサプリメントを選択するため、ユーザの悩みと関連が低いサプリメントが提案されるおそれがある。
【0006】
本開示は、ユーザの悩みに適した商品を提案することを目的とする。
【課題を解決するための手段】
【0007】
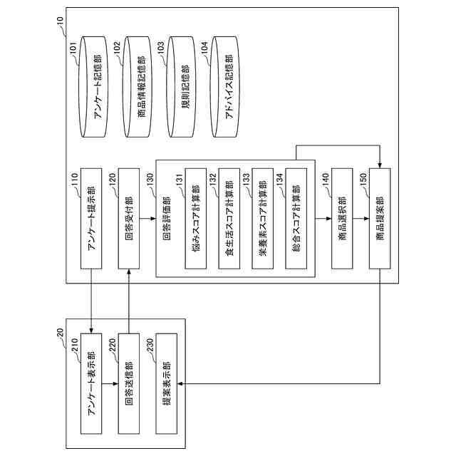
本開示の一態様による提案装置は、ユーザの悩みに関する第1の質問に対する第1の回答及びユーザの食生活に関する第2の質問に対する第2の回答を含む回答情報を受け付ける回答受付部と、第1の回答に基づいて、悩みに対応する商品ごとの第1のスコアを計算する第1スコア計算部と、第2の回答に基づいて、食生活で不足する栄養素を含む商品ごとの第2のスコアを計算する第2スコア計算部と、第1のスコアが閾値以上の商品のうち、第1のスコアと第2のスコアとの合計スコアが高い商品を選択する商品選択部と、商品選択部により選択された商品を、ユーザに提案するための提案画面を出力する商品提案部と、を備える。
【発明の効果】
【0008】
本開示の一態様によれば、ユーザの悩みに適した商品を提案できる。
【図面の簡単な説明】
【0009】
販売システムの全体構成の一例を示すブロック図である。
コンピュータのハードウェア構成の一例を示すブロック図である。
販売システムの機能構成の一例を示すブロック図である。
アンケート情報の一例を示す図である。
商品情報の一例を示す図である。
悩みスコア算出規則の一例を示す図である。
食生活スコア算出規則の一例を示す図である。
栄養素スコア算出規則の一例を示す図である。
総合スコア算出規則の一例を示す図である。
提案方法の一例を示すフローチャートである。
単一回答の質問を提示するアンケート画面の一例を示す図である。
複数回答の質問を提示するアンケート画面の一例を示す図である。
食材の摂取頻度に関する質問を提示するアンケート画面の一例を示す図である。
総合スコアを提示する評価結果画面の一例を示す図である。
ベースコメントを提示する評価結果画面の一例を示す図である。
栄養素スコアを提示する評価結果画面の一例を示す図である。
栄養素スコアを提示する評価結果画面の一例を示す図である。
栄養素コメントを提示する評価結果画面の一例を示す図である。
総合アドバイスを提示する評価結果画面の一例を示す図である。
おすすめプランを提案する提案画面の一例を示す図である。
代替プランを提案する提案画面の一例を示す図である。
【発明を実施するための形態】
【0010】
以下、本開示の各実施形態について添付の図面を参照しながら説明する。なお、本明細書及び図面において、実質的に同一の機能構成を有する構成要素については、同一の符号を付することにより重複した説明を省略する。
(【0011】以降は省略されています)
この特許をJ-PlatPat(特許庁公式サイト)で参照する
関連特許
日清ファルマ株式会社
提案装置、提案方法及びプログラム
13日前
個人
支援システム
6か月前
個人
医療のAI化
2か月前
個人
管理装置
5か月前
個人
対話システム
5か月前
個人
通知ぬいぐるみAIシステム
2か月前
キラル株式会社
ヘルスケアシステム
29日前
キラル株式会社
ヘルスケアシステム
29日前
株式会社タカゾノ
薬剤秤量装置
3か月前
株式会社タカゾノ
薬剤秤量装置
3か月前
株式会社タカゾノ
薬剤秤量装置
3か月前
株式会社タカゾノ
薬剤秤量装置
3か月前
キヤノン株式会社
情報処理装置
今日
株式会社タカゾノ
薬剤秤量装置
3か月前
株式会社タカゾノ
薬剤秤量装置
5か月前
株式会社タカゾノ
薬剤秤量装置
21日前
株式会社リコー
投薬管理システム
2か月前
TOTO株式会社
健康管理システム
1か月前
株式会社M-INT
情報処理システム
7か月前
個人
診療の管理装置及び診療システム
3か月前
株式会社ケアコム
看護必要度分析装置
今日
ゾーン株式会社
コンピュータシステム
6か月前
株式会社サンクスネット
情報提供システム
5か月前
株式会社CureApp
プログラム
4か月前
株式会社ユニオン
健康関連情報管理装置
1日前
株式会社ミラボ
情報処理装置、及びプログラム
3か月前
株式会社 137
健康観察管理システム
5か月前
株式会社イシダ
受付端末装置
22日前
ギジン株式会社
情報分析装置および情報分析方法
8日前
大和ハウス工業株式会社
服薬推定システム
1か月前
西川株式会社
サービス出力システム
5か月前
合同会社フォース
オンライン診療システム
7か月前
株式会社タカゾノ
薬剤秤量装置及び調剤システム
5か月前
歯っぴー株式会社
口内状態の画像診断方法
3か月前
株式会社エフアンドエフ
在宅健康チェックシステム
6か月前
株式会社SECRET MEDICINE
管理装置
2か月前
続きを見る
他の特許を見る