TOP
|
特許
|
意匠
|
商標
特許ウォッチ
Twitter
他の特許を見る
10個以上の画像は省略されています。
公開番号
2025167625
公報種別
公開特許公報(A)
公開日
2025-11-07
出願番号
2024072444
出願日
2024-04-26
発明の名称
制御装置、制御方法およびプログラム
出願人
キヤノン株式会社
代理人
個人
,
個人
,
個人
,
個人
,
個人
主分類
H04N
23/661 20230101AFI20251030BHJP(電気通信技術)
要約
【課題】 遠隔からWOLによるデジタルカメラの電源ONができない状況に陥る可能性があることをデジタルカメラの電源OFFする前に把握することが可能になる技術を提供する。
【解決手段】 外部機器を制御する制御装置であって、前記外部機器がWOLパケットにより省電力状態から起動状態へ復帰可能か否かを示す復帰可否情報を取得する取得手段と、前記WOLパケットにより前記外部機器を前記起動状態から前記省電力状態に移行させるための移行操作が行われた場合、前記外部機器から取得した前記復帰可否情報が前記起動状態へ復帰できないことを示していることに応じて、前記外部機器が前記起動状態に復帰できないことを示す通知情報を生成する生成手段と、を備える、制御装置。
【選択図】 図3
特許請求の範囲
【請求項1】
外部機器を制御する制御装置であって、
前記外部機器がWOLパケットにより省電力状態から起動状態へ復帰可能か否かを示す復帰可否情報を取得する取得手段と、
前記WOLパケットにより前記外部機器を前記起動状態から前記省電力状態に移行させるための移行操作が行われた場合、前記外部機器から取得した前記復帰可否情報が前記起動状態へ復帰できないことを示していることに応じて、前記外部機器が前記起動状態に復帰できないことを示す通知情報を生成する生成手段と、
を備える、制御装置。
続きを表示(約 1,200 文字)
【請求項2】
前記復帰可否情報は、前記外部機器が有線接続されているか否かを示す接続状態の情報を含み、
前記生成手段は、
前記移行操作が行われた場合、前記外部機器が有線接続されていないことに応じて、前記通知情報を生成する、
請求項1に記載の制御装置。
【請求項3】
前記復帰可否情報は、前記外部機器がWOL機能を有するか否かを示す機能情報を含み、
前記生成手段は、
前記移行操作が行われた場合、前記外部機器がWOL機能を有していないことに応じて、前記通知情報を生成する、
請求項1に記載の制御装置。
【請求項4】
前記復帰可否情報は、前記外部機器が前記制御装置と同一のネットワークに配置されているか否かを示すネットワーク状態を示す情報を含み、
前記生成手段は、
前記移行操作が行われた場合、前記外部機器が前記制御装置と異なるネットワークに配置されていることに応じて、前記通知手段を生成する、
請求項1に記載の制御装置。
【請求項5】
前記生成手段は、
前記外部機器のWOL機能を無効から有効に切り替える設定操作が行われた場合、前記外部機器から取得した前記復帰可否情報が前記起動状態へ復帰できないことを示していることに応じて、前記通知情報を生成する、
請求項1に記載の制御装置。
【請求項6】
前記設定操作は、前記省電力状態の前記外部機器を前記WOLパケットにより復帰させるための設定である第1の設定操作と、前記起動状態の前記外部機器を前記WOLパケットによりリセットするための設定である第2の設定操作と、を含み、
前記生成手段は、
前記第2の設定操作が行われた場合、前記外部機器から取得した前記復帰可否情報が前記起動状態へ復帰できないことを示していることに応じて、前記通知情報を生成する、
請求項5に記載の制御装置。
【請求項7】
前記生成手段は、
前記移行操作が行われた場合、前記外部機器のWOL機能が無効に設定されている場合、前記外部機器のWOL機能が無効に設定されていることを示す無効通知情報を生成する、
請求項1に記載の制御装置。
【請求項8】
前記生成手段は、
前記外部機器から取得した前記復帰可否情報が前記起動状態へ復帰できることを示していることに応じて、前記外部機器のWOL機能を無効から有効に切り替えるか否かを示す情報を含む前記無効通知情報を生成する、
請求項7に記載の制御装置。
【請求項9】
前記外部機器は撮像装置である、
請求項1に記載の制御装置。
【請求項10】
前記制御装置は、複数の撮像装置を制御可能な装置である、
請求項1に記載の制御装置。
(【請求項11】以降は省略されています)
発明の詳細な説明
【技術分野】
【0001】
本発明は、制御装置、制御方法およびプログラムに関する。
続きを表示(約 1,600 文字)
【背景技術】
【0002】
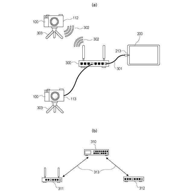
近年、オリンピックに代表されるスポーツイベントの競技大会において、カメラマンにより多種多様の競技シーンの撮影が行われおり、撮影された写真はメディアのニュースで数多く配信されている。様々なシーンを撮影するためには、複数人のカメラマンが必要となり、さらに多数の人件費などのコストがかかってしまう。
【0003】
そこで、複数のカメラとネットワークを介して接続するコンピュータから、各カメラをコントロールするシステムが知られている(特許文献1)。
【0004】
このようなシステムの利用によれば、撮影者の人数を減らすことが可能になる。更に、撮影者の人数が減ることで、コストの低減や、様々な構図で大量の撮影が可能となる。なお、遠隔にて複数台のデジタルカメラを撮影制御可能な、リモート撮影システムとして、Nikon社のNX Field(登録商標)やSony社のRemote Camera Tool(登録商標)等が使用され得る。
【先行技術文献】
【特許文献】
【0005】
特開2023-9896号公報
【発明の概要】
【発明が解決しようとする課題】
【0006】
このようなリモート撮影システムでは、スポーツイベントの競技を様々な構図で撮影する場合において、例えば陸上のトラック競技において、ゴール付近に多数のカメラを設置し撮影を行う場合がある。このような場合に、長時間リモート撮影しっぱなしになったり、逆に長時間待機したりと被写体となる競技者スケジュールにより、遠隔に設置したカメラを設置したままとなる場合がある。
【0007】
また、カメラを設置するポジションによって、レインカバーをかけないとダメな場合や、屋外の直射日光に当たってカメラ本体が温度上昇してしまう状況を回避する必要がある。さらに、外部電源なしで本体バッテリーによる運用する必要が発生したりもする。そのため、カメラの電源をOFFして、カメラ本体の熱上昇と、電池消費を抑える必要があるなど、遠隔で電源のON/OFFを行う必要が発生する。
【0008】
そこで、制御装置からネットワークを介して、複数のデジタルカメラに対して、制御装置上で動作するリモート撮影制御アプリケーション(以後「マルチリモートアプリ」と呼ぶ)の制御を用いる場合がある。マルチリモートアプリの利用により、遠隔からの電源OFF(スリープ)命令と、Wake On Lan(以後、「WOL」と呼ぶ)を利用した、電源ON制御を行うことで遠隔のカメラの電源制御が可能となる。
【0009】
しかしながら、制御装置によるデジタルカメラの電源ON起動には、デジタルカメラの通信部のネットワーク機能や、ネットワーク構成により、デジタルカメラを起動出来ないケースが発生するといった問題が発生し得る。そのような状況では、制御装置が遠隔から一旦デジタルカメラの電源をOFFしてしまうと、遠隔からデジタルカメラを起動出来ず、撮影シーンを逃してしまう可能性がある。
【課題を解決するための手段】
【0010】
上記目的を達成するために、本発明のある観点によれば、外部機器を制御する制御装置であって、前記外部機器がWOLパケットにより省電力状態から起動状態へ復帰可能か否かを示す復帰可否情報を取得する取得手段と、前記WOLパケットにより前記外部機器を前記起動状態から前記省電力状態に移行させるための移行操作が行われた場合、前記外部機器から取得した前記復帰可否情報が前記起動状態へ復帰できないことを示していることに応じて、前記外部機器が前記起動状態に復帰できないことを示す通知情報を生成する生成手段と、を備える、制御装置が提供される。
【発明の効果】
(【0011】以降は省略されています)
この特許をJ-PlatPat(特許庁公式サイト)で参照する
関連特許
個人
イヤーピース
1か月前
個人
イヤーマフ
1か月前
個人
監視カメラシステム
1か月前
キーコム株式会社
光伝送線路
1か月前
個人
スイッチシステム
1か月前
個人
スキャン式車載用撮像装置
1か月前
サクサ株式会社
中継装置
2か月前
サクサ株式会社
中継装置
2か月前
キヤノン株式会社
撮像装置
3日前
キヤノン株式会社
撮像装置
10日前
キヤノン株式会社
撮像装置
3日前
キヤノン株式会社
撮像装置
3日前
ヤマハ株式会社
放音制御装置
1か月前
キヤノン電子株式会社
画像読取装置
1か月前
個人
映像表示装置、及びARグラス
1か月前
キヤノン電子株式会社
画像読取装置
1か月前
株式会社リコー
画像形成装置
1か月前
サクサ株式会社
無線システム
1か月前
サクサ株式会社
無線通信装置
2か月前
キヤノン電子株式会社
画像読取装置
1か月前
サクサ株式会社
無線通信装置
2か月前
日本電気株式会社
海底分岐装置
1か月前
個人
発信機及び発信方法
1か月前
キヤノン電子株式会社
シート搬送装置
1か月前
キヤノン株式会社
画像処理装置
1か月前
キヤノン株式会社
情報処理装置
18日前
株式会社NTTドコモ
端末
1か月前
沖電気工業株式会社
画像形成装置
2か月前
株式会社NTTドコモ
端末
1か月前
有限会社フィデリックス
マイクロフォン
2か月前
シャープ株式会社
表示装置
1か月前
シャープ株式会社
表示装置
1か月前
株式会社NTTドコモ
端末
1か月前
キヤノン電子株式会社
画像処理システム
1か月前
日本セラミック株式会社
超音波送受信器
18日前
シャープ株式会社
端末装置
1か月前
続きを見る
他の特許を見る