TOP
|
特許
|
意匠
|
商標
特許ウォッチ
Twitter
他の特許を見る
公開番号
2025167396
公報種別
公開特許公報(A)
公開日
2025-11-07
出願番号
2024071956
出願日
2024-04-25
発明の名称
サーバ装置およびプログラム
出願人
株式会社 ミックウェア
代理人
個人
主分類
G06Q
50/10 20120101AFI20251030BHJP(計算;計数)
要約
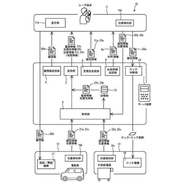
【課題】被災地で代替電源を求める被災者に対して、電動車を外部電源として利用できるように支援するサーバ装置等を提供する。
【解決手段】サーバ装置1は、電動車12の位置情報21cを識別情報21aに紐付けて取得する取得部2と、電動車の外部電源に関する電源情報21bを識別情報21aに紐付けて記憶する記憶部31と、被災地A内の電動車の位置情報21c及び電源情報21bを、被災地A内のユーザ端末11に送信する送信部3とを備えている。そして被災地A内における電動車12の位置が、位置情報21cに基づいて、ユーザ端末11の表示部11aに地図表示され、電源情報21aが表示部11aに表示される。
【選択図】図2
特許請求の範囲
【請求項1】
電動車の位置情報を、前記電動車を識別する第1識別情報に紐付けて取得する取得部と、
前記電動車の外部電源に関する電源情報を前記第1識別情報に紐付けて記憶する記憶部と、
被災地内の前記電動車の前記位置情報及び前記電源情報を、前記被災地内のユーザ端末に送信する送信部とを備えており、
前記被災地内における前記電動車の位置が、前記位置情報に基づいて、前記ユーザ端末の表示部に地図表示され、前記電源情報が前記表示部に表示されるものである、サーバ装置。
続きを表示(約 840 文字)
【請求項2】
前記取得部は外部給電器の位置情報を、前記外部給電器を識別する第2識別情報に紐付けて取得するものであり、
前記記憶部は前記外部給電器と前記電動車の互換性に関する互換性情報を前記第2識別情報に紐付けて記憶しており、
前記送信部は、前記被災地内に位置する前記外部給電器の位置情報及び前記互換性情報を、前記被災地内の前記ユーザ端末に送信するものであり、
前記被災地内における前記外部給電器の位置が、前記外部給電器の位置情報に基づいて、前記表示部に地図表示され、前記互換性情報が前記表示部に表示されるものである、請求項1記載のサーバ装置。
【請求項3】
前記ユーザ端末の操作により選択された前記電動車/前記外部給電器と互換性を有する前記電動車/前記外部給電器それぞれの前記第1識別情報/前記第2識別情報を前記ユーザ端末に送信する互換性送信部を備えており、
互換性を有する前記電動車/前記外部給電器の位置が前記地図に表示されるものである、請求項2記載のサーバ装置。
【請求項4】
前記ユーザ端末の操作により選択された前記電動車/前記外部給電器の利用に関する利用情報を前記ユーザ端末に送信する利用情報送信部を備えている、請求項1、2若しくは3のいずれかに記載のサーバ装置。
【請求項5】
電動車の外部電源に関する電源情報が、前記電動車を識別する識別情報に紐付けて記憶された記憶部を備えたサーバ装置のプログラムであって、
コンピュータに、
前記電動車の位置情報を前記識別情報に紐付けて取得させ、
前記被災地内の前記電動車の前記位置情報及び前記電源情報を、前記被災地内のユーザ端末に送信させるものであり、
前記被災地内における前記電動車の位置が、前記位置情報に基づいて、前記ユーザ端末の表示部に地図表示され、前記電源情報が前記表示部に表示されるものである、プログラム。
発明の詳細な説明
【技術分野】
【0001】
本発明は、地震等の災害が起きて電源供給が遮断された被災地において、電気自動車などの電動車を電力供給源として活用するためのサーバ装置およびプログラムに関する。
続きを表示(約 1,700 文字)
【背景技術】
【0002】
多くの電動車には外部に電力を供給できる外部電源機能が備わっており、電源供給が復旧されるまでの代替電源として活用できる。被災地で電動車を活用する技術として、例えば、電動車を他者に適切に貸し出す技術として特許文献1がある。
特許文献1には、制御装置が開示されている。その制御装置は、第1キー情報と、特定の条件を満たしたときに有効となる第2キー情報と、で解錠される施錠手段を備える車両を制御するものであって、特定の条件を満たしたとき、第2キー情報による解錠を有効にする制御部を備える、というものである。
【先行技術文献】
【特許文献】
【0003】
特開2020-200736号公報
【発明の概要】
【発明が解決しようとする課題】
【0004】
ところで、電動車の車種によって給電方法が異なる。例えば、車内にある電源コンセントから直接給電する方法、或いは、外部給電器を介して給電端子から給電する方法等がある。さらに外部給電器には電動車の種類によって接続できるものと、できないものがある。被災した後の緊急時に、被災地で代替電源を求める被災者がこのような事情を把握して行動するのは困難である。
【0005】
そこで、一つの側面において、被災地で代替電源を求める被災者に対して電動車を外部電源として利用できるように支援するサーバ装置およびプログラムを提供することを目的とする。
【課題を解決するための手段】
【0006】
(1)サーバ装置は、電動車の位置情報を、前記電動車を識別する第1識別情報に紐付けて取得する取得部と、前記電動車の外部電源に関する電源情報を前記第1識別情報に紐付けて記憶する記憶部と、被災地内の前記電動車の前記位置情報及び前記電源情報を、前記被災地内のユーザ端末に送信する送信部とを備えており、前記被災地内における前記電動車の位置が、前記位置情報に基づいて、前記ユーザ端末の表示部に地図表示され、前記電源情報が前記表示部に表示されるものである、ことを特徴としている。
【0007】
・「電動車の位置情報」とは、例えば、電動車の緯度、経度で表される情報である。また位置情報として、さらには高度を加えて表される情報であってもよい。さらに位置情報は、緯度・経度および/または高度に換算できる別の指標値で表される情報であってもよい。
【0008】
・「第1識別情報」とは、電動車を特定するための情報であり、例えば、車台番号、車両識別番号(VINコード)や、識別IDなどの情報が含まれる。なお識別情報は、車台番号、車両識別番号(VINコード)や、識別IDなどの情報に換算できる別の指標値で表される情報であってもよい。なお製造業者・種類・製造番号といった項目を把握できる情報であるのが好ましい。
【0009】
・「電源情報」とは、外部電源に関する情報である。例えば、直ちに給電できるかどうか、についての情報を含む。直ちに給電できるとは、例えば、交流100Vの家庭用のコンセントを有している/給電端子に接続できる外部給電器を積載していることを含む。直ちに給電できないとは、家庭用のコンセントを備えていない/外部給電器を積載していないことを含む。その他、電源情報として、給電端子の型の情報を含んでもよい。
【0010】
(2)このようなサーバ装置は、前記取得部は外部給電器の位置情報を、前記外部給電器を識別する第2識別情報に紐付けて取得するものであり、前記記憶部は前記外部給電器と前記電動車の互換性に関する互換性情報を前記第2識別情報に紐付けて記憶しており、前記送信部は、前記被災地内に位置する前記外部給電器の位置情報及び前記互換性情報を、前記被災地内の前記ユーザ端末に送信するものであり、前記被災地内における前記外部給電器の位置が、前記外部給電器の位置情報に基づいて、前記ユーザ端末の表示部に地図表示され、前記互換性情報が前記表示部に表示されるものである、のが好ましい。
(【0011】以降は省略されています)
この特許をJ-PlatPat(特許庁公式サイト)で参照する
関連特許
株式会社 ミックウェア
情報処理装置、移動端末
16日前
株式会社 ミックウェア
情報システム、端末装置
2日前
株式会社 ミックウェア
サーバ装置およびプログラム
1日前
個人
詐欺保険
25日前
個人
縁伊達ポイン
25日前
個人
5掛けポイント
1日前
個人
RFタグシート
12日前
個人
QRコードの彩色
29日前
個人
ペルソナ認証方式
9日前
個人
地球保全システム
1か月前
個人
自動調理装置
11日前
個人
情報処理装置
4日前
個人
冷凍食品輸出支援構造
2か月前
個人
為替ポイント伊達夢貯
2か月前
個人
残土処理システム
1か月前
個人
表変換編集支援システム
1か月前
個人
農作物用途分配システム
24日前
個人
タッチパネル操作指代替具
18日前
個人
知財出願支援AIシステム
2か月前
個人
知的財産出願支援システム
1か月前
個人
インターネットの利用構造
8日前
個人
行動時間管理システム
2か月前
個人
携帯端末障害問合せシステム
17日前
個人
パスワード管理支援システム
1か月前
個人
スケジュール調整プログラム
17日前
個人
エリアガイドナビAIシステム
9日前
個人
システム及びプログラム
1か月前
株式会社キーエンス
受発注システム
1か月前
株式会社キーエンス
受発注システム
1か月前
個人
AIキャラクター制御システム
1か月前
株式会社キーエンス
受発注システム
1か月前
個人
食品レシピ生成システム
1か月前
個人
海外支援型農作物活用システム
1か月前
株式会社ケアコム
項目選択装置
4日前
株式会社ケアコム
項目選択装置
4日前
サクサ株式会社
中継装置
1か月前
続きを見る
他の特許を見る