TOP
|
特許
|
意匠
|
商標
特許ウォッチ
Twitter
他の特許を見る
公開番号
2025166333
公報種別
公開特許公報(A)
公開日
2025-11-06
出願番号
2024070273
出願日
2024-04-24
発明の名称
情報システム、端末装置
出願人
株式会社 ミックウェア
代理人
個人
主分類
G06Q
50/40 20240101AFI20251029BHJP(計算;計数)
要約
【課題】ドライバーが案内ルートとは異なったルートを選択したことを利用して、案内ルートの悪路判定を行う。
【解決手段】端末装置2とサーバ1とを具備する情報システムAは、端末装置2は、設定されたルート情報が格納される端末格納部211と、位置情報を取得する位置取得部212と、走行中に取得した画像を位置情報と対応付けて蓄積する撮影部222と、ルート情報と位置情報とを用いて、ルートを外れたか否かを判断する判断部215と、ルートを外れた場合、ルートを走行中に撮影部222が取得した画像をサーバ1に送信する画像送信部224とを具備し、サーバ1は、2以上の教師データを用いて機械学習の学習機能により取得された学習モデルに、受信した前記画像を入力し、悪路の度合いを示すスコアを出力させる悪路判定部131とを具備する。
【選択図】図2
特許請求の範囲
【請求項1】
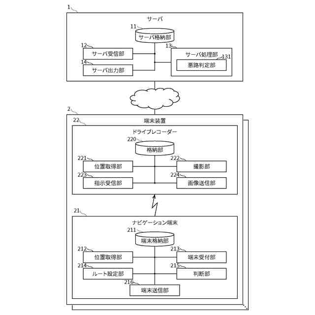
車両に用いる端末装置とサーバとを具備する情報システムであって、
前記端末装置は、
設定されたルートを特定するルート情報が格納される端末格納部と、
前記車両の位置を特定する位置情報を取得する位置取得部と、
前記ルートの走行中に画像を取得し、前記位置情報と対応付けて、前記画像を蓄積する撮影部と、
前記ルート情報と前記位置情報とを用いて、前記車両が前記ルートを外れたか否かを判断する判断部と、
前記判断部が前記ルートを外れたと判断した場合に、前記画像を前記サーバに送信する画像送信部とを具備し、
前記サーバは、
前記画像を受信するサーバ受信部と、
2以上の教師データを用いて機械学習の学習機能により取得された学習モデルに、受信した前記画像を入力し、悪路の度合いを示すスコアを出力させる悪路判定部とを具備する情報システム。
続きを表示(約 420 文字)
【請求項2】
前記サーバは、
時に関する条件である2以上の各時条件と対応付けて、異なる学習モデルを格納するサーバ格納部を、更に備え、
前記悪路判定部は、
前記2以上の学習モデルから、現在の時が満たす時条件に対応付く学習モデルを用いて、前記スコアを出力させる請求項1記載の情報システム。
【請求項3】
車両に用いる端末装置であって、
設定されたルートを特定するルート情報が格納される端末格納部と、
前記車両の位置を特定する位置情報を取得する位置取得部と、
前記ルートの走行中に画像を取得し、前記位置情報と対応付けて前記画像を蓄積する撮影部と、
前記ルート情報と前記位置情報とを用いて、前記車両が前記ルートを外れたか否かを判断する判断部と、
前記判断部が前記ルートを外れたと判断した場合に、前記画像を前記サーバに送信する画像送信部とを具備する端末装置。
発明の詳細な説明
【技術分野】
【0001】
本発明は、車両が走行するルートの問題点を画像で判定する技術に関するものである。
続きを表示(約 1,500 文字)
【背景技術】
【0002】
従来、車両に配置されるカメラで撮影された撮影画像を取得する取得部と、前記車両の走行中の異なる時点で撮影された複数の前記撮影画像を用いて特徴点の動きであるオプティカルフローを算出する算出部と、前記オプティカルフローの算出に用いた前記特徴点の動きを予測する予測部と、前記オプティカルフローと、前記予測部で予測された前記特徴点の動きとを比較して前記車両が通過した路面の悪路に関する判定を行う判定部と、を備える悪路検出装置があった(特許文献1参照)。
【先行技術文献】
【特許文献】
【0003】
特開2022-71562号公報
【発明の概要】
【発明が解決しようとする課題】
【0004】
特許文献1に開示する悪路検出装置は、道路の点検等を行う専門の車両に搭載して悪路の判定をする場合に適しているが、一般車両に搭載されたドライブレコーダーを活用して悪路判定をするのには、処理量も多く不適切である。
【0005】
ところで、ナビゲーションシステムが提供する目的地までの案内ルートは、渋滞や事故等を考慮して、これらを避けるようにした最適なルートが提供されていることが多い。にも拘わらず、ドライバーは、自己の判断で、案内ルートとは異なったルートを選択することがある。つまり、走行した案内ルートになんらかの問題点があったことが考えられる。従来技術においては、ドライバーが案内ルートとは異なったルートを選択したことを利用して、案内ルートの悪路判定ができなかった。
【課題を解決するための手段】
【0006】
本第一の発明の情報システムは、端末装置とサーバとを具備する情報システムであって、端末装置は、設定されたルートを特定するルート情報が格納される端末格納部と、車両の位置を特定する位置情報を取得する位置取得部と、ルートの走行中に画像を取得し、位置情報と対応付けて、画像を蓄積する撮影部と、ルート情報と位置情報とを用いて、車両がルートを外れたか否かを判断する判断部と、判断部がルートを外れたと判断した場合に、撮影部が蓄積した画像をサーバに送信する画像送信部とを具備し、サーバは、画像を受信するサーバ受信部と、2以上の教師データを用いて機械学習の学習機能により取得された学習モデルに、受信した前記画像を入力し、悪路の度合いを示すスコアを出力させる悪路判定部とを具備する情報システムである。
【0007】
かかる構成により、ドライバーが案内ルートとは異なったルートを選択したことを利用して、走行したルートの悪路の度合いを示すスコアを取得できる。
【0008】
また、本第二の発明の情報システムは、第一の発明に対して、
サーバは、時に関する条件である2以上の各時条件と対応付けて、異なる学習モデルを格納するサーバ格納部を、更に備え、悪路判定部は、2以上の学習モデルから、現在の時が満たす時条件に対応付く学習モデルを用いて、スコアを出力させる情報システムである。
【0009】
かかる構成により、ドライバーが案内ルートとは異なったルートを選択したことを利用して、案内ルートのより適切なスコアを取得できる。
【発明の効果】
【0010】
本発明による情報システムによれば、ドライバーが案内ルートとは異なったルートを選択したことを利用して、案内ルートのスコアを取得できる。
【図面の簡単な説明】
(【0011】以降は省略されています)
この特許をJ-PlatPat(特許庁公式サイト)で参照する
関連特許
株式会社 ミックウェア
車内環境制御システム
25日前
株式会社 ミックウェア
情報システム、端末装置
2日前
株式会社 ミックウェア
情報処理装置、移動端末
16日前
株式会社 ミックウェア
サーバ装置およびプログラム
1日前
株式会社 ミックウェア
検索装置、およびユーザ端末
24日前
株式会社 ミックウェア
方位映像表示装置およびプログラム
23日前
個人
詐欺保険
25日前
個人
縁伊達ポイン
25日前
個人
RFタグシート
12日前
個人
5掛けポイント
1日前
個人
地球保全システム
1か月前
個人
ペルソナ認証方式
9日前
個人
QRコードの彩色
29日前
個人
自動調理装置
11日前
個人
情報処理装置
4日前
個人
冷凍食品輸出支援構造
2か月前
個人
為替ポイント伊達夢貯
2か月前
個人
農作物用途分配システム
24日前
個人
残土処理システム
1か月前
個人
表変換編集支援システム
1か月前
個人
知的財産出願支援システム
1か月前
個人
インターネットの利用構造
8日前
個人
タッチパネル操作指代替具
18日前
個人
知財出願支援AIシステム
2か月前
個人
携帯端末障害問合せシステム
17日前
個人
行動時間管理システム
2か月前
個人
AIによる情報の売買の仲介
2か月前
個人
パスワード管理支援システム
1か月前
個人
スケジュール調整プログラム
17日前
個人
食品レシピ生成システム
1か月前
株式会社アジラ
進入判定装置
2か月前
個人
システム及びプログラム
1か月前
株式会社キーエンス
受発注システム
1か月前
個人
エリアガイドナビAIシステム
9日前
株式会社キーエンス
受発注システム
1か月前
個人
海外支援型農作物活用システム
1か月前
続きを見る
他の特許を見る