TOP
|
特許
|
意匠
|
商標
特許ウォッチ
Twitter
他の特許を見る
公開番号
2025166987
公報種別
公開特許公報(A)
公開日
2025-11-07
出願番号
2024071214
出願日
2024-04-25
発明の名称
情報処理装置及び情報処理装置起動方法
出願人
日立ヴァンタラ株式会社
代理人
弁理士法人ウィルフォート国際特許事務所
主分類
G06F
21/51 20130101AFI20251030BHJP(計算;計数)
要約
【課題】情報処理装置の起動時におけるソフトウェアイメージの検証に失敗した場合に、容易且つ適切に情報処理装置を起動させることができるようにする。
【解決手段】情報処理装置1において、それぞれのコントローラ10-1,10-2は、CPU20と、FPGA30と、SPI ROM40,50とを備え、SPI ROM50はSPI ROMイメージ51を格納し、SPI ROM40は、電子署名及び公開鍵42を記憶し、それぞれのコントローラ10-1,10-2のFPGA30-1,30-2を、情報処理装置1の起動時に、電子署名及び公開鍵を取得し、SPI ROMイメージ51の改ざんの有無を検証し、改ざんがあることを検知したコントローラ10-1のFPGA30-1は、改ざんがないと検知されたコントローラ10-2のFPGA30-2を介してSPI ROMイメージを取得し、CPU20-1の動作を開始させるように構成する。
【選択図】図1
特許請求の範囲
【請求項1】
複数の制御装置を有する情報処理装置であって、
それぞれの前記制御装置は、
プロセッサと、処理回路と、第1記憶装置と、第2記憶装置とを備え、
第2記憶装置は、前記プロセッサにより実行させるソフトウェアイメージを格納し、
第1記憶装置は、前記ソフトウェアイメージの改ざんの有無を検証するための電子署名及び公開鍵を記憶し、
それぞれの制御装置の前記処理回路は、
前記情報処理装置の起動時に、前記第1記憶装置から前記電子署名及び公開鍵を取得し、
前記第2記憶装置に記憶された前記ソフトウェアイメージの改ざんの有無を検証し、
前記ソフトウェアイメージに改ざんがあることを検知した第1制御装置の第1処理回路は、
前記ソフトウェアイメージに改ざんがないと検知された第2制御装置の第2処理回路を介してソフトウェアイメージを取得し、
取得した前記ソフトウェアイメージにより前記第1制御装置の前記プロセッサの動作を開始させる
情報処理装置。
続きを表示(約 1,600 文字)
【請求項2】
前記第1処理回路は、前記第2制御装置の前記第2処理回路を介して取得した前記ソフトウェアイメージを前記第1制御装置の前記第2記憶装置に格納する
請求項1に記載の情報処理装置。
【請求項3】
前記第1処理回路は、
前記第2制御装置の前記第2処理回路を介して取得したソフトウェアイメージの改ざんの有無を検証し、
前記ソフトウェアイメージに改ざんがないことを検知した場合に、取得した前記ソフトウェアイメージにより前記第1制御装置の前記プロセッサの動作を開始させる
請求項1に記載の情報処理装置。
【請求項4】
前記第1処理回路は、
前記第2処理回路を介して前記第2制御装置の前記第1記憶装置に格納されている電子署名及び公開鍵を取得し、
前記第2処理回路を介して取得した前記電子署名及び公開鍵を用いて、前記ソフトウェアイメージの改ざんの有無を検証し、
前記ソフトウェアイメージに改ざんがないことを検知した場合に、前記ソフトウェアイメージにより前記第1制御装置の前記プロセッサの動作を開始させる
請求項3に記載の情報処理装置。
【請求項5】
前記第1処理回路と、前記第2処理回路とは、通信可能に直接接続されている
請求項1に記載の情報処理装置。
【請求項6】
前記第2制御装置の前記第2記憶装置の前記ソフトウェアイメージの格納領域は、前記第1制御装置の前記プロセッサがアクセス不能な領域である
請求項1に記載の情報処理装置。
【請求項7】
前記ソフトウェアイメージに改ざんがあることを検証した前記第1制御装置の第1処理回路は、
前記第2制御装置における前記ソフトウェアイメージの改ざんの有無の検証が終わるまで待機し、前記ソフトウェアイメージに改ざんがないと検知された場合に、前記第2制御装置の第2処理回路を介して前記ソフトウェアイメージを取得する
請求項1に記載の情報処理装置。
【請求項8】
前記ソフトウェアイメージに改ざんがあることを検知した前記第1制御装置の第1処理回路は、
前記第2制御装置における前記ソフトウェアイメージにより前記プロセッサの動作を開始したことを示す情報を記憶する
請求項1に記載の情報処理装置。
【請求項9】
前記処理回路は、FPGA(Field Programmable Gate Array)であり、
前記第1記憶装置は、前記FPGAの回路を構築させるデータを記憶する
請求項1に記載の情報処理装置。
【請求項10】
複数の制御装置を有する情報処理装置による情報処理装置起動方法であって、
それぞれの前記制御装置は、
プロセッサと、処理回路と、第1記憶装置と、第2記憶装置とを備え、
第2記憶装置は、前記プロセッサにより実行させるソフトウェアイメージを格納し、
第1記憶装置は、前記ソフトウェアイメージの改ざんの有無を検証するための電子署名及び公開鍵を記憶し、
それぞれの制御装置の前記処理回路は、
前記情報処理装置の起動時に、前記第1記憶装置から前記電子署名及び公開鍵を取得し、
前記第2記憶装置に記憶された前記ソフトウェアイメージの改ざんの有無を検証し、
前記ソフトウェアイメージに改ざんがあることを検知した第1制御装置の第1処理回路は、
前記ソフトウェアイメージに改ざんがないと検知された第2制御装置における第2処理回路を介してソフトウェアイメージを取得し、
取得した前記ソフトウェアイメージにより前記第1制御装置の前記プロセッサの動作を開始させる
情報処理装置起動方法。
発明の詳細な説明
【技術分野】
【0001】
本発明は、情報処理装置を安全に起動させる技術に関する。
続きを表示(約 1,700 文字)
【背景技術】
【0002】
従来、情報処理装置を安全に起動させる技術として、ファームウェア等の改ざんの有無を検証し、改ざんがないことが検証できた場合に、情報処理装置を起動させるセキュアブートが知られている。例えば、ファームウェアの改ざんが検出されてセキュアブートが失敗した場合には、情報処理装置を起動できない状態となる。このようにセキュアブートが失敗した場合には、情報処理装置において装置交換や、特別な治具等を使用した復旧操作が必要となり、復旧までに長時間を要してしまう。
【0003】
これに対して、特許文献1には、コンピュータシステムに第1コントローラと、第2コントローラとを備え、第1コントローラにより第2コントローラにファームウェアイメージを書き込み、書き込まれたファームウェアイメージの安全性を検証することのできる技術が開示されている。
【先行技術文献】
【特許文献】
【0004】
米国特許第10740468号明細書
【発明の概要】
【発明が解決しようとする課題】
【0005】
特許文献1に開示された技術においては、第1コントローラが、第2コントローラにファームウェアを書き込み、安全性を検証するので、第1コントローラ側に負荷がかかる。また、第1コントローラから第2コントローラへアクセスするための構成を用意しておかなければならない。
【0006】
本発明は、上記事情に鑑みなされたものであり、その目的は、情報処理装置の起動時におけるソフトウェアイメージの検証に失敗した場合に、容易且つ適切に情報処理装置を起動させることのできる技術を提供することにある。
【課題を解決するための手段】
【0007】
上記目的を達成するため、一観点に係る情報処理装置は、複数の制御装置を有する情報処理装置であって、それぞれの前記制御装置は、プロセッサと、処理回路と、第1記憶装置と、第2記憶装置とを備え、第2記憶装置は、前記プロセッサにより実行させるソフトウェアイメージを格納し、第1記憶装置は、前記ソフトウェアイメージの改ざんの有無を検証するための電子署名及び公開鍵を記憶し、それぞれの制御装置の前記処理回路は、前記情報処理装置の起動時に、前記第1記憶装置から前記電子署名及び公開鍵を取得し、前記第2記憶装置に記憶された前記ソフトウェアイメージの改ざんの有無を検証し、前記ソフトウェアイメージに改ざんがあることを検知した第1制御装置の第1処理回路は、前記ソフトウェアイメージに改ざんがないと検知された第2制御装置の第2処理回路を介してソフトウェアイメージを取得し、取得した前記ソフトウェアイメージにより前記第1制御装置の前記プロセッサの動作を開始させる。
【発明の効果】
【0008】
本発明によれば、情報処理装置の起動時におけるソフトウェアイメージの検証に失敗した場合に、容易且つ適切に情報処理装置を起動させることができる。
【図面の簡単な説明】
【0009】
図1は、一実施形態に係る情報処理装置の全体構成図である。
図2は、一実施形態に係るセキュアブート状態テーブルを説明する図である。
図3は、一実施形態に係るFPGA間接続状態テーブルを説明する図である。
図4は、一実施形態に係る復旧履歴テーブルを説明する図である。
図5は、一実施形態に係るリカバリ管理テーブルの構成図である。
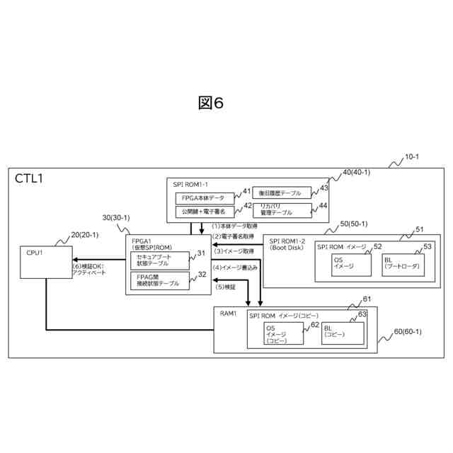
図6は、一実施形態に係る起動処理の第1の動作遷移図である。
図7は、一実施形態に係る起動処理の第2の動作遷移図である。
図8は、一実施形態に係る起動処理のフローチャートである。
【発明を実施するための形態】
【0010】
実施形態について、図面を参照して説明する。なお、以下に説明する実施形態は特許請求の範囲に係る発明を限定するものではなく、また実施形態の中で説明されている諸要素及びその組み合わせの全てが発明の解決手段に必須であるとは限らない。
(【0011】以降は省略されています)
この特許をJ-PlatPat(特許庁公式サイト)で参照する
関連特許
日立ヴァンタラ株式会社
データ転送装置及び方法
1か月前
日立ヴァンタラ株式会社
ストレージ装置及びその制御方法
2日前
日立ヴァンタラ株式会社
情報処理装置及び情報処理装置起動方法
21日前
日立ヴァンタラ株式会社
計算機システム及びストレージ管理方法
1か月前
日立ヴァンタラ株式会社
計算機システム及びバックアップ管理方法
1日前
日立ヴァンタラ株式会社
ストレージシステム及びコマンド実行方法
29日前
日立ヴァンタラ株式会社
管理装置、管理方法、および管理プログラム
2日前
日立ヴァンタラ株式会社
ストレージシステム、及びストレージ制御方法
29日前
日立ヴァンタラ株式会社
ストレージシステム及びストレージシステムの制御方法
29日前
日立ヴァンタラ株式会社
ストレージシステム及びストレージシステムにおけるボリュームパス切替方法
今日
日立ヴァンタラ株式会社
システム構成提案装置、システム構成提案方法、及びシステム構成提案プログラム
11日前
個人
詐欺保険
1か月前
個人
縁伊達ポイン
1か月前
個人
RFタグシート
1か月前
個人
職業自動販売機
14日前
個人
5掛けポイント
21日前
個人
QRコードの彩色
1か月前
個人
ペルソナ認証方式
29日前
個人
情報処理装置
24日前
個人
自動調理装置
1か月前
個人
農作物用途分配システム
1か月前
個人
インターネットの利用構造
28日前
個人
タッチパネル操作指代替具
1か月前
個人
サービス情報提供システム
16日前
個人
携帯端末障害問合せシステム
1か月前
個人
スケジュール調整プログラム
1か月前
個人
エリアガイドナビAIシステム
29日前
トヨタ自動車株式会社
通知装置
1か月前
株式会社ワコム
電子ペン
23日前
キヤノン株式会社
画像認識装置
8日前
キヤノン株式会社
情報処理装置
22日前
キヤノン株式会社
情報処理装置
8日前
キヤノン株式会社
印刷システム
1か月前
エッグス株式会社
情報処理装置
1か月前
株式会社ワコム
電子ペン
23日前
株式会社ケアコム
項目選択装置
24日前
続きを見る
他の特許を見る