TOP
|
特許
|
意匠
|
商標
特許ウォッチ
Twitter
他の特許を見る
10個以上の画像は省略されています。
公開番号
2025166659
公報種別
公開特許公報(A)
公開日
2025-11-06
出願番号
2024070835
出願日
2024-04-24
発明の名称
半導体装置とその製造方法
出願人
日清紡マイクロデバイス株式会社
代理人
個人
,
個人
主分類
H01L
21/768 20060101AFI20251029BHJP(基本的電気素子)
要約
【課題】密領域に存在する線幅が細く、周辺から孤立した導体パターンを配置する場合でも、CMP処理後に消失することなく、粗密領域の導体上の絶縁膜厚を均一にすることができる。
【解決手段】半導体装置は、基板上に、素子及び第1の導体間間隔で形成された複数の第1の導体が形成された密領域と、孤立した第2の導体が形成され、又は第1の導体間間隔よりも広い第2の導体間間隔で形成された少なくとも1個の第2の導体が形成された粗領域と、密領域及び粗領域を被覆する絶縁膜とを有する。半導体装置の製造方法は、密領域上の絶縁膜の一部をエッチングすることで、密領域上において絶縁膜の第1の凸部を形成し、粗領域上に絶縁膜の第2の凸部を形成するステップと、次いで、第1の凸部と第2の凸部とを含む絶縁膜の平面を平坦化するステップとを含む。
【選択図】図6
特許請求の範囲
【請求項1】
基板上に、素子と、第1の導体間間隔で形成された複数の第1の導体とが形成された密領域と、
前記基板上に、孤立した第2の導体が形成され、もしくは第1の導体間間隔よりも広い第2の導体間間隔で形成された少なくとも1個の第2の導体が形成された粗領域と、
前記密領域及び前記粗領域を被覆する絶縁膜とを有する半導体装置の製造方法であって、
前記密領域上の絶縁膜の一部をエッチングすることで、前記密領域上において前記絶縁膜の第1の凸部を形成し、前記粗領域上に前記絶縁膜の第2の凸部を形成するステップと、
次いで、前記第1の凸部と前記第2の凸部とを含む絶縁膜の平面を平坦化するステップと、
を含む半導体装置の製造方法。
続きを表示(約 1,200 文字)
【請求項2】
前記密領域の絶縁膜は第1の凹部を有し、
前記粗領域の絶縁膜は第2の凹部を有し、
前記第2の凹部の絶縁膜の膜厚は、前記第1の凹部の絶縁膜の膜厚よりも薄い、
請求項1に記載の半導体装置の製造方法。
【請求項3】
前記第2の凹部の絶縁膜の膜厚、及び前記第1の凹部の絶縁膜の膜厚は、前記第1の導体及び前記第2の導体の各導体厚よりも厚い、
請求項2に記載の半導体装置の製造方法。
【請求項4】
前記第1の凸部と前記第2の凸部とを形成するステップは、前記密領域上の絶縁膜の一部をエッチングすることで、前記第1の導体上において、エッチング部を形成することを含み、
前記エッチング部の絶縁膜の膜厚は、前記第2の凹部の絶縁膜の膜厚よりも厚い、
請求項2又は3に記載の半導体装置の製造方法。
【請求項5】
前記エッチング部の絶縁膜の膜厚は、前記第1の凹部の絶縁膜の膜厚よりも厚い、
請求項4に記載の半導体装置の製造方法。
【請求項6】
前記第1の凸部と前記第2の凸部とを形成するステップは、前記第1の導体及び前記第2の導体の各幅及び長手方向の各長さから内側の所定のオーバーラップ幅を有する導体パターン反転用マスクを用いて、前記密領域上の絶縁膜の一部をエッチングすることを含む、
請求項1又は2に記載の半導体装置の製造方法。
【請求項7】
前記第1の導体及び前記第2の導体が前記オーバーラップ幅の所定倍よりも小さい幅又は長手方向の長さを有するとき、前記導体パターン反転用マスクは前記オーバーラップ幅を有しない、
請求項6に記載の半導体装置の製造方法。
【請求項8】
前記第1の導体は前記第1の導体の長手方向に直交する方向に延在する導体延在部を有し、
前記第1の凸部と前記第2の凸部とを形成するステップは、前記導体延在部の幅及び長手方向の長さから内側の前記オーバーラップ幅を有する導体パターン反転用マスクを用いて、前記密領域上の絶縁膜の一部をエッチングすることを含む、
請求項6に記載の半導体装置の製造方法。
【請求項9】
前記導体延在部が前記オーバーラップ幅の所定倍よりも小さい幅又は長手方向の長さを有するとき、前記導体パターン反転用マスクは前記オーバーラップ幅を有しない、
請求項8に記載の半導体装置の製造方法。
【請求項10】
前記第1の導体は導体結合部により結合された少なくとも2個の導体部を含み、
前記第1の凸部と前記第2の凸部とを形成するステップは、前記導体結合部の幅から内側の前記オーバーラップ幅を有する導体パターン反転用マスクを用いて、前記密領域上の絶縁膜の一部をエッチングすることを含む、
請求項6に記載の半導体装置の製造方法。
(【請求項11】以降は省略されています)
発明の詳細な説明
【技術分野】
【0001】
本発明は、半導体装置とその製造方法に関する。
続きを表示(約 2,000 文字)
【背景技術】
【0002】
例えば光電変換素子である撮像素子を備えた固体撮像装置などの半導体装置の金属配線上に成膜された絶縁膜の平坦化方法として、一般的にCMP(Chemical Mechanical Polishing(化学的機械的研磨))法が用いられている。CMP法では、研磨PAD上にスラリー(研磨剤)を塗布し、ウェハ表面を研磨パッドに押し付けて回転させることで絶縁膜を研磨する。
【0003】
図23は従来例に係る半導体装置におけるパターン形状依存の一例を示す、CMP処理前の概略断面図であり、図24は図23の半導体装置におけるパターン形状依存の一例を示す、CMP処理後の概略断面図である。また、図25は図23の半導体装置におけるパターン形状依存の発生メカニズムの一例を示す概略断面図である。
【0004】
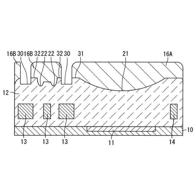
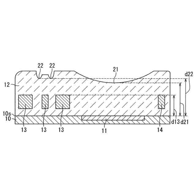
図23において、例えばSi基板である半導体基板10上に光電変換素子11が形成され、配線用導体13,14が形成された後、絶縁膜12が形成される。その後、図25に示すように、形成された半導体装置の表面を研磨パッド15に応力Fで押さえながら研磨を行う。ここで、絶縁膜12には、導体13,14のパターンに沿って凹部51,52ができており、研磨パッド15はある程度の柔らかさがあるため、研磨パッド15はパターン凸部が強く当たる。その結果、パターン凸部は優先的に研磨され、平坦化が進むことから、CMP方法を用いた製造方法において、パターン形状の依存性をもち、金属配線パターンの粗密により、半導体チップ内の平坦部53,54間で膜厚差が発生する。なお、図23~図25において、1は導体13が密集して導体13間の間隔が所定値よりも狭い密領域であり、2は導体14が密集しておらず孤立して導体14間の間隔が所定値よりも広い粗領域である。すなわち、導体13間の間隔は導体14間の間隔よりも狭い。
【0005】
ここで、絶縁膜12が薄くなり導体13,14が露出するとCMP処理後の洗浄工程により、薬液による導体13,14が消失する恐れがあることから、一定の厚さの絶縁膜12が必要である。一方で、絶縁膜12が厚くなり過ぎると、CMP処理後のコンタクト形成工程での、スルーホールのエッチング加工が困難になる。
【0006】
例えば特許文献1の図4において、一般的なダミーメタルの配置例が開示され、特許文献1の図1において、粗領域に光電変換素子がある場合のダミーメタルの配置例が開示されている。従来は、金属配線の導体上の絶縁膜厚を均一にする方法として、導体パターンの粗領域にダミーメタルを配置し、粗密差を軽減している。ただし、粗領域に受光素子などの光電変換素子が存在する場合は、絶縁膜上にダミーメタルを配置した後、絶縁膜を被覆することで、金属配線上の絶縁膜厚を均一にしている。
【0007】
また、例えば特許文献2の図1~図2において、ダミーメタルを配置しない例が開示されている。ここでは、光電変換素子が存在する撮像領域外の周辺回路領域に設けられたオプティカルブラック(遮光パターン)領域が存在する構造に対して、レジストを用いて、撮像領域上のパターンがエッチングされず、かつオプティカルブラック上の絶縁膜の一部をエッチングし、その後、CMP処理によって絶縁膜を平坦化している。
【先行技術文献】
【特許文献】
【0008】
特許第4961232号公報
特許第5704811号公報
【発明の概要】
【発明が解決しようとする課題】
【0009】
上記のような光電変換素子部を被覆した絶縁膜上にダミーメタルを配置して、メタルパターンを被覆する絶縁膜を平坦化する方法では、粗密領域の絶縁膜厚差が大きくなるという問題は回避できるが、光電変換素子部の上方のダミーメタル、及び、絶縁膜のそれぞれを選択的に除去するプロセス工程が追加となり、その結果、製造コストが増大するという問題点があった。
【0010】
また、ダミーメタルを配置せずに、光電変換素子が存在する粗領域外の周辺回路が存在する密領域上にレジストを用いて、粗領域上のパターンがエッチングされず、かつ密領域上の絶縁膜の一部をエッチングし、その後、CMP処理によって絶縁膜を平坦化する方法では、密領域の金属配線の線幅が細く、周辺から孤立したパターン上の絶縁膜においては、密領域であるためレジストが存在しないため、エッチング工程にてエッチングされ、その後のCMP処理による絶縁膜の平坦化工程にて線幅が細く、周辺から孤立したパターンの金属配線が消失するという問題点があった。
(【0011】以降は省略されています)
この特許をJ-PlatPat(特許庁公式サイト)で参照する
関連特許
東ソー株式会社
絶縁電線
17日前
APB株式会社
蓄電セル
15日前
個人
フレキシブル電気化学素子
29日前
日新イオン機器株式会社
イオン源
25日前
ローム株式会社
半導体装置
1か月前
株式会社ユーシン
操作装置
29日前
マクセル株式会社
電源装置
9日前
ローム株式会社
半導体装置
1か月前
株式会社東芝
端子台
9日前
ローム株式会社
半導体装置
16日前
太陽誘電株式会社
コイル部品
29日前
オムロン株式会社
電磁継電器
1か月前
株式会社GSユアサ
蓄電装置
10日前
株式会社GSユアサ
蓄電装置
10日前
株式会社GSユアサ
蓄電装置
2日前
太陽誘電株式会社
全固体電池
1か月前
株式会社GSユアサ
蓄電設備
29日前
株式会社GSユアサ
蓄電設備
29日前
株式会社ホロン
冷陰極電子源
23日前
トヨタ自動車株式会社
バッテリ
15日前
トヨタ自動車株式会社
バッテリ
1か月前
日東電工株式会社
積層体
1か月前
日本特殊陶業株式会社
保持装置
18日前
ノリタケ株式会社
熱伝導シート
29日前
北道電設株式会社
配電具カバー
15日前
日新イオン機器株式会社
基板処理装置
12日前
サクサ株式会社
電池の固定構造
29日前
トヨタ自動車株式会社
蓄電装置
10日前
トヨタ自動車株式会社
冷却構造
17日前
日本特殊陶業株式会社
保持装置
1日前
トヨタ自動車株式会社
蓄電装置
29日前
TDK株式会社
電子部品
1か月前
日本特殊陶業株式会社
保持装置
1か月前
日本特殊陶業株式会社
保持装置
1か月前
ローム株式会社
半導体装置
1か月前
住友電装株式会社
コネクタ
17日前
続きを見る
他の特許を見る