TOP
|
特許
|
意匠
|
商標
特許ウォッチ
Twitter
他の特許を見る
10個以上の画像は省略されています。
公開番号
2025166591
公報種別
公開特許公報(A)
公開日
2025-11-06
出願番号
2024070719
出願日
2024-04-24
発明の名称
螺旋状伸縮装置
出願人
トヨタ自動車株式会社
代理人
弁理士法人酒井国際特許事務所
主分類
F16H
19/04 20060101AFI20251029BHJP(機械要素または単位;機械または装置の効果的機能を生じ維持するための一般的手段)
要約
【課題】筒状構造体を構成する際に二枚の帯材が作動不良を起こすことを抑制するとともに帯材の耐久性を向上させること。
【解決手段】螺旋状伸縮装置は、第1嵌合構造を有する第1帯材と、第1嵌合構造が嵌合する第2嵌合構造を有する第2帯材と、第1帯材と第2帯材とを螺旋状に案内する案内構造を有し、第1帯材と第2帯材とが共通の軸線周りに軸線方向にずれた位置で螺旋状にそれぞれ巻き回されて第1嵌合構造が第2嵌合構造に嵌合してなる筒状構造体を構成させるとともに保持する帯材案内装置と、を備え、案内構造は、第1案内面を形成する第1案内部材と、第2案内面を形成する第2案内部材と、を有し、第1案内部材の外径は、第1嵌合構造が第2嵌合構造に嵌合する嵌合開始点から螺旋溝の下端までの軸線方向範囲における外径が、嵌合開始点よりも上方側の外径よりも大きく形成されている。
【選択図】図5
特許請求の範囲
【請求項1】
第1嵌合構造を有する第1帯材と、
前記第1嵌合構造が嵌合可能に構成された第2嵌合構造を有する第2帯材と、
前記第1帯材と前記第2帯材とを螺旋状に案内する案内構造を有し、前記案内構造によって、前記第1帯材と前記第2帯材とが共通の軸線周りに軸線方向にずれた位置で螺旋状にそれぞれ巻き回されて前記第1帯材の内面と前記第2帯材の外面とが軸線方向に部分的に重なる状態で前記第1嵌合構造が前記第2嵌合構造に嵌合してなる筒状構造体を構成させるとともに保持する帯材案内装置と、
を備え、
前記帯材案内装置は、前記第1帯材と前記第2帯材とについて、前記筒状構造体を構成する筒状態と前記第1帯材と前記第2帯材とが分離された分離状態との間を移行させることが可能であり、
前記案内構造は、
前記第1帯材および前記第2帯材が巻回される円筒状の内側案内面と、
前記内側案内面に形成され、前記第2嵌合構造が嵌合する案内溝と、
前記内側案内面のうちの下方の案内面である第1案内面を形成する第1案内部材と、
前記内側案内面のうちの上方の案内面である第2案内面を形成する第2案内部材と、を有し、
前記第1案内部材は、前記第1案内面に螺旋状の前記案内溝である螺旋溝が形成された回転部材であり、
前記第2案内部材は、前記第1案内部材の上方に配置され、前記第2案内面に軸線方向に沿った直線状の前記案内溝である直線溝が形成された固定部材であり、
前記第1案内部材の外径は、前記第1嵌合構造が前記第2嵌合構造に嵌合する嵌合開始点から前記螺旋溝の下端までの軸線方向範囲における外径が、前記嵌合開始点よりも上方側の外径よりも大きく形成されている
ことを特徴とする螺旋状伸縮装置。
続きを表示(約 160 文字)
【請求項2】
前記第2案内部材の軸線方向長さは、前記螺旋溝のリードにおける3/2リード以上の長さである
ことを特徴とする請求項1に記載の螺旋状伸縮装置。
【請求項3】
前記螺旋溝は、第1螺旋溝と第2螺旋溝とからなる二条の螺旋溝である
ことを特徴とする請求項2に記載の螺旋状伸縮装置。
発明の詳細な説明
【技術分野】
【0001】
本発明は、螺旋状伸縮装置に関する。
続きを表示(約 1,900 文字)
【背景技術】
【0002】
特許文献1には、嵌合構造を有する二枚の帯材を螺旋状に巻き付けて相互に嵌合させることにより筒状構造体を構成するとともに筒状構造体を保持する螺旋状伸縮装置が開示されている。
【先行技術文献】
【特許文献】
【0003】
特開2007-192257号公報
【発明の概要】
【発明が解決しようとする課題】
【0004】
特許文献1に記載の構成では、筒状構造体の上端側から筒状構造体に曲げモーメントが作用する場合がある。曲げモーメントによって筒状構造体が傾くと、内側の帯材と外側の帯材との嵌合が不安定になるとともに内側の帯材と案内部材との嵌合が不安定になり、帯材が作動不良を起こしてしまう。また、二枚の帯材の嵌合がずれると、筒状構造体において応力の偏りが生じ、帯材の耐久性が低下する虞がある。
【0005】
本発明は、上記事情に鑑みてなされたものであって、筒状構造体を構成する際に二枚の帯材が作動不良を起こすことを抑制するとともに帯材の耐久性を向上させることができる螺旋状伸縮装置を提供することを目的とする。
【課題を解決するための手段】
【0006】
本発明に係る螺旋状伸縮装置は、第1嵌合構造を有する第1帯材と、前記第1嵌合構造が嵌合可能に構成された第2嵌合構造を有する第2帯材と、前記第1帯材と前記第2帯材とを螺旋状に案内する案内構造を有し、前記案内構造によって、前記第1帯材と前記第2帯材とが共通の軸線周りに軸線方向にずれた位置で螺旋状にそれぞれ巻き回されて前記第1帯材の内面と前記第2帯材の外面とが軸線方向に部分的に重なる状態で前記第1嵌合構造が前記第2嵌合構造に嵌合してなる筒状構造体を構成させるとともに保持する帯材案内装置と、を備え、前記帯材案内装置は、前記第1帯材と前記第2帯材とについて、前記筒状構造体を構成する筒状態と前記第1帯材と前記第2帯材とが分離された分離状態との間を移行させることが可能であり、前記案内構造は、前記第1帯材および前記第2帯材が巻回される円筒状の内側案内面と、前記内側案内面に形成され、前記第2嵌合構造が嵌合する案内溝と、前記内側案内面のうちの下方の案内面である第1案内面を形成する第1案内部材と、前記内側案内面のうちの上方の案内面である第2案内面を形成する第2案内部材と、を有し、前記第1案内部材は、前記第1案内面に螺旋状の前記案内溝である螺旋溝が形成された回転部材であり、前記第2案内部材は、前記第1案内部材の上方に配置され、前記第2案内面に軸線方向に沿った直線状の前記案内溝である直線溝が形成された固定部材であり、前記第1案内部材の外径は、前記第1嵌合構造が前記第2嵌合構造に嵌合する嵌合開始点から前記螺旋溝の下端までの軸線方向範囲における外径が、前記嵌合開始点よりも上方側の外径よりも大きく形成されていることを特徴とする。
【発明の効果】
【0007】
本発明では、筒状構造体を構成する際に二枚の帯材が作動不良を起こすことを抑制するとともに帯材の耐久性を向上させることができる。
【図面の簡単な説明】
【0008】
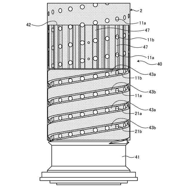
実施形態における螺旋状伸縮装置を模式的に示す図である。
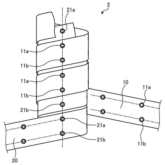
第1帯材と第2帯材とからなる螺旋状の筒状構造体を説明するための図である。
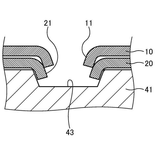
第1嵌合構造と第2嵌合構造と案内溝との嵌合状態を説明するための図である。
螺旋状伸縮装置の詳細構造を説明するための図である。
内側案内部材の詳細構造を説明するための図である。
図5のA矢視を示す図である。
図4のB-B線断面を示す図である。
筒状構造体の伸縮動作を説明するための図である。
第1案内部材の外径を説明するための図である。
変形例における螺旋状伸縮装置を説明するための図である。
【0009】
以下、本発明の実施形態における螺旋状伸縮装置について具体的に説明する。なお、本発明は、以下に説明する実施形態に限定されるものではない。
【0010】
図1は、実施形態における螺旋状伸縮装置を模式的に示す図である。螺旋状伸縮装置1は、第1帯材10と第2帯材20とからなる螺旋状の筒状構造体2を軸線方向に伸縮させる装置である。螺旋状伸縮装置1は、第1帯材10と、第2帯材20と、帯材案内装置30と、を備える。
(【0011】以降は省略されています)
この特許をJ-PlatPat(特許庁公式サイト)で参照する
関連特許
トヨタ自動車株式会社
車両
18日前
トヨタ自動車株式会社
車両
4日前
トヨタ自動車株式会社
車両
19日前
トヨタ自動車株式会社
方法
3日前
トヨタ自動車株式会社
電池
10日前
トヨタ自動車株式会社
電池
10日前
トヨタ自動車株式会社
電池
18日前
トヨタ自動車株式会社
電動車
18日前
トヨタ自動車株式会社
電動車
19日前
トヨタ自動車株式会社
タンク
3日前
トヨタ自動車株式会社
蓄電装置
10日前
トヨタ自動車株式会社
制御装置
3日前
トヨタ自動車株式会社
蓄電装置
11日前
トヨタ自動車株式会社
蓄電装置
11日前
トヨタ自動車株式会社
蓄電装置
10日前
トヨタ自動車株式会社
蓄電装置
10日前
トヨタ自動車株式会社
塗工装置
10日前
トヨタ自動車株式会社
蓄電装置
10日前
トヨタ自動車株式会社
蓄電装置
10日前
トヨタ自動車株式会社
判定装置
18日前
トヨタ自動車株式会社
制御装置
10日前
トヨタ自動車株式会社
蓄電装置
10日前
トヨタ自動車株式会社
蓄電装置
10日前
トヨタ自動車株式会社
蓄電装置
10日前
トヨタ自動車株式会社
蓄電装置
10日前
トヨタ自動車株式会社
蓄電装置
10日前
トヨタ自動車株式会社
蓄電装置
10日前
トヨタ自動車株式会社
蓄電装置
10日前
トヨタ自動車株式会社
車両装置
10日前
トヨタ自動車株式会社
処理装置
10日前
トヨタ自動車株式会社
制御装置
18日前
トヨタ自動車株式会社
蓄電装置
10日前
トヨタ自動車株式会社
エンジン
18日前
トヨタ自動車株式会社
制御装置
19日前
トヨタ自動車株式会社
制御装置
19日前
トヨタ自動車株式会社
エンジン
10日前
続きを見る
他の特許を見る