TOP
|
特許
|
意匠
|
商標
特許ウォッチ
Twitter
他の特許を見る
10個以上の画像は省略されています。
公開番号
2025166413
公報種別
公開特許公報(A)
公開日
2025-11-06
出願番号
2024070427
出願日
2024-04-24
発明の名称
記録装置及びその制御方法
出願人
キヤノン株式会社
代理人
弁理士法人秀和特許事務所
主分類
B41J
11/42 20060101AFI20251029BHJP(印刷;線画機;タイプライター;スタンプ)
要約
【課題】シートのつなぎ目が検知された場合にシートを搬送する記録装置において損紙の量を削減する。
【解決手段】第1搬送手段とそれより下流側の第2搬送手段とによりロールから供給されるシートを搬送する。センサによってシートのつなぎ目であるスプライス部を検知しながら吐出前搬送量のシートを搬送し、吐出前搬送量のシートを搬送する間にスプライス部が検知されなかった場合に、ヘッドからシートに液体の吐出を開始する制御において、吐出前搬送量を変更する。
【選択図】図9
特許請求の範囲
【請求項1】
シートが巻かれたロールから供給されるシートに液体を吐出して画像の記録を行う記録装置であって、
シートを搬送方向に搬送する第1搬送手段と、
前記搬送方向における前記第1搬送手段の下流側に配され、シートを搬送する第2搬送手段と、
シートの搬送経路における前記第1搬送手段と前記第2搬送手段の間の位置においてシートに液体を吐出するヘッドと、
前記搬送方向における前記ヘッドの上流側の検知位置においてシートのつなぎ目であるスプライス部を検知するセンサと、
前記ヘッドによって液体の吐出を開始する前に、前記センサによってシートを検査しながら吐出前搬送量のシートを搬送し、前記吐出前搬送量のシートを搬送する間に前記センサによって前記スプライス部が検知されなかった場合に、前記ヘッドからシートに液体の吐出を開始する制御手段と、
を、備え、
前記制御手段は、前記吐出前搬送量を変更することを特徴とする記録装置。
続きを表示(約 1,300 文字)
【請求項2】
前記制御手段は、前記記録装置の起動後の初回の記録動作において、前記検知位置と前記第2搬送手段の位置との間の前記搬送経路に沿った距離である検知距離に基づいて前記吐出前搬送量を設定することを特徴とする請求項1に記載の記録装置。
【請求項3】
前記制御手段は、前記初回の記録動作の後の2回目以降の記録動作において、前記吐出前搬送量をゼロに設定する請求項2に記載の記録装置。
【請求項4】
前記第1搬送手段及び前記第2搬送手段は、ローラ対によってシートを挟持して搬送する請求項1~3のいずれか1項に記載の記録装置。
【請求項5】
前記搬送方向における前記第1搬送手段の上流側に、ロールからシートを供給する給紙部を有する請求項1~3のいずれか1項に記載の記録装置。
【請求項6】
前記搬送方向における前記第2搬送手段の下流側に、シートを巻き取る巻取部を有する請求項1~3のいずれか1項に記載の記録装置。
【請求項7】
前記搬送経路の少なくとも一部を内部に格納する筐体をさらに有し、
前記筐体は、開口と、前記開口を開閉可能なドアと、前記ドアの開閉を検知可能な開閉センサと、を有し、前記開口を介して前記筐体内の前記搬送経路のシートに対する操作が可能に構成され、
前記制御手段は、前記開閉センサによって前記ドアの開閉が検知された後の記録動作において、前記ドアが開いた状態でユーザが操作可能な前記筐体内のシートのうち前記搬送方向における最も上流側の位置と、前記第2搬送手段の位置と、の間の前記搬送経路に沿った距離であるドア対応距離に基づいて前記吐出前搬送量を設定する請求項1~3のいずれか1項に記載の記録装置。
【請求項8】
前記筐体は、前記搬送経路に沿って複数の前記開口及び前記ドアを有し、前記複数の開口の各々を介して前記筐体内の前記搬送経路の異なる位置におけるシートに対する操作が可能に構成され、
前記開閉センサは、前記複数のドアの各々の開閉を検知可能であり、
前記制御手段は、前記開閉センサによって前記複数のドアのうちいずれかのドアの開閉が検知された後の記録動作において、当該開閉が検知されたドアに対応する前記ドア対応
距離に基づいて前記吐出前搬送量を設定する請求項7に記載の記録装置。
【請求項9】
前記制御手段は、前記開閉センサによって前記複数のドアのうち2つ以上のドアの開閉が検知された後の記録動作において、当該開閉が検知された2つ以上のドアの各々に対応する前記ドア対応距離のうち最も長いものに基づいて前記吐出前搬送量を設定する請求項8に記載の記録装置。
【請求項10】
前記制御手段は、複数のドアのうち、ドアが開いた状態でユーザが操作可能な前記筐体内のシートの位置が前記搬送方向における前記検知位置の下流側にあるドアの開閉が前記開閉センサによって検知された後の記録動作に限り、前記ドア対応距離に基づく前記吐出前搬送量の設定を行う請求項8に記載の記録装置。
(【請求項11】以降は省略されています)
発明の詳細な説明
【技術分野】
【0001】
本発明はロール紙に記録を行う記録装置に関するものである。
続きを表示(約 2,400 文字)
【背景技術】
【0002】
ロールからシートを記録ヘッドに供給する給紙装置と、記録ヘッドで記録が行われたシートをロール状に巻き取る巻取装置と、を有する記録装置がある。このような記録装置では、スプライステープを用いて、シートの後端に新しいロールのシートの先端をつないだり、ジャム処理で不要部を除去した後、除去部の前後をつないだりするスプライスが行われる場合がある。スプライス部(つなぎ目)は他の部分より厚みがあり、シートの表面から凸になっている。そのため、スプライス部に対し記録が行われると記録ヘッドとスプライス部が干渉して記録ヘッドに損傷が生じる可能性がある。特許文献1に記載の技術では、シートの搬送経路上に光学センサを設け、シートにおけるつなぎ目を検知する。つなぎ目が検知された場合、記録ヘッドにキャップをして保護状態にするとともに、一定量のシートを搬送することで、つなぎ目に記録が行われ記録ヘッドが損傷することを回避する。
【先行技術文献】
【特許文献】
【0003】
特開2001-239715号公報
【発明の概要】
【発明が解決しようとする課題】
【0004】
スプライス部に記録が行われることを回避するためにシートの搬送を行うと、搬送された部分のシートは記録に用いることができない損紙となる。つなぎ目が検知されるたびに一定量のシートの搬送を行うと、損紙の量が増加する。
【0005】
本発明は、シートのつなぎ目が検知された場合にシートを搬送する記録装置において損紙の量を削減することを目的とする。
【課題を解決するための手段】
【0006】
本発明は、シートが巻かれたロールから供給されるシートに液体を吐出して画像の記録を行う記録装置であって、
シートを搬送方向に搬送する第1搬送手段と、
前記搬送方向における前記第1搬送手段の下流側に配され、シートを搬送する第2搬送手段と、
シートの搬送経路における前記第1搬送手段と前記第2搬送手段の間の位置においてシートに液体を吐出するヘッドと、
前記搬送方向における前記ヘッドの上流側の検知位置においてシートのつなぎ目であるスプライス部を検知するセンサと、
前記ヘッドによって液体の吐出を開始する前に、前記センサによってシートを検査しながら吐出前搬送量のシートを搬送し、前記吐出前搬送量のシートを搬送する間に前記センサによって前記スプライス部が検知されなかった場合に、前記ヘッドからシートに液体の吐出を開始する制御手段と、
を、備え、
前記制御手段は、前記吐出前搬送量を変更することを特徴とする記録装置である。
【発明の効果】
【0007】
本発明によれば、シートのつなぎ目が検知された場合にシートを搬送する記録装置にお
いて損紙の量を削減することができる。
【図面の簡単な説明】
【0008】
実施例の記録装置の構成を示す図である。
実施例の記録装置の制御ブロック図である。
実施例の記録装置の構成を示す図である。
実施例の記録装置の構成を示す図である。
実施例の記録制御を示すフローチャートである。
実施例の記録開始時処理を示すフローチャートである。
実施例の記録動作を示す図である。
実施例のジャム発生時処理を示すフローチャートである。
実施例のジャム発生時の記録動作を示す第1の図である。
実施例の待機時処理を示すフローチャートである。
実施例のジャム発生時の記録動作を示す第2の図である。
実施例のジャム発生時にユーザ操作による搬送をした場合を示す図である。
比較例1の記録動作を示す図である。
比較例1の記録開始時処理を示すフローチャートである。
比較例1のジャム発生時の記録動作を示す図である。
比較例2のジャム発生時の記録動作を示す図である。
実施例の記録装置の別構成を示す図である。
【発明を実施するための形態】
【0009】
以下、本発明を実施するための例示的な形態について、図面を参照しながら説明する。ただし、以下の実施例に記載されている構成部品の寸法、材質、形状、それらの相対的な配置等は、本発明が適用される装置の構成や各種条件により適宜変更されるべきものであり、本発明の範囲を以下の実施例に限定する趣旨のものではない。
【0010】
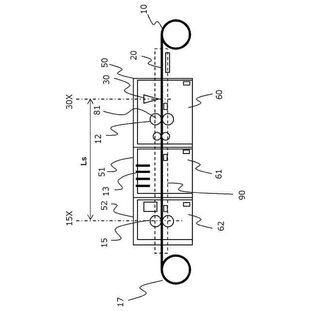
図1は、実施例の記録装置1(印刷装置)の構成を概念的に示す図である。記録装置1は、ロール21から供給されるシート20に液体を吐出して画像の記録を行う。記録装置1は、給紙装置10、主搬送部12及びサブ搬送部15、巻取装置17を有し、給紙装置10と巻取装置17の間にはシート20の張力制御のための不図示のダンサーローラも有する。主搬送部12は、ローラ対120のニップ部によってシート20を挟持して搬送方向18に搬送する第1搬送手段であり、サブ搬送部15は、ローラ対150のニップ部によってシート20を挟持して搬送方向18に搬送する第2搬送手段である。サブ搬送部15はシート20の搬送方向18における主搬送部12の下流側に配される。搬送方向18における主搬送部12の上流側に、ロール21からシート20を供給する給紙部である給紙装置10が設けられる。搬送方向18におけるサブ搬送部15の下流側に、シート20を巻き取る巻取部である巻取装置17が設けられる。
(【0011】以降は省略されています)
この特許をJ-PlatPat(特許庁公式サイト)で参照する
関連特許
個人
箔熱転写装置
2か月前
シヤチハタ株式会社
印判
5か月前
キヤノン株式会社
電子機器
3日前
キヤノン株式会社
記録装置
1か月前
株式会社リコー
画像形成装置
1か月前
株式会社リコー
印刷システム
1か月前
株式会社リコー
画像形成装置
1か月前
独立行政法人 国立印刷局
貼付機構
2か月前
株式会社リコー
液体吐出装置
6か月前
独立行政法人 国立印刷局
貼付装置
2か月前
株式会社リコー
液体吐出装置
5か月前
株式会社リコー
液体吐出装置
5か月前
株式会社リコー
画像形成装置
2か月前
株式会社リコー
液体吐出装置
3か月前
キヤノン株式会社
画像形成装置
25日前
独立行政法人 国立印刷局
潜像形成体
1か月前
ブラザー工業株式会社
液体吐出ヘッド
1か月前
シャープ株式会社
画像形成装置
19日前
キヤノン株式会社
画像形成装置
2か月前
ブラザー工業株式会社
プリンタ
2か月前
ブラザー工業株式会社
プリンタ
2か月前
キヤノン株式会社
画像形成装置
6か月前
カシオ計算機株式会社
印刷装置
17日前
理想科学工業株式会社
印刷装置
1か月前
キヤノン株式会社
画像処理装置
5か月前
キヤノン株式会社
画像記録装置
1か月前
独立行政法人 国立印刷局
潜像印刷物
2か月前
キヤノン株式会社
画像形成装置
4か月前
ブラザー工業株式会社
プリンタ
5か月前
大日本印刷株式会社
印刷物
24日前
株式会社リコー
画像形成システム
1か月前
大日本印刷株式会社
印刷物
24日前
独立行政法人 国立印刷局
偽造防止印刷物
6か月前
株式会社リコー
感熱記録媒体
1か月前
独立行政法人 国立印刷局
潜像画像形成体
6か月前
個人
小型記録媒体への印刷システム
2か月前
続きを見る
他の特許を見る