TOP
|
特許
|
意匠
|
商標
特許ウォッチ
Twitter
他の特許を見る
10個以上の画像は省略されています。
公開番号
2025166267
公報種別
公開特許公報(A)
公開日
2025-11-05
出願番号
2025142103,2024043230
出願日
2025-08-28,2024-03-19
発明の名称
コンテナ脱着車
出願人
新明和工業株式会社
代理人
弁理士法人開知
主分類
B60P
1/48 20060101AFI20251028BHJP(車両一般)
要約
【課題】コンテナの積み下ろし時において、車体の左右方向の安定性を向上させると共に、車台の下のスペースを有効活用することができるコンテナ脱着車を提供する。
【解決手段】車台に対してコンテナを積み下ろしする荷役装置を備えたコンテナ脱着車において、前記荷役装置による前記コンテナの積み下ろし時の前記車台の沈み込みを抑える左右のサポート装置を備え、前記左右のサポート装置は、車台の左右両側に互いに間隔をあけて配置されているコンテナ脱着車を提供する。
【選択図】図8
特許請求の範囲
【請求項1】
車台に対してコンテナを積み下ろしする荷役装置を備えたコンテナ脱着車において、
前記荷役装置による前記コンテナの積み下ろし時の前記車台の沈み込みを抑える左右のサポート装置を備え、
前記左右のサポート装置は、前記車台の後部に位置し、車台の左右両側に互いに間隔をあけて配置されている
ことを特徴とするコンテナ脱着車。
発明の詳細な説明
【技術分野】
【0001】
本発明は、コンテナを車台に対して積み下ろしする荷役装置を備えたコンテナ脱着車に関する。
続きを表示(約 1,700 文字)
【背景技術】
【0002】
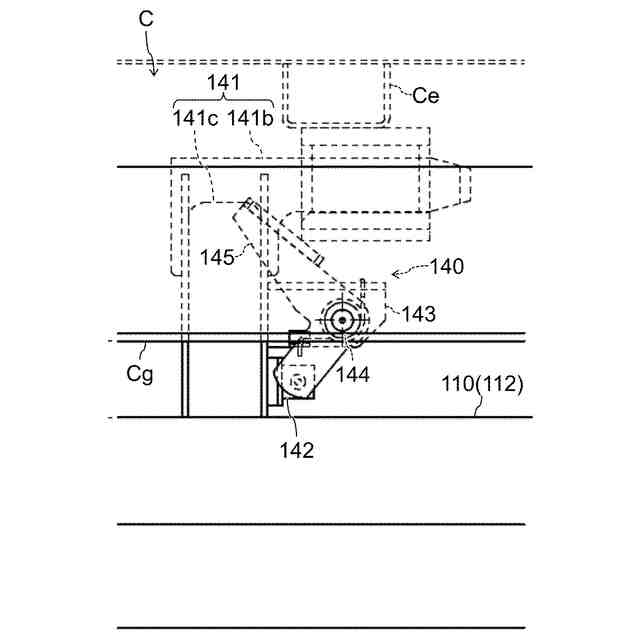
L字型の荷役アームを車体後方に回動させて先端のフックをコンテナに掛け、荷役アームを前方に回動させることでコンテナを車台上に引き上げるコンテナ脱着車がある(特許文献1等)。
【先行技術文献】
【特許文献】
【0003】
特許第5546167号公報
【発明の概要】
【発明が解決しようとする課題】
【0004】
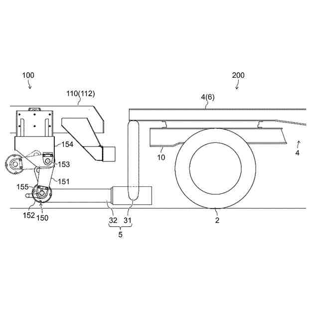
コンテナ脱着車は、トレーラを牽引するトラクタとして用いられる場合がある。この場合、コンテナ脱着車は、牽引するトレーラに対するコンテナの積み下ろしにも用いられ得る。その際、トレーラの前部には、トラクタと連結するためのドローバと呼ばれる連結部材が存在する。ドローバには、トラクタ及びトレーラの旋回走行時におけるトラクタ及びトレーラにそれぞれ積載されたコンテナ同士の干渉が回避できるだけの前後長が確保されている。コンテナ脱着車を用いてトレーラにコンテナを積み込む場合、このドローバと干渉することからコンテナ脱着車をトレーラのデッキ部分に前方から接近させることができない。そのため、特許文献1の図11に開示されているように、一般的にはドローバを避けてトレーラの後部にコンテナ脱着車を接近させ、トレーラに対して後方からコンテナの積み下ろしをする。
【0005】
しかし、例えばトレーラにコンテナを積み込んだ後、コンテナを積み込んだトレーラをそのコンテナ脱着車で牽引する場合、トレーラの後側から前側にコンテナ脱着車を回り込ませなければならない。しかも、この間にトレーラと反対方向を向いていたコンテナ脱着車をトレーラと同じ方向に転換する必要もある。そのため、手間を要する上、トレーラの周囲にコンテナ脱着車を操車する広いスペースを要する。
【0006】
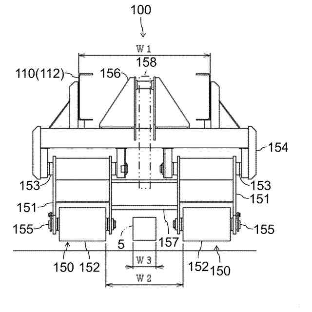
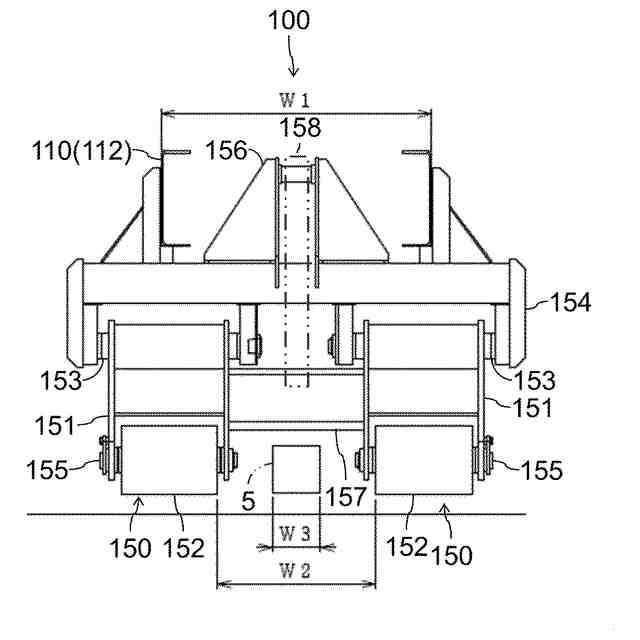
そこで、コンテナ脱着車によりコンテナを前方から積み下ろしできるようにすることを考えると、コンテナ脱着車の車台の下のスペースを活用し、障害となるドローバに屈曲機構を付与する等して地面付近に下ろして、コンテナ脱着車の車台の下側にドローバが受け入れられるようにすることが考えられる。ところが、コンテナ脱着車の後部には、コンテナの積み下ろし時の車台の沈み込みを抑えるローラジャッキが備わっている。コンテナの積み下ろし時にはコンテナ脱着車の車幅方向の中央領域においてローラジャッキが地面付近まで下りるため、トレーラのドローバを地面付近まで下ろしてもローラジャッキが干渉してしまう。そのため、コンテナ脱着車の車台の下のスペースにドローバを受け入れてトレーラの前部にコンテナ脱着車を接近させることも難しい。
【0007】
また、ローラジャッキは一定の幅を有するもののコンテナ脱着車の車幅方向の中央付近に配置されるため、コンテナの積荷の重量が著しく左右に偏っている場合、コンテナの積み下ろしの際にコンテナ脱着車の左右方向の揺れが大きくなる可能性がある。実用上の問題がなくても、コンテナの積み下ろしの際に車体が大きく揺れるとユーザの心理的負担になり得る。
【0008】
本発明の目的は、コンテナの積み下ろし時において、車体の左右方向の安定性を向上させると共に、車台の下のスペースを有効活用することができるコンテナ脱着車を提供することにある。
【課題を解決するための手段】
【0009】
上記目的を達成するために、本発明は、車台に対してコンテナを積み下ろしする荷役装置を備えたコンテナ脱着車において、前記荷役装置による前記コンテナの積み下ろし時の前記車台の沈み込みを抑える左右のサポート装置を備え、前記左右のサポート装置は、車台の左右両側に互いに間隔をあけて配置されているコンテナ脱着車を提供する。
【発明の効果】
【0010】
本発明によれば、コンテナの積み下ろし時において、車体の左右方向の安定性を向上させると共に、車台の下のスペースを有効活用することができる。
【図面の簡単な説明】
(【0011】以降は省略されています)
この特許をJ-PlatPat(特許庁公式サイト)で参照する
関連特許
新明和工業株式会社
荷受台昇降装置、特装車および荷受台昇降装置の物体検出システム
20日前
個人
前輪キャスター
3か月前
個人
上部一体型自動車
1か月前
個人
空間形成装置
27日前
個人
タイヤ脱落防止構造
3か月前
個人
マスタシリンダ
2か月前
日本精機株式会社
表示装置
3か月前
日本精機株式会社
照明装置
22日前
個人
常設収納型サンバイザー
1か月前
株式会社豊田自動織機
産業車両
22日前
日本精機株式会社
車載表示装置
1か月前
株式会社ニフコ
照明装置
3か月前
日本精機株式会社
車載表示装置
28日前
日本精機株式会社
車載表示装置
2か月前
個人
回転窓ワイパー装置
27日前
日本精機株式会社
車載表示装置
1か月前
日本精機株式会社
車室演出装置
3か月前
株式会社ニフコ
収納装置
2か月前
日本精機株式会社
画像投映装置
1か月前
日本精機株式会社
車両用報知装置
1か月前
株式会社SUBARU
車両
1か月前
日本精機株式会社
車両用投影装置
2か月前
日本精機株式会社
車両用表示装置
1か月前
個人
音による速度計とプログラム
1か月前
日本精機株式会社
車両用投射装置
1か月前
井関農機株式会社
作業車両
2か月前
エムケー精工株式会社
車両処理装置
2か月前
日本化薬株式会社
ガス発生器
2か月前
ダイハツ工業株式会社
変速機
3か月前
日本化薬株式会社
ガス発生器
2か月前
日産自動車株式会社
伝動部材
1か月前
ダイハツ工業株式会社
変速機
3か月前
個人
段差通過を容易にする車輪構造
3か月前
エムケー精工株式会社
車両処理装置
1か月前
日本化薬株式会社
ガス発生器
20日前
ダイハツ工業株式会社
変速機
3か月前
続きを見る
他の特許を見る