TOP
|
特許
|
意匠
|
商標
特許ウォッチ
Twitter
他の特許を見る
10個以上の画像は省略されています。
公開番号
2025165876
公報種別
公開特許公報(A)
公開日
2025-11-05
出願番号
2025058733
出願日
2025-03-31
発明の名称
ワイヤを搬送するためのワイヤキャリア、エンドエフェクタ、及び方法
出願人
ザ・ボーイング・カンパニー
,
The Boeing Company
代理人
個人
,
個人
,
個人
,
個人
,
個人
,
個人
,
個人
,
個人
,
個人
主分類
B65H
75/02 20060101AFI20251028BHJP(運搬;包装;貯蔵;薄板状または線条材料の取扱い)
要約
【課題】ワイヤを搬送するためのワイヤキャリア、エンドエフェクタ、及び方法が開示される。
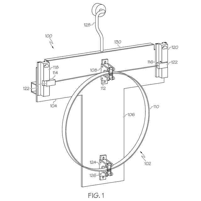
【解決手段】ワイヤ102を搬送するためのワイヤキャリア100は、支持構造体104、コイルホルダ108、第1端部ホルダ118、及び第2端部ホルダ120を含む。支持構造体104は、前面106及び後面を含む。コイルホルダ108は、ワイヤ102のコイル110と、ワイヤ102の第1端部114とワイヤ102の第2端部116との間のコイル110上の第1位置112とに対応する第1箇所において、支持構造体104の前面106に固定されている。第1端部ホルダ118は、ワイヤ102の第1端部114に対応する第2箇所において、支持構造体104の前面106に固定されている。第2端部ホルダ120は、第2端部116に対応する第3箇所において、支持構造体104の前面106に固定されている。
【選択図】図1
特許請求の範囲
【請求項1】
ワイヤを搬送するためのワイヤキャリアであって、
前面及び後面を含む支持構造体と、
前記ワイヤのコイルと、前記ワイヤの第1端部と前記ワイヤの第2端部との間の前記コイル上の第1位置とに対応する第1箇所において、前記支持構造体の前記前面に固定された第1コイルホルダと、
前記ワイヤの前記第1端部に対応する第2箇所において、前記支持構造体の前記前面に固定された第1端部ホルダと、
前記第2端部に対応する第3箇所において、前記支持構造体の前記前面に固定された第2端部ホルダと、を含むワイヤキャリア。
続きを表示(約 1,400 文字)
【請求項2】
前記ワイヤは、単一導体、ツイストペア導体、多芯ケーブル、シールドケーブル、被覆なしケーブル、同軸ケーブル、整合インピーダンスケーブル、及び光ファイバケーブルのうちの少なくとも1つを含む、請求項1に記載のワイヤキャリア。
【請求項3】
前記第1コイルホルダは、前記ワイヤの前記コイルを少なくとも一時的に保持するように構成されており、前記第1端部ホルダは、前記ワイヤの前記第1端部を少なくとも一時的に保持するように構成されており、前記第2端部ホルダは、前記ワイヤの前記第2端部を少なくとも一時的に保持するように構成されている、請求項1に記載のワイヤキャリア。
【請求項4】
前記第1コイルホルダの前記第1箇所と前記第1端部ホルダの前記第2箇所とが、前記ワイヤの前記第1端部と前記ワイヤの前記コイルとの間の第1ブレイクアウト長を規定し、前記第1コイルホルダの前記第1箇所と前記第2端部ホルダの前記第3箇所とが、前記ワイヤの前記第2端部と前記ワイヤの前記コイルとの間の第2ブレイクアウト長を規定する、請求項1に記載のワイヤキャリア。
【請求項5】
前記ワイヤの前記第1端部及び前記ワイヤの前記第2端部は、終端接続部を含み、前記終端接続部は、ピン、ジャック、オスピン、ソケット、メスピン、レセプタクル、コンタクト、ラグ、及びコネクタのうちの少なくとも1つを含む、請求項1に記載のワイヤキャリア。
【請求項6】
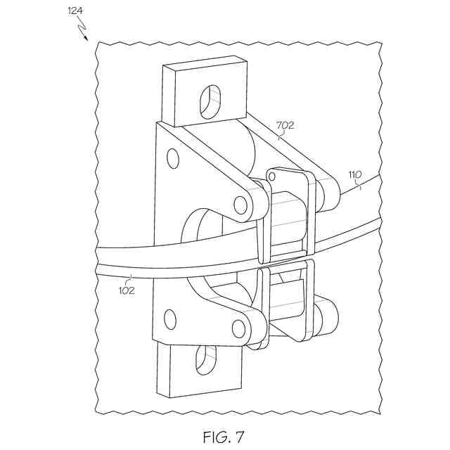
前記第1コイルホルダは、前記ワイヤの前記コイルをクランプが受け取る又は解放する開状態と、前記コイルをクランプが把持する閉状態とを有するクランプを含む、請求項1に記載のワイヤキャリア。
【請求項7】
前記クランプは、前記クランプが前記ワイヤの前記コイルを保持できる程度に閉じており、尚且つ、前記コイルが前記クランプ内で摺動できる程度に開いている緩い閉状態を含む、請求項6に記載のワイヤキャリア。
【請求項8】
前記第1端部ホルダは、前記ワイヤの前記第1端部をクランプが受け取る又は解放する開状態と、前記第1端部をクランプが把持する閉状態とを有するクランプを含み、前記クランプは、前記クランプを開状態に動かすことと連動して第1鍵ツールが係合するように構成された第1鍵穴を含み、前記クランプは、閉状態に付勢されているとともに、前記第1鍵ツールが前記クランプを開状態に保持できるように構成されている、請求項1に記載のワイヤキャリア。
【請求項9】
前記第2端部ホルダは、前記ワイヤの前記第2端部をクランプが受け取る又は解放する開状態と、前記第2端部をクランプが把持する閉状態とを有するクランプを含み、前記クランプは、前記クランプを開状態に動かすことと連動して第2鍵ツールが係合するように構成された第2鍵穴を含み、前記クランプは、閉状態に付勢されているとともに、前記第2鍵ツールが前記クランプを開状態に保持できるように構成されている、請求項1に記載のワイヤキャリア。
【請求項10】
前記コイル上の前記第1位置に対向する前記ワイヤの前記コイル上の第2位置に対応する第4箇所において、前記支持構造体の前記前面に固定された第2コイルホルダをさらに含み、
前記第2コイルホルダは、前記ワイヤの前記コイルを少なくとも一時的にさらに保持するように構成されている、請求項1に記載のワイヤキャリア。
(【請求項11】以降は省略されています)
発明の詳細な説明
【技術分野】
【0001】
本開示は、概して、ワイヤを搬送する技術に関し、特に、ワイヤを移送し搬送するためのワイヤキャリアとエンドエフェクタの使用に関する。本開示の種々の技術は、ワイヤ準備システムからワイヤ搬送システムにワイヤを移送すること、ワイヤ搬送システムを介してワイヤアセンブリシステムにワイヤを搬送すること、及び、ワイヤ搬送システムからワイヤアセンブリシステムにワイヤを移送することを含む。
続きを表示(約 2,200 文字)
【背景技術】
【0002】
ワイヤハーネス製造のための工業的な慣習は、1960年代から実質的に変わっていない。レースウェイの配線では、個々のワイヤを準備し、これらを第1端部コネクタに終端し、個々のハーネスに成形し、第2端部コネクタに終端し、束としてレースウェイ支持体に組み付ける。このレースウェイ支持体が、工場に搬送され、飛行機などの最終製品に設置される。また、このプロセスは、現在のところ、45人日を要する場合がある。さらに、現在のプロセスは、梱包、出荷、受け取り、開梱に関連する付加価値を生まない工程を多く含んでいる。また、このプロセスでは、資源不足や長期納品のために、かなりの量の仕掛品バッファ(work-in-process buffers)が生じる可能性がある。
【0003】
電気配線のレースウェイは、データ、信号、及び電力を最終製品全体に分配するために、最終製品の全長にわたって延びる多数の電線を含んでいる。例えば、飛行機は通常、飛行機の全長にわたって延びる4~5本のレースウェイを有する。これらのレースウェイは、エンジンブレードの脱落や爆弾の爆発といった物理的な脅威を緩和するために、互いに物理的に分離されている。
【0004】
レースウェイは、従来、以下のプロセスで組み立てられる。長尺のワイヤ束をまとめ、テストし、コイル状に巻いて梱包し、電気システムの責任センターに出荷する。第三者がこれらのワイヤ束をまとめる場合もある。電気システムの責任センターは、これらの束を受け取り、コイルの状態からほどき、他の同様の束と共に長状のアセンブリ台の上でまとめる。これらの束を、一緒に結束及び/又はクランプして、スパナーバーの土台部に取り付ける。次に、この長状のアセンブリを、搬送ツール上にコイル状に巻き、最終製品の組立工場に搬送する。最終製品の組立工場において、これらのアセンブリをコイルの状態からほどき、最終製品内に運び、持ち上げて設置する。飛行機のような最終製品では、コイル状に巻く作業、これをほどく作業、そして持ち上げる作業を回避するために、特別に大きい搬送ツールを使用する場合がある。従来のレースウェイアセンブリは、最終製品の生産ラインを基礎としている。
【0005】
既存のレースウェイ、配線ハーネス、及び束には、24インチから100フィートまでのワイヤが含まれる場合がある。このようなワイヤをレースウェイに組み付けるための現在の技術は、手作業をかなり必要とする。例えば、ワイヤの長さのばらつきを自律的に管理する既知の手段は存在しない。
【0006】
従って、当業者は、ワイヤの自律的な準備、及び、自律的に且つ/或いは手動操作で準備されたワイヤの自律的な搬送のための技術を改善すべく、研究と開発努力を続けている。
【発明の概要】
【0007】
ワイヤを搬送するためのワイヤキャリア、エンドエフェクタ、及び方法が開示される。以下に、本発明による要旨の実施例を列挙するが、これらは包括的なものではなく、また、請求項に記載されているものと記載されていないものとが含まれ得る。
【0008】
一実施例において、ワイヤを搬送するためのワイヤキャリアは、支持構造体、第1コイルホルダ、第1端部ホルダ、及び第2端部ホルダを含む。支持構造体は、前面及び後面を含む。第1コイルホルダは、ワイヤのコイルと、ワイヤの第1端部とワイヤの第2端部との間のコイル上の第1位置とに対応する第1箇所において、支持構造体の前面に固定されている。第1端部ホルダは、ワイヤの第1端部に対応する第2箇所において、支持構造体の前面に固定されている。第2端部ホルダは、第2端部に対応する第3箇所において、支持構造体の前面に固定されている。
【0009】
一実施例において、ワイヤを搬送するためのエンドエフェクタは、支持構造体、第1保持装置、第2保持装置、第3保持装置、及びインターフェース部材を含む。支持構造体は、前面及び後面を含む。第1保持装置は、ワイヤのコイルと、ワイヤの第1端部とワイヤの第2端部との間のコイル上の第1位置とに対応する第1箇所において、支持構造体の前面に固定されている。第2保持装置は、ワイヤの第1端部に対応する第2箇所において、支持構造体の前面に固定されている。第3保持装置は、第2端部に対応する第3箇所において、支持構造体の前面に固定されている。インターフェース部材は、支持構造体の後面に固定されており、ワイヤの搬送の際のエンドエフェクタの制御と連動して電気機械式マニピュレータと接続できるように、後面から延びている。
【0010】
一実施例において、ワイヤを搬送する方法は、i)ワイヤ搬送システムのワイヤキャリアを用いてワイヤ準備システムからワイヤアセンブリシステムにワイヤを搬送すること、を含み、ワイヤは、第1端部及び第2端部を含み、ワイヤ準備システムは、ワイヤのコイルと第1端部との間の第1ブレイクアウト長と、コイルと第2端部との間の第2ブレイクアウト長を有するコイルにワイヤを成形しており、当該方法は、ii)コイルを、第1端部及び第2端部と共に、第1電気機械式マニピュレータを用いて、ワイヤ搬送システムのワイヤキャリアからワイヤアセンブリシステムに移送すること、をさらに含む。
(【0011】以降は省略されています)
この特許をJ-PlatPat(特許庁公式サイト)で参照する
関連特許
個人
収容箱
4か月前
個人
束ね具
9日前
個人
コンベア
6か月前
個人
段ボール箱
7か月前
個人
ゴミ収集器
7か月前
個人
段ボール箱
8か月前
個人
容器
10か月前
個人
土嚢運搬器具
9か月前
個人
テープ引出機
9日前
個人
バンド
2か月前
個人
宅配システム
7か月前
個人
楽ちんハンド
5か月前
個人
角筒状構造体
6か月前
個人
お薬の締結装置
6か月前
個人
閉塞装置
10か月前
個人
棒状体収容容器
13日前
個人
包装容器
2か月前
個人
廃棄物収容容器
3か月前
個人
コード類収納具
9か月前
個人
把手付米袋
5か月前
個人
積み重ね用補助具
3か月前
株式会社和気
包装用箱
23日前
個人
蓋閉止構造
4か月前
個人
ゴミ処理機
10か月前
個人
貯蔵サイロ
7か月前
株式会社コロナ
梱包材
6か月前
株式会社バンダイ
物品
1か月前
株式会社和気
包装用箱
9か月前
個人
蓋閉止構造
4か月前
三甲株式会社
容器
2か月前
株式会社新弘
容器
3か月前
個人
包装箱
10か月前
個人
輸送積荷用動吸振器
7か月前
株式会社KY7
封止装置
4か月前
三甲株式会社
蓋体
10か月前
三甲株式会社
容器
27日前
続きを見る
他の特許を見る