TOP
|
特許
|
意匠
|
商標
特許ウォッチ
Twitter
他の特許を見る
10個以上の画像は省略されています。
公開番号
2025165688
公報種別
公開特許公報(A)
公開日
2025-11-05
出願番号
2024069917
出願日
2024-04-23
発明の名称
シリンダ装置の無線センシング構造
出願人
株式会社コスメック
代理人
個人
主分類
H01Q
1/12 20060101AFI20251028BHJP(基本的電気素子)
要約
【課題】ワイヤレス無線機から電波が拡散しやすくなる無線センシング構造を提供する。
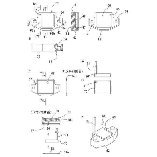
【解決手段】金属製のハウジング中でピストン部の位置の変動に応じて発電し、電気信号として送出する自立発電装置を備えたシリンダ装置の無線センシング構造であって、樹脂製の蓋体62は、底面の凹部66と表面部のコ状溝63とがコ状溝の始端の位置に設けられた貫通孔65で連通している。無線基板70が凹部66に装着され、貫通孔65にアンテナ71が挿通され、コ状溝63に沿って順に折り畳まれて固定される。ハウジングの上側の一部分には、蓋体62の外形形状に類似する形状を切り欠いて、蓋体62が嵌まりこむ窪み部が設けられ、蓋体62が窪み部を塞いでいる。
【選択図】図10
特許請求の範囲
【請求項1】
金属製のハウジング中でピストン部の位置の変動に応じて発電し、電気信号として送出する自立発電装置を備えたシリンダ装置の無線センシング構造において、
無線送信LSIが実装された基板からアンテナが立設された無線基板と、
底面の凹部と表面部のコ状溝とがコ状溝の始端の位置に設けられた貫通孔で連通し、前記無性基板が前記凹部に装着され、前記貫通孔に前記アンテナが挿通され、前記コ状溝に沿って順に折り畳まれて固定される樹脂製の蓋体とを有し、
前記ハウジングの上側の一部分には、前記蓋体の外形形状に類似する形状を切り欠いて、前記蓋体が嵌まりこむ窪み部が設けられ、当該窪み部に前記ワイヤレスモジュールが被せられることで、当該窪み部を塞いでいることを特徴とする無線センシング構造。
発明の詳細な説明
【技術分野】
【0001】
本発明は、金属製のハウジングの中の機械的な変動により発電して電気信号を発生する自立発電装置に用いられるシリンダ装置の無線センシング構造に関する。
続きを表示(約 1,700 文字)
【背景技術】
【0002】
電源もなく、外部からの電気配線に接続することもなく、電流を発生し、機械的変動を電気信号として外部に送出する装置として、特許文献1乃至3に例示されるような自立発電装置が知られている。何れの特許文献にも示されるように、自立発電装置には、近傍に極小のワイヤレス無線機が配置されている。機械的変動により発電した電力をワイヤレス無線機に供給して、ワイヤレス無線機が機械的変動の発生を無線伝達するという一連の動作を協働して行うのである。
【0003】
また、本出願人は、特願2023-166280号、特願2024-3414号の出願により、外部からの直線運動を直接利用して発電する自立発電装置を提案し、自立発電装置をクランプ装置や圧力検出器等のシリンダ装置に適用する例を示している。
【先行技術文献】
【特許文献】
【0004】
特表2009-516802号公報
特表2022-552337号公報
特開2018-153094号公報
【発明の開示】
【発明が解決しようとする課題】
【0005】
電波は金属により遮られるが、これらのシリンダ装置はハウジング自体が金属で形成されている。シリンダ装置の金属製のハウジングの中でピストンの動きを検知した自立発電装置が電気信号を発生し、ワイヤレス無線で外部に放出するに当たり、微弱な電波をできるだけ金属製のハウジングにより遮蔽しない無線センシング構造の実現が望まれている。
【0006】
本発明の目的は、シリンダ装置の金属製ハウジング中の機械的な変動を検出する自立発電装置の電気信号をワイヤレス無線により外部へ放射するに当たり、ワイヤレス無線機から電波が拡散しやすくなる無線センシング構造を提供することにある。
【課題を解決するための手段】
【0007】
本発明によれば、金属製ハウジング中でピストン部の位置の変動に応じて発電し、電気信号として送出する自立発電装置を備えたシリンダ装置の無線センシング構造において、
無線送信LSIが実装された基板からアンテナが立設された無線基板と、
底面の凹部と表面部のコ状溝とがコ状溝の始端の位置に設けられた貫通孔で連通し、前記無性基板が前記凹部に装着され、前記貫通孔に前記アンテナが挿通され、前記コ状溝に沿って順に折り畳まれて固定される樹脂製の蓋体とを有し、
前記ハウジングの上側の一部分には、前記蓋体の外形形状に類似する形状を切り欠いて、前記蓋体が嵌まりこむ窪み部が設けられ、当該窪み部に前記ワイヤレスモジュールが被せられることで、当該窪み部を塞いでいることを特徴とする。
【発明の効果】
【0008】
本発明の無線センシング構造によれば、ハウジングの上側の一部分には、ワイヤレスモジュールの外形形状に類似する形状を切り欠いて、蓋体が嵌まりこむ窪み部が設けられ、窪み部にワイヤレスモジュールが被せられることで、コ字状溝の中に折り畳まれたアンテナから放射される電波の障害になる水平方向のハウジングの金属が無くなり、電波が拡散しやすくなる。
【図面の簡単な説明】
【0009】
自立発電装置を説明する図である。
自立発電装置の部品を説明する図である。
自立発電装置の部品を説明する図である。
自立発電装置の動作を説明する図である。
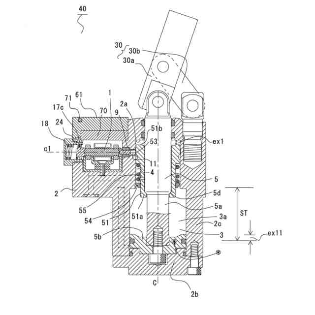
シリンダ装置の斜視図である。
リリース状態を説明する図である。
途中状態を説明する図である。
ロック状態を説明する図である。
ワイヤレスモジュールを取り外した状態を説明する図である。
ワイヤレスモジュールの構造を説明する図である。
【発明を実施するための最良の形態】
【0010】
まず、自立発電装置について説明する。自立発電装置については、特許文献1-3に開示された自立発電装置や、特願2023-166280号、特願2024-3414号により提案した自立発電装置を適用することができる。
(【0011】以降は省略されています)
この特許をJ-PlatPat(特許庁公式サイト)で参照する
関連特許
株式会社コスメック
シリンダ装置の無線センシング構造
1か月前
個人
三重コイル変圧器
今日
APB株式会社
蓄電セル
1か月前
東ソー株式会社
絶縁電線
1か月前
日機装株式会社
加圧装置
5日前
日新イオン機器株式会社
イオン源
1か月前
ローム株式会社
半導体装置
1か月前
株式会社東芝
端子台
1か月前
マクセル株式会社
電源装置
1か月前
ローム株式会社
半導体装置
今日
日新イオン機器株式会社
イオン源
5日前
富士電機株式会社
電磁接触器
20日前
株式会社GSユアサ
蓄電装置
1か月前
株式会社GSユアサ
蓄電装置
20日前
株式会社GSユアサ
蓄電装置
1か月前
三菱電機株式会社
回路遮断器
28日前
株式会社GSユアサ
蓄電装置
1か月前
株式会社ホロン
冷陰極電子源
1か月前
株式会社トクミ
ケーブル
6日前
ホシデン株式会社
複合コネクタ
14日前
トヨタ自動車株式会社
蓄電装置
12日前
日新イオン機器株式会社
基板処理装置
1か月前
トヨタ自動車株式会社
バッテリ
1か月前
トヨタ自動車株式会社
冷却構造
1か月前
大電株式会社
電線又はケーブル
12日前
日本特殊陶業株式会社
保持装置
今日
日本特殊陶業株式会社
保持装置
1か月前
個人
電源ボックス及び電子機器
5日前
北道電設株式会社
配電具カバー
1か月前
トヨタ自動車株式会社
蓄電装置
1か月前
日本特殊陶業株式会社
保持装置
1か月前
株式会社東芝
電子源
5日前
住友電装株式会社
コネクタ
20日前
住友電装株式会社
コネクタ
今日
トヨタ自動車株式会社
電池パック
1か月前
日亜化学工業株式会社
半導体レーザ素子
1か月前
続きを見る
他の特許を見る