TOP
|
特許
|
意匠
|
商標
特許ウォッチ
Twitter
他の特許を見る
10個以上の画像は省略されています。
公開番号
2025164879
公報種別
公開特許公報(A)
公開日
2025-10-30
出願番号
2025141391,2021021490
出願日
2025-08-27,2021-02-15
発明の名称
情報処理装置、情報処理方法、およびプログラム
出願人
フリュー株式会社
代理人
個人
,
個人
主分類
H04N
23/66 20230101AFI20251023BHJP(電気通信技術)
要約
【課題】遠隔にいる複数のユーザが、自分達が写る画像をリアルタイムで容易に撮影することができるようにする。
【解決手段】本技術の一側面の情報処理装置は、第1のユーザが使用する第1の携帯端末と、第2のユーザが使用する第2の携帯端末のそれぞれにおいて撮影を行わせ、第1の携帯端末と第2の携帯端末のそれぞれにおいて撮影された画像から人物領域を抽出し、抽出した人物領域の画像に基づいて生成した動画像であるライブビュー画像を第1の携帯端末と第2の携帯端末に表示させ、画像の向きのガイドとなる情報を顔の向きが揃っていない場合にライブビュー画像とともに表示させる。本技術は、インターネット上のサーバに適用することができる。
【選択図】図2
特許請求の範囲
【請求項1】
第1のユーザが使用する第1の携帯端末と、第2のユーザが使用する第2の携帯端末のそれぞれにおいて撮影を行わせる撮影制御部と、
前記第1の携帯端末と前記第2の携帯端末のそれぞれにおいて撮影された画像から人物領域を抽出し、抽出した人物領域の画像に基づいて生成した動画像であるライブビュー画像を前記第1の携帯端末と前記第2の携帯端末に表示させ、画像の向きのガイドとなる情報を顔の向きが揃っていない場合に前記ライブビュー画像とともに表示させる画像処理部と
を備え、
前記撮影制御部は、撮影ボタンが前記ライブビュー画像の表示開始後に押されたことに応じて、撮影タイミングまでのカウントダウンを前記第1の携帯端末と前記第2の携帯端末のそれぞれにおいて表示させ、
前記画像処理部は、前記第1の携帯端末と前記第2の携帯端末のそれぞれにおいて前記撮影タイミングで撮影された画像に基づいて、前記第1のユーザの人物領域の画像と前記第2のユーザの人物領域の画像が配置された合成画像を生成し、前記第1の携帯端末と前記第2の携帯端末のそれぞれにおいて表示させる
情報処理装置。
続きを表示(約 1,300 文字)
【請求項2】
前記画像処理部は、前記第1の携帯端末と前記第2の携帯端末のそれぞれにおいて撮影された画像から抽出された人物領域の画像を、撮影された画像に写る人物の人数に応じた広さの領域に表示させる
請求項1に記載の情報処理装置。
【請求項3】
前記画像処理部は、分割数と表示領域の広さが異なる複数種類のレイアウトの中から選択されたレイアウトに従って、前記第1のユーザの人物領域の画像と前記第2のユーザの人物領域の画像の表示領域を決定する
請求項2に記載の情報処理装置。
【請求項4】
前記画像処理部は、画像の向きのガイドとなる情報を、顔の向きが基準の向きとは異なる携帯端末の画面だけに表示させる
請求項1に記載の情報処理装置。
【請求項5】
情報処理装置が、
第1のユーザが使用する第1の携帯端末と、第2のユーザが使用する第2の携帯端末のそれぞれにおいて撮影を行わせ、
前記第1の携帯端末と前記第2の携帯端末のそれぞれにおいて撮影された画像から人物領域を抽出し、
抽出した人物領域の画像に基づいて生成した動画像であるライブビュー画像を前記第1の携帯端末と前記第2の携帯端末に表示させ、画像の向きのガイドとなる情報を顔の向きが揃っていない場合に前記ライブビュー画像とともに表示させ、
撮影ボタンが前記ライブビュー画像の表示開始後に押されたことに応じて、撮影タイミングまでのカウントダウンを前記第1の携帯端末と前記第2の携帯端末のそれぞれにおいて表示させ、
前記第1の携帯端末と前記第2の携帯端末のそれぞれにおいて前記撮影タイミングで撮影された画像に基づいて、前記第1のユーザの人物領域の画像と前記第2のユーザの人物領域の画像が配置された合成画像を生成し、前記第1の携帯端末と前記第2の携帯端末のそれぞれにおいて表示させる
情報処理方法。
【請求項6】
第1のユーザが使用する第1の携帯端末と、第2のユーザが使用する第2の携帯端末のそれぞれにおいて撮影を行わせ、
前記第1の携帯端末と前記第2の携帯端末のそれぞれにおいて撮影された画像から人物領域を抽出し、
抽出した人物領域の画像に基づいて生成した動画像であるライブビュー画像を前記第1の携帯端末と前記第2の携帯端末に表示させ、画像の向きのガイドとなる情報を顔の向きが揃っていない場合に前記ライブビュー画像とともに表示させ、
撮影ボタンが前記ライブビュー画像の表示開始後に押されたことに応じて、撮影タイミングまでのカウントダウンを前記第1の携帯端末と前記第2の携帯端末のそれぞれにおいて表示させ、
前記第1の携帯端末と前記第2の携帯端末のそれぞれにおいて前記撮影タイミングで撮影された画像に基づいて、前記第1のユーザの人物領域の画像と前記第2のユーザの人物領域の画像が配置された合成画像を生成し、前記第1の携帯端末と前記第2の携帯端末のそれぞれにおいて表示させる
処理をコンピュータに実行させるためのプログラム。
発明の詳細な説明
【技術分野】
【0001】
本技術は、情報処理装置、情報処理方法、およびプログラムに関し、特に、遠隔にいる複数のユーザが、自分達が写る画像をリアルタイムで容易に撮影することができるようにした情報処理装置、情報処理方法、およびプログラムに関する。
続きを表示(約 1,600 文字)
【背景技術】
【0002】
複数の撮影画像を組み合わせることによって1枚の画像を生成するコラージュ撮影がある。コラージュ撮影によれば、複数枚の撮影画像を組み合わせることによってデザイン性の高い画像を得ることが可能となる。
【0003】
特許文献1には、選択された基準画像とともに、基準画像との関連性が高い画像をテンプレートのレイアウト枠に配置することによってコラージュ画像を生成する技術が開示されている。関連性が高い画像を撮影日時に基づいて抽出し、優先順位に従って配置することによってコラージュ画像を生成するようになっている。
【先行技術文献】
【特許文献】
【0004】
特開2016-46540号公報
【発明の概要】
【発明が解決しようとする課題】
【0005】
特許文献1に記載の技術によれば、それぞれの人物が写る撮影画像を組み合わせることによって複数人が写るコラージュ画像を生成することができるものの、コラージュ画像の生成が過去に撮影された画像に基づいて行われるため、コラージュ撮影を楽しむことができない。
【0006】
仮に、それぞれのユーザがリアルタイムで撮影した画像に基づいてコラージュ画像を生成するとした場合、それぞれのユーザが離れた場所にいるときには、互いに相手の様子が分からないため、撮影自体が難しくなる。それぞれのユーザは、自分がどのような画角で写る画像を撮影すればいいのか、どのようなポーズで写る画像を撮影すればいいのかなどが分からない。
【0007】
本技術はこのような状況に鑑みてなされたものであり、遠隔にいる複数のユーザが、自分達が写る画像をリアルタイムで容易に撮影することができるようにするものである。
【課題を解決するための手段】
【0008】
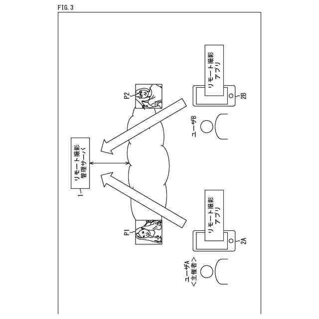
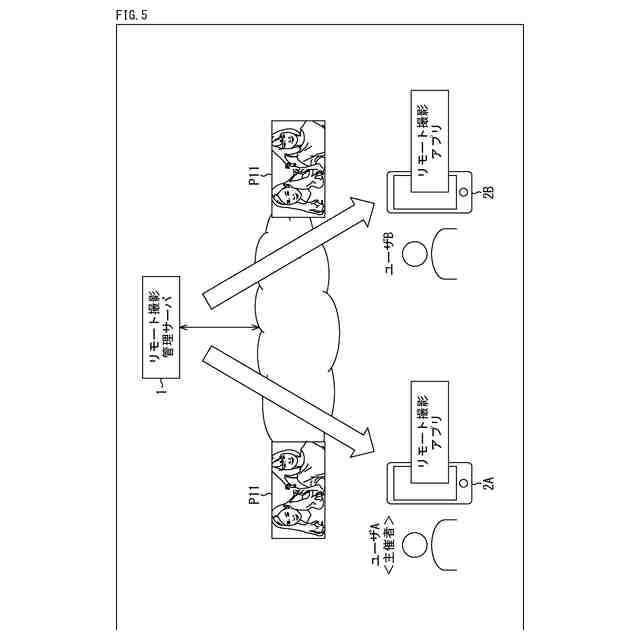
本技術の一側面の情報処理装置は、複数の携帯端末のそれぞれにおいてリアルタイムで撮影された、前記携帯端末を使用するユーザが映る複数の動画像に基づいて生成されたライブビュー画像をそれぞれの前記携帯端末に表示させる画像処理部と、前記ライブビュー画像の表示開始後の同じタイミングで、複数の前記携帯端末のそれぞれにおいて静止画像の撮影を行わせる撮影制御部とを備え、前記画像処理部は、複数の前記携帯端末のそれぞれにおいて撮影された前記ユーザが少なくとも写る静止画像を1枚の画像に合成し、合成画像をそれぞれの前記携帯端末において出力させる。
【0009】
本技術の他の側面のプログラムは、携帯端末を使用するユーザが映る動画像を撮影し、前記ユーザが映る動画像と、他のユーザが使用する他の携帯端末においてリアルタイムで撮影された前記他のユーザが映る動画像とに基づいて生成されたライブビュー画像を表示し、前記ライブビュー画像の表示開始後の、前記他の携帯端末における撮影のタイミングと同じタイミングで静止画像を撮影し、前記ユーザが少なくとも写る静止画像と前記他のユーザが少なくとも写る静止画像とを1枚の画像に合成することによって生成された合成画像を表示する処理を実行させる。
【0010】
本技術の一側面においては、複数の携帯端末のそれぞれにおいてリアルタイムで撮影された、携帯端末を使用するユーザが映る複数の動画像に基づいて生成されたライブビュー画像がそれぞれの携帯端末に表示され、ライブビュー画像の表示開始後の同じタイミングで、複数の携帯端末のそれぞれにおいて静止画像の撮影が行われ、複数の携帯端末のそれぞれにおいて撮影されたユーザが少なくとも写る静止画像が1枚の画像に合成され、合成画像がそれぞれの前記携帯端末において出力される。
(【0011】以降は省略されています)
この特許をJ-PlatPat(特許庁公式サイト)で参照する
関連特許
フリュー株式会社
撮影装置、制御方法、およびプログラム
5日前
個人
イヤーピース
1か月前
個人
イヤーマフ
1か月前
個人
監視カメラシステム
1か月前
キーコム株式会社
光伝送線路
1か月前
個人
スイッチシステム
1か月前
個人
スキャン式車載用撮像装置
1か月前
サクサ株式会社
中継装置
2か月前
サクサ株式会社
中継装置
2か月前
WHISMR合同会社
収音装置
3か月前
キヤノン株式会社
撮像装置
5日前
アイホン株式会社
電気機器
2か月前
キヤノン株式会社
撮像装置
5日前
キヤノン株式会社
撮像装置
12日前
キヤノン株式会社
撮像装置
3か月前
キヤノン株式会社
撮像装置
5日前
株式会社リコー
画像形成装置
3か月前
ヤマハ株式会社
放音制御装置
1か月前
株式会社リコー
画像形成装置
3か月前
個人
映像表示装置、及びARグラス
1か月前
キヤノン電子株式会社
画像読取装置
3か月前
個人
ワイヤレスイヤホン対応耳掛け
2か月前
キヤノン電子株式会社
画像読取装置
1か月前
キヤノン電子株式会社
画像読取装置
1か月前
株式会社リコー
画像形成装置
1か月前
キヤノン電子株式会社
画像読取装置
1か月前
サクサ株式会社
無線システム
2か月前
サクサ株式会社
無線通信装置
2か月前
サクサ株式会社
無線通信装置
2か月前
個人
発信機及び発信方法
2か月前
キヤノン株式会社
画像処理装置
1か月前
日本電気株式会社
海底分岐装置
1か月前
キヤノン電子株式会社
シート搬送装置
1か月前
キヤノン株式会社
撮像システム
2か月前
キヤノン株式会社
情報処理装置
20日前
株式会社小糸製作所
画像照射装置
3か月前
続きを見る
他の特許を見る