TOP
|
特許
|
意匠
|
商標
特許ウォッチ
Twitter
他の特許を見る
10個以上の画像は省略されています。
公開番号
2025178397
公報種別
公開特許公報(A)
公開日
2025-12-05
出願番号
2025163066,2021147916
出願日
2025-09-30,2021-09-10
発明の名称
撮影装置、制御方法、およびプログラム
出願人
フリュー株式会社
代理人
個人
,
個人
主分類
G03B
17/53 20210101AFI20251128BHJP(写真;映画;光波以外の波を使用する類似技術;電子写真;ホログラフイ)
要約
【課題】身だしなみのチェックを撮影空間内で行うことができるようにした。
【解決手段】本技術の一側面の撮影装置は、利用者が被写体となって撮影を行う空間である撮影空間を有する撮影装置である。撮影装置は、撮影空間に設置され、利用者を被写体として撮影を行うカメラと、利用者の立ち位置を基準としてカメラの左側と右側のうちの少なくともいずれかに設置された鏡と、鏡を使って撮影の準備を行うことを案内する情報を含む案内画面を表示する表示部と、カメラによる静止画像の撮影を案内画面の表示終了後に開始させる制御部とを備える。本技術は、撮影した画像をシール紙に印刷する一連のゲームを提供する写真作成ゲーム機に適用することができる。
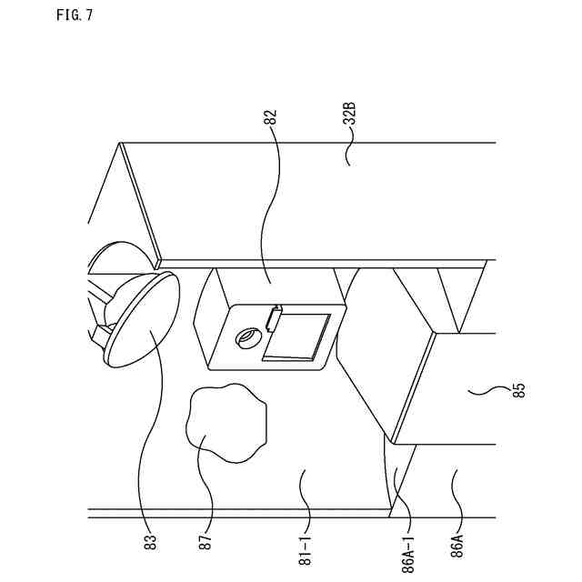
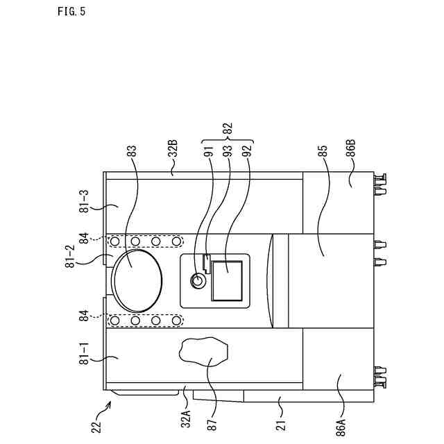
【選択図】図7
特許請求の範囲
【請求項1】
利用者が被写体となって撮影を行う空間である撮影空間を有する撮影装置であって、
前記撮影空間に設置され、前記利用者を被写体として撮影を行うカメラと、
前記利用者の立ち位置を基準として前記カメラの左側と右側のうちの少なくともいずれかに設置された鏡と、
前記鏡を使って撮影の準備を行うことを案内する情報を含む案内画面を表示する表示部と、
前記カメラによる静止画像の撮影を前記案内画面の表示終了後に開始させる制御部と
を備える撮影装置。
続きを表示(約 770 文字)
【請求項2】
前記鏡は、鏡面を斜めに向けて設置される
請求項1に記載の撮影装置。
【請求項3】
撮影の準備の間、前記撮影空間内に定常光を照射する発光部をさらに備える
請求項1または2に記載の撮影装置。
【請求項4】
前記発光部は、前記カメラによる1回目の静止画像の撮影の開始前に発光を停止する
請求項3に記載の撮影装置。
【請求項5】
利用者が被写体となって撮影を行う空間である撮影空間を有し、
前記撮影空間に設置され、前記利用者を被写体として撮影を行うカメラと、
前記カメラによる撮影のタイミングに合わせて発光するストロボ装置と、
前記利用者の立ち位置を基準として前記カメラの左側と右側のうちの少なくともいずれかに設置された鏡と、
表示部と
を備える撮影装置が、
前記鏡を使って撮影の準備を行うことを案内する情報を含む案内画面を前記表示部に表示し、
前記カメラによる静止画像の撮影を前記案内画面の表示終了後に開始させる
制御方法。
【請求項6】
利用者が被写体となって撮影を行う空間である撮影空間を有し、
前記撮影空間に設置され、前記利用者を被写体として撮影を行うカメラと、
前記利用者の立ち位置を基準として前記カメラの左側と右側のうちの少なくともいずれかに設置された鏡と、
表示部と
を備える撮影装置を制御するコンピュータに、
前記鏡を使って撮影の準備を行うことを案内する情報を含む案内画面を前記表示部に表示し、
前記カメラによる静止画像の撮影を前記案内画面の表示終了後に開始させる
処理を実行させるためのプログラム。
発明の詳細な説明
【技術分野】
【0001】
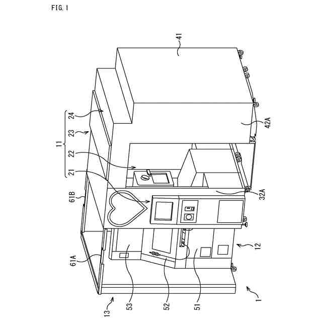
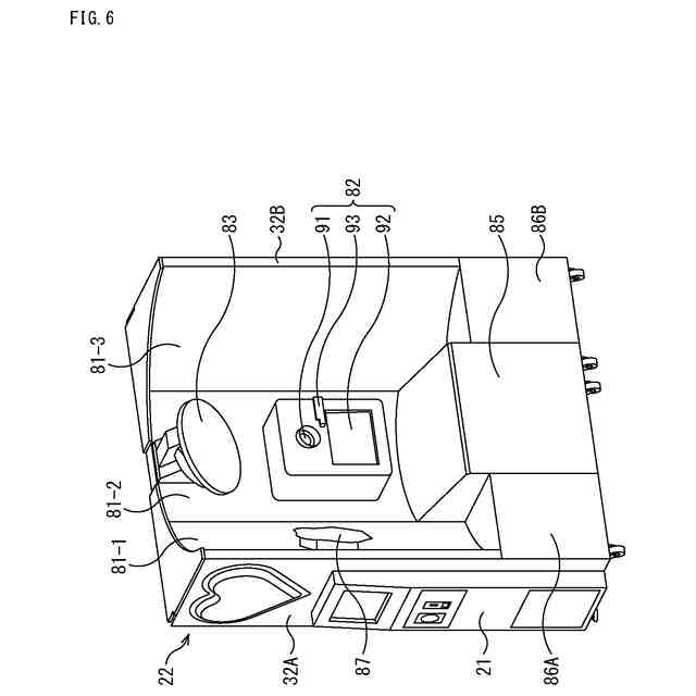
本技術は、身だしなみのチェックを撮影空間内で行うことができるようにした撮影装置、制御方法、およびプログラムに関する。
続きを表示(約 1,000 文字)
【背景技術】
【0002】
従来、写真シール機が知られている。写真シール機は、利用者を撮影し、撮影画像に対して利用者に編集を行わせ、編集後の画像をシール紙に印刷して提供するものである。写真シール機は遊戯施設などに設置される。
【0003】
写真シール機が提供する1ゲームの流れは、通常、撮影ブース内にいる利用者を被写体として撮影を行った後、利用者を編集ブースに移動させ、編集ブースで行われる操作に従って画像を編集して、編集済みの画像をシール紙に印刷する流れとなる。
【0004】
利用者は、手鏡などを使って身だしなみをチェックしてから撮影ブースに入り、撮影を始めることになる。
【先行技術文献】
【特許文献】
【0005】
特開2004-126389号公報
【発明の概要】
【発明が解決しようとする課題】
【0006】
身だしなみのチェックを撮影の直前に行いたいというニーズがある。
【0007】
仮に、身だしなみのチェック用の鏡などを撮影ブース内に単純に設置した場合、身だしなみのチェックを撮影の直前まで行うことができるものの、撮影時に使われるストロボ光が鏡で反射してしまい、画像の写りに悪影響を与えてしまうことがある。
【0008】
本技術はこのような状況に鑑みてなされたものであり、身だしなみのチェックを撮影空間内で行うことができるようにするものである。
【課題を解決するための手段】
【0009】
本技術の一側面の撮影装置は、利用者が被写体となって撮影を行う空間である撮影空間を有する撮影装置であって、前記撮影空間に設置され、前記利用者を被写体として撮影を行うカメラと、前記利用者の立ち位置を基準として前記カメラの左側と右側のうちの少なくともいずれかに設置された鏡と、前記鏡を使って撮影の準備を行うことを案内する情報を含む案内画面を表示する表示部と、前記カメラによる静止画像の撮影を前記案内画面の表示終了後に開始させる制御部とを備える。
【0010】
本技術の一側面においては、鏡を使って撮影の準備を行うことを案内する情報を含む案内画面が表示され、カメラによる静止画像の撮影が案内画面の表示終了後に開始される。
【発明の効果】
(【0011】以降は省略されています)
この特許をJ-PlatPat(特許庁公式サイト)で参照する
関連特許
フリュー株式会社
撮影装置、制御方法、およびプログラム
5日前
フリュー株式会社
情報処理装置、情報処理方法、およびプログラム
1か月前
個人
表示装置
1か月前
個人
雨用レンズカバー
1か月前
株式会社シグマ
絞りユニット
2か月前
日本精機株式会社
プロジェクタ
5日前
キヤノン株式会社
撮像装置
1か月前
キヤノン株式会社
撮像装置
12日前
キヤノン株式会社
撮像装置
2か月前
平和精機工業株式会社
雲台
3か月前
キヤノン株式会社
撮像装置
2か月前
キヤノン株式会社
撮像装置
1か月前
キヤノン株式会社
撮像装置
1か月前
日本精機株式会社
車両用投射装置
2か月前
キヤノン株式会社
撮像装置
3か月前
株式会社リコー
画像形成装置
26日前
株式会社リコー
画像形成装置
1か月前
株式会社リコー
画像形成装置
1か月前
株式会社リコー
画像形成装置
3か月前
株式会社リコー
画像形成装置
1か月前
株式会社リコー
画像形成装置
2か月前
株式会社リコー
画像形成装置
1か月前
株式会社リコー
画像形成装置
3か月前
キヤノン株式会社
画像形成装置
3か月前
キヤノン株式会社
トナー
2か月前
キヤノン株式会社
画像形成装置
1か月前
キヤノン株式会社
トナー
2か月前
キヤノン株式会社
画像形成装置
3か月前
キヤノン株式会社
画像形成装置
3か月前
キヤノン株式会社
画像形成装置
1か月前
キヤノン株式会社
トナー
3か月前
キヤノン株式会社
画像形成装置
20日前
シャープ株式会社
画像形成装置
3か月前
株式会社オプトル
プロジェクタ
2か月前
キヤノン株式会社
トナー
1か月前
株式会社オプトル
プロジェクタ
3か月前
続きを見る
他の特許を見る