TOP
|
特許
|
意匠
|
商標
特許ウォッチ
Twitter
他の特許を見る
10個以上の画像は省略されています。
公開番号
2025164525
公報種別
公開特許公報(A)
公開日
2025-10-30
出願番号
2024068550
出願日
2024-04-19
発明の名称
梱包支援システムおよび方法
出願人
理想科学工業株式会社
代理人
個人
主分類
G06Q
10/083 20240101AFI20251023BHJP(計算;計数)
要約
【課題】梱包材内に収容された複数の内容物の視認性を向上させることができる梱包支援システムおよび方法を提供する。
【解決手段】梱包材に梱包される複数の内容物の情報を取得する内容物情報取得部13と、内容物の情報に基づいて、台紙に対する複数の内容物の設置情報を決定する設置情報決定部15と、設置情報決定部15によって決定された設置情報を台紙に付与して梱包資材を生成する印刷装置46とを備える。
【選択図】図1
特許請求の範囲
【請求項1】
梱包材に梱包される複数の内容物の情報を取得する内容物情報取得部と、
前記内容物の情報に基づいて、基材に対する前記複数の内容物の設置情報を決定する設置情報決定部と、
前記設置情報決定部によって決定された設置情報を前記基材に付与して梱包資材を生成する設置情報付与部とを備えた梱包支援システム。
続きを表示(約 630 文字)
【請求項2】
前記設置情報付与部が、前記基材に対して前記複数の内容物の設置情報を印刷する請求項1記載の梱包支援システム。
【請求項3】
前記設置情報付与部が、前記基材に対して前記複数の内容物の情報を付与する請求項1記載の梱包支援システム。
【請求項4】
前記内容物情報取得部が、前記各内容物のサイズ情報または重さ情報を取得し、
前記設置情報決定部が、前記サイズ情報または重さ情報に基づいて、前記複数の内容物の設置情報を決定する請求項1記載の梱包支援システム。
【請求項5】
前記内容物情報取得部が、前記複数の内容物の発注情報に基づいて、前記複数の内容物の情報を取得する請求項1記載の梱包支援システム。
【請求項6】
前記複数の内容物を複数の前記梱包資材に設置し、スペーサ部材を挟んで前記複数の梱包資材を積層して前記梱包材内に収容する場合、
前記内容物情報取得部が、前記各内容物のサイズ情報を取得し、
前記設置情報決定部が、前記サイズ情報に基づいて、前記スペーサ部材の高さを決定する請求項1記載の梱包支援システム。
【請求項7】
梱包材に梱包される複数の内容物の情報を取得し、
前記内容物の情報に基づいて、基材に対する前記複数の内容物の設置情報を決定し、
該決定した設置情報を前記基材に付与して梱包資材を生成する梱包支援方法。
発明の詳細な説明
【技術分野】
【0001】
本発明は、内容物が設置され、内容物とともに梱包材内に梱包される梱包資材を生成する梱包支援システムおよび方法に関するものである。
続きを表示(約 1,100 文字)
【背景技術】
【0002】
近年、Amazon(登録商標)や楽天(登録商標)のようなEC(electronic commerce)の市場が拡大している。
【0003】
そして、ECサイトにおいて注文された商品は、たとえば物流業者などにおいて在庫商品の中からピッキングされ、段ボールなどの梱包材に梱包された後、受取人に発送される。
【先行技術文献】
【特許文献】
【0004】
特開2020-168839号公報
【発明の概要】
【発明が解決しようとする課題】
【0005】
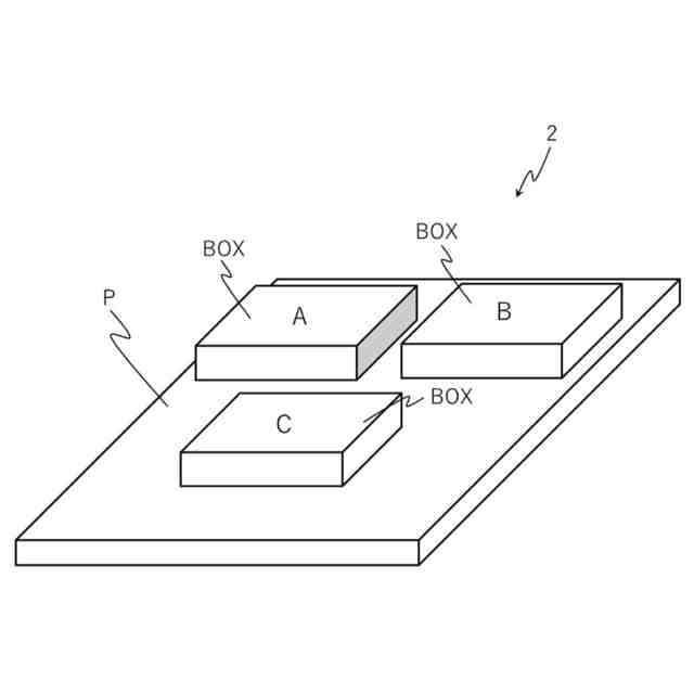
ここで、たとえば複数の商品が注文された場合、その複数の商品がピッキングされて1つの梱包材内に梱包されるが、この際、従来は、梱包材内に複数の商品が雑多に収容されていた。
【0006】
このため、たとえば物流業者において、梱包材の封緘前に、注文された複数の商品が間違いなく梱包材内に収容されているか照合する際、視認性が悪く、作業効率が下がる問題があった。また、受取人に商品が届いた後、受取人が梱包された複数の商品を確認する際においても、視認性が悪く、商品の照合をし難いという問題があった。
【0007】
なお、特許文献1においては、梱包される商品に応じて梱包材の大きさを自動的に調整するシステムが提案されているが、梱包材内に収容された複数の商品の視認性を向上させる方法については何も提案されていない。
【0008】
本発明は、上記事情に鑑み、梱包材内に収容された複数の内容物の視認性を向上させることができる梱包支援システムおよび方法を提供することを目的とするものである。
【課題を解決するための手段】
【0009】
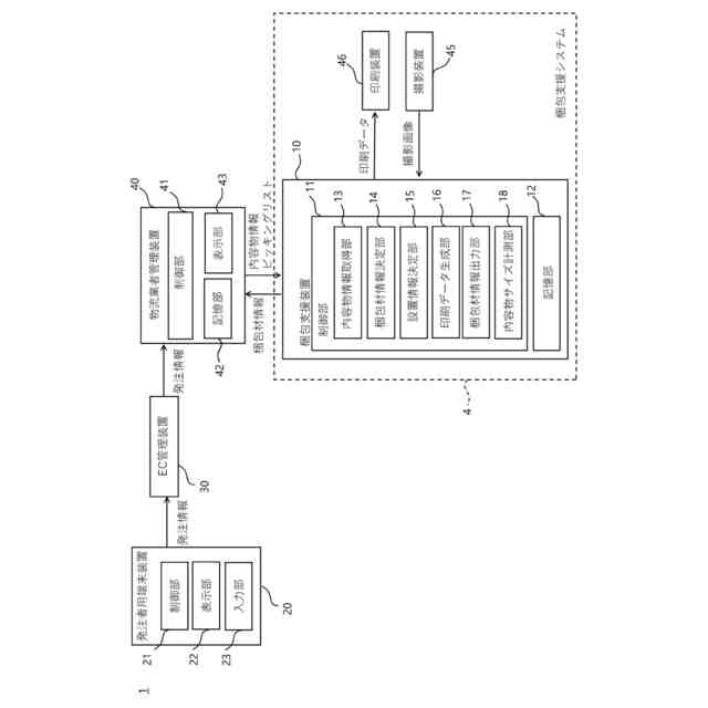
本発明の梱包支援システムは、梱包材に梱包される複数の内容物の情報を取得する内容物情報取得部と、内容物の情報に基づいて、基材に対する複数の内容物の設置情報を決定する設置情報決定部と、設置情報決定部によって決定された設置情報を基材に付与して梱包資材を生成する設置情報付与部とを備える。
【発明の効果】
【0010】
本発明の梱包支援システムによれば、梱包材に梱包される複数の内容物の情報に基づいて、基材に対する複数の内容物の設置情報を決定し、その決定した設置情報を基材に付与して梱包資材を生成するようにしたので、その生成した梱包資材に複数の内容物を設置し、梱包材内に収容することによって、複数の内容物の視認性を向上させることができる。
【図面の簡単な説明】
(【0011】以降は省略されています)
この特許をJ-PlatPat(特許庁公式サイト)で参照する
関連特許
理想科学工業株式会社
印刷装置
2日前
理想科学工業株式会社
印刷装置
1か月前
理想科学工業株式会社
媒体供給装置
4日前
理想科学工業株式会社
画像処理装置
1か月前
理想科学工業株式会社
廃液回収装置
1か月前
理想科学工業株式会社
孔版印刷装置
1か月前
理想科学工業株式会社
画像処理装置
1か月前
理想科学工業株式会社
画像形成装置
1か月前
理想科学工業株式会社
画像形成装置
1か月前
理想科学工業株式会社
ピストンポンプ
4日前
理想科学工業株式会社
シート供給装置
1か月前
理想科学工業株式会社
インクジェットインク
1か月前
理想科学工業株式会社
油性インクジェットインク
2日前
理想科学工業株式会社
梱包支援システムおよび方法
1か月前
理想科学工業株式会社
梱包支援装置、方法およびプログラム
1か月前
理想科学工業株式会社
梱包支援装置、方法およびプログラム
1か月前
個人
詐欺保険
1か月前
個人
縁伊達ポイン
1か月前
個人
5掛けポイント
1か月前
個人
職業自動販売機
23日前
個人
RFタグシート
1か月前
個人
地球保全システム
2か月前
個人
QRコードの彩色
1か月前
個人
ペルソナ認証方式
1か月前
個人
自動調理装置
1か月前
個人
情報処理装置
1か月前
個人
立体グラフの利用方法
2日前
個人
残土処理システム
2か月前
個人
農作物用途分配システム
1か月前
個人
表変換編集支援システム
2か月前
個人
インターネットの利用構造
1か月前
個人
サービス情報提供システム
25日前
NISSHA株式会社
入力装置
3日前
個人
知的財産出願支援システム
2か月前
個人
タッチパネル操作指代替具
1か月前
個人
スケジュール調整プログラム
1か月前
続きを見る
他の特許を見る