TOP
|
特許
|
意匠
|
商標
特許ウォッチ
Twitter
他の特許を見る
公開番号
2025175395
公報種別
公開特許公報(A)
公開日
2025-12-03
出願番号
2024081481
出願日
2024-05-20
発明の名称
媒体供給装置
出願人
理想科学工業株式会社
代理人
インフォート弁理士法人
主分類
B65H
3/48 20060101AFI20251126BHJP(運搬;包装;貯蔵;薄板状または線条材料の取扱い)
要約
【課題】傾いて昇降する積載台上で媒体の供給方向における上流側部分にエアを吹き付ける媒体供給装置において、簡素な構成で媒体の分離を促す。
【解決手段】媒体供給装置1は、媒体Mが積載される積載台10と、この積載台10を傾けて昇降させる昇降機構20と、積載台10上の媒体Mの供給方向Dにおける上流側部分MaにエアAを吹き付け、複数の媒体Mを互いに分離させる送風機30と、積載台10と積載台10に積載された媒体Mの上流側部分Maとの間に挿入され、積載台10上で複数の媒体Mの残量が少ない場合に、送風機30によるエアAの吹き付けによって浮き上がることで媒体Mの上流側部分Maを持ち上げる持ち上げ部材40とを備える。
【選択図】図4
特許請求の範囲
【請求項1】
媒体が積載される積載台と、
前記積載台を傾けて昇降させる昇降機構と、
前記積載台上の前記媒体の供給方向における上流側部分にエアを吹き付け、複数の前記媒体を互いに分離させる送風機と、
前記積載台と当該積載台に積載された前記媒体の前記上流側部分との間に挿入され、前記積載台上で前記複数の媒体の残量が少ない場合に、エアの吹き付けによって浮き上がることで前記媒体の前記上流側部分を持ち上げる持ち上げ部材と
を備えることを特徴とする媒体供給装置。
続きを表示(約 290 文字)
【請求項2】
前記持ち上げ部材は、前記送風機に固定され、
前記送風機は、前記持ち上げ部材の上下からエアを吹き出し、前記持ち上げ部材をエアの吹き付けによって浮き上がらせる
ことを特徴とする請求項1記載の媒体供給装置。
【請求項3】
前記送風機を制御する制御部を更に備え、
前記制御部は、前記媒体の種類に基づいて、前記送風機の風量を調整する
ことを特徴とする請求項1記載の媒体供給装置。
【請求項4】
前記持ち上げ部材は、可撓性フィルムである
ことを特徴とする請求項1から3のいずれか1項記載の媒体供給装置。
発明の詳細な説明
【技術分野】
【0001】
本発明は、媒体供給装置に関する。
続きを表示(約 1,400 文字)
【背景技術】
【0002】
従来、積層された用紙を確実に分離させるために、用紙束に対して用紙搬送方向後端側から空気を吹き付けるダクトを備える給紙装置が知られている(例えば、特許文献1参照)。
【0003】
また、記録用紙が積載されるボトムプレートとして、記録用紙の給紙方向後端側を支点として給紙方向前端側が給紙ロールに向けて付勢され、給紙トレイ内に収容された最上位用紙の給紙方向前縁部を給紙ロールに圧接させるボトムプレートを備える給紙装置が知られている(例えば、特許文献2参照)。
【先行技術文献】
【特許文献】
【0004】
特許第6698323号公報
特開2007-145442号公報
【発明の概要】
【発明が解決しようとする課題】
【0005】
ところで、積載台上の媒体の供給方向における上流側部分にエアを吹き付け、複数の媒体を互いに分離させる構成を採用し、且つ、積載台を傾けて昇降させる構成を採用する場合、媒体の残量が減ってくると、積載台の水平に対する傾きが大きくなる。そのため、媒体の残量が少ない状態では、媒体の上流側部分にエアが吹き付けられにくくなり、複数の媒体が互いに分離しにくくなる。媒体を分離することができないと、媒体の重送が発生する。なお、媒体の残量が少ない場合にエアの気流の向きを水平から斜め下方に変更することが考えられるが、気流を変更するために構造が複雑化するとともに、気流の向きと積載台上の媒体とが平行にならないため媒体が分離しづらい。
【0006】
本発明の目的は、傾いて昇降する積載台上で媒体の供給方向における上流側部分にエアを吹き付ける媒体供給装置において、簡素な構成で媒体の分離を促すことである。
【課題を解決するための手段】
【0007】
1つの態様では、媒体供給装置は、媒体が積載される積載台と、前記積載台を傾けて昇降させる昇降機構と、前記積載台上の前記媒体の供給方向における上流側部分にエアを吹き付け、複数の前記媒体を互いに分離させる送風機と、前記積載台と当該積載台に積載された前記媒体の前記上流側部分との間に挿入され、前記積載台上で前記複数の媒体の残量が少ない場合に、エアの吹き付けによって浮き上がることで前記媒体の前記上流側部分を持ち上げる持ち上げ部材とを備える。
【発明の効果】
【0008】
前記態様によれば、傾いて昇降する積載台上で媒体の供給方向における上流側部分にエアを吹き付ける媒体供給装置において、簡素な構成で媒体の分離を促すことができる。
【図面の簡単な説明】
【0009】
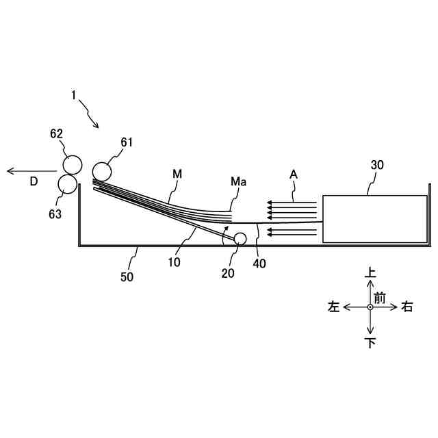
一実施の形態に係る媒体供給装置の内部構造を示す正面図である。
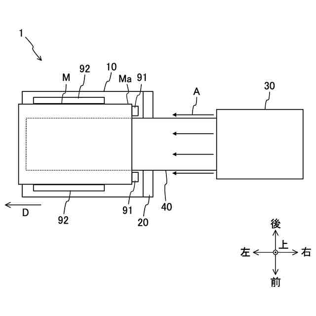
一実施の形態に係る媒体供給装置を示す平面図である。
一実施の形態に係る媒体供給装置の制御構成を示すブロック図である。
一実施の形態に係る、媒体の残量が少ない状態の媒体供給装置の内部構造を示す正面図である。
比較例における、持ち上げ部材が省略された状態の媒体供給装置の内部構造を示す正面図である。
【発明を実施するための形態】
【0010】
以下、本発明の一実施の形態に係る媒体供給装置について、図面を参照しながら説明する。
(【0011】以降は省略されています)
この特許をJ-PlatPat(特許庁公式サイト)で参照する
関連特許
理想科学工業株式会社
印刷装置
2日前
理想科学工業株式会社
印刷装置
1か月前
理想科学工業株式会社
媒体供給装置
4日前
理想科学工業株式会社
画像処理装置
1か月前
理想科学工業株式会社
廃液回収装置
1か月前
理想科学工業株式会社
孔版印刷装置
1か月前
理想科学工業株式会社
画像処理装置
1か月前
理想科学工業株式会社
画像形成装置
1か月前
理想科学工業株式会社
画像形成装置
1か月前
理想科学工業株式会社
ピストンポンプ
4日前
理想科学工業株式会社
シート供給装置
1か月前
理想科学工業株式会社
インクジェットインク
1か月前
理想科学工業株式会社
油性インクジェットインク
2日前
理想科学工業株式会社
梱包支援システムおよび方法
1か月前
理想科学工業株式会社
梱包支援装置、方法およびプログラム
1か月前
理想科学工業株式会社
梱包支援装置、方法およびプログラム
1か月前
個人
束ね具
26日前
個人
収容箱
4か月前
個人
コンベア
6か月前
個人
段ボール箱
8か月前
個人
段ボール箱
8か月前
個人
容器
10か月前
個人
ゴミ収集器
8か月前
個人
バンド
3か月前
個人
土嚢運搬器具
9か月前
個人
角筒状構造体
6か月前
個人
宅配システム
8か月前
個人
楽ちんハンド
6か月前
個人
テープ引出機
26日前
個人
包装容器
2か月前
個人
お薬の締結装置
7か月前
個人
閉塞装置
11か月前
個人
コード類収納具
9か月前
個人
棒状体収容容器
1か月前
個人
廃棄物収容容器
4か月前
個人
積み重ね用補助具
4か月前
続きを見る
他の特許を見る