TOP
|
特許
|
意匠
|
商標
特許ウォッチ
Twitter
他の特許を見る
公開番号
2025165193
公報種別
公開特許公報(A)
公開日
2025-11-04
出願番号
2024069154
出願日
2024-04-22
発明の名称
シート供給装置
出願人
理想科学工業株式会社
代理人
個人
,
個人
,
個人
主分類
B65H
1/00 20060101AFI20251027BHJP(運搬;包装;貯蔵;薄板状または線条材料の取扱い)
要約
【課題】シートのサイズの誤検出を低減できるシート供給装置を提供する。
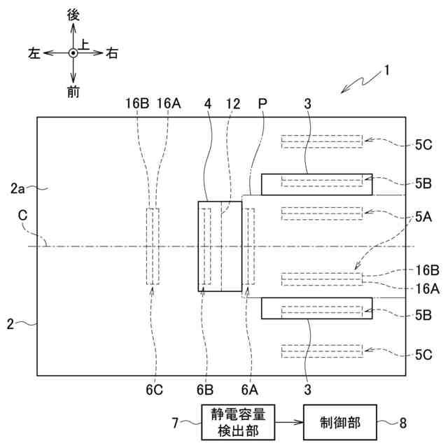
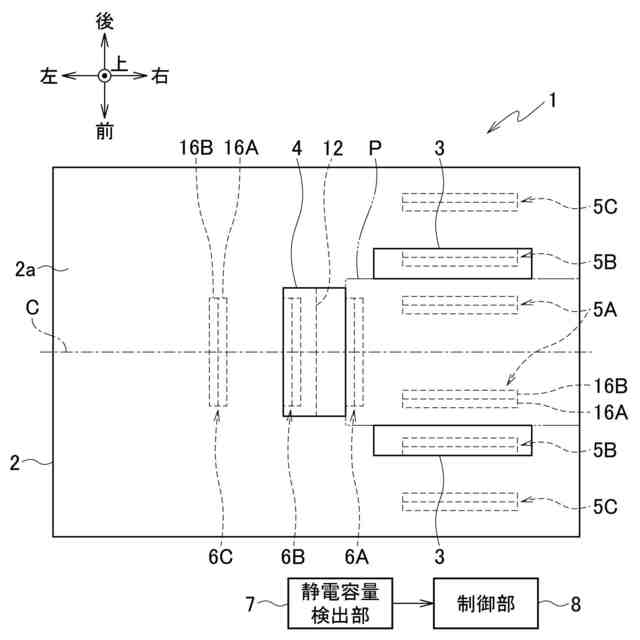
【解決手段】サイドガイド3は、用紙トレイ2に積載された用紙Pの位置を規制する。サイドガイド3は、前後方向に移動可能である。検知電極5A~5Cは、それぞれ電極16A,16Bの対により形成され、それぞれ用紙トレイ2における所定の位置に配置されている。静電容量検出部7は、検知電極5A~5Cのそれぞれの静電容量を検出する。制御部8は、静電容量検出部7が検出した検知電極5A~5Cのそれぞれの静電容量に基づき、前後方向における用紙Pのサイズおよびサイドガイド3の位置を検出する。
【選択図】図2
特許請求の範囲
【請求項1】
トレイに積載されたシートの位置を規制する移動可能なガイドと、
それぞれ電極の対により形成され、それぞれ前記トレイにおける所定の位置に配置された複数の検知電極と、
前記複数の検知電極のそれぞれの静電容量を検出する静電容量検出部と、
前記静電容量検出部が検出した前記複数の検知電極のそれぞれの静電容量に基づき、前記ガイドの移動方向におけるシートのサイズおよび前記ガイドの位置を検出する制御部と
を備えることを特徴とするシート供給装置。
発明の詳細な説明
【技術分野】
【0001】
本発明は、シート供給装置に関する。
続きを表示(約 1,100 文字)
【背景技術】
【0002】
シートを供給するシート供給装置として、用紙トレイに積載された用紙を印刷装置に給紙する給紙装置が知られている。
【0003】
このような給紙装置において、用紙トレイに積載された用紙の位置を規制するための移動可能な用紙ガイドの位置を検出することで、用紙のサイズを検出する技術が知られている。
【0004】
このような技術として、特許文献1に開示されたものがある。特許文献1に開示された画像形成装置は、用紙ガイドに設けられた導体と、導体に対向する位置に配置された第一電極および第二電極と、第一電極および第二電極に蓄えられた電気量に応じた信号を出力する静電容量検出器とを備える。
【0005】
この画像形成装置では、用紙ガイドの位置の変更に伴い、導体と第一電極および第二電極との対向面積が変化する。これにより、静電容量検出器の出力信号が変化し、その出力信号から検出される静電容量値が変化する。そこで、この画像形成装置は、静電容量値から用紙ガイドの位置を検出し、用紙ガイドの位置から用紙のサイズを判定している。
【先行技術文献】
【特許文献】
【0006】
特開2020-83593号公報
【発明の概要】
【発明が解決しようとする課題】
【0007】
しかしながら、特許文献1の技術では、用紙のサイズを直接検出しているわけではないことから、用紙のサイズの誤検出が生じることがある。例えば、ユーザが用紙ガイドの操作を忘れたり、不適切な位置に用紙ガイドを設定したりした場合、用紙のサイズの誤検出が生じることがある。
【0008】
本発明は上記に鑑みてなされたもので、シートのサイズの誤検出を低減できるシート供給装置を提供することを目的とする。
【課題を解決するための手段】
【0009】
上記目的を達成するため、本発明のシート供給装置は、トレイに積載されたシートの位置を規制する移動可能なガイドと、それぞれ電極の対により形成され、それぞれ前記トレイにおける所定の位置に配置された複数の検知電極と、前記複数の検知電極のそれぞれの静電容量を検出する静電容量検出部と、前記静電容量検出部が検出した前記複数の検知電極のそれぞれの静電容量に基づき、前記ガイドの移動方向におけるシートのサイズおよび前記ガイドの位置を検出する制御部とを備えることを特徴とする。
【発明の効果】
【0010】
本発明のシート供給装置によれば、シートのサイズの誤検出を低減できる。
【図面の簡単な説明】
(【0011】以降は省略されています)
この特許をJ-PlatPat(特許庁公式サイト)で参照する
関連特許
個人
束ね具
26日前
個人
収容箱
4か月前
個人
コンベア
6か月前
個人
段ボール箱
8か月前
個人
ゴミ収集器
8か月前
個人
段ボール箱
8か月前
個人
容器
10か月前
個人
楽ちんハンド
6か月前
個人
バンド
3か月前
個人
テープ引出機
26日前
個人
宅配システム
8か月前
個人
角筒状構造体
6か月前
個人
土嚢運搬器具
9か月前
個人
棒状体収容容器
1か月前
個人
コード類収納具
9か月前
個人
廃棄物収容容器
4か月前
個人
包装容器
2か月前
個人
お薬の締結装置
7か月前
株式会社和気
包装用箱
10か月前
個人
蓋閉止構造
5か月前
個人
把手付米袋
6か月前
個人
ゴミ処理機
10か月前
個人
積み重ね用補助具
4か月前
個人
貯蔵サイロ
8か月前
株式会社バンダイ
物品
2か月前
株式会社和気
包装用箱
1か月前
株式会社コロナ
梱包材
6か月前
個人
蓋閉止構造
5か月前
株式会社KY7
封止装置
4か月前
個人
コード折り畳み器具
5か月前
個人
介護用コップ
3か月前
株式会社イシダ
搬送装置
7か月前
三甲株式会社
容器
1か月前
株式会社新弘
容器
4か月前
三甲株式会社
蓋体
9か月前
個人
搬送システム
8か月前
続きを見る
他の特許を見る