TOP
|
特許
|
意匠
|
商標
特許ウォッチ
Twitter
他の特許を見る
10個以上の画像は省略されています。
公開番号
2025163558
公報種別
公開特許公報(A)
公開日
2025-10-29
出願番号
2024066948
出願日
2024-04-17
発明の名称
二重容器およびキャップ付き二重容器
出願人
株式会社 資生堂
代理人
個人
,
個人
主分類
B65D
77/04 20060101AFI20251022BHJP(運搬;包装;貯蔵;薄板状または線条材料の取扱い)
要約
【課題】外容器を変形しにくい材質で形成しても、内容器と外容器との係合に関わる部分に破損を生じさせない二重容器を提供する。
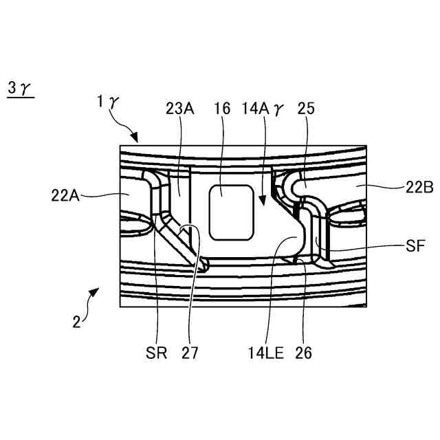
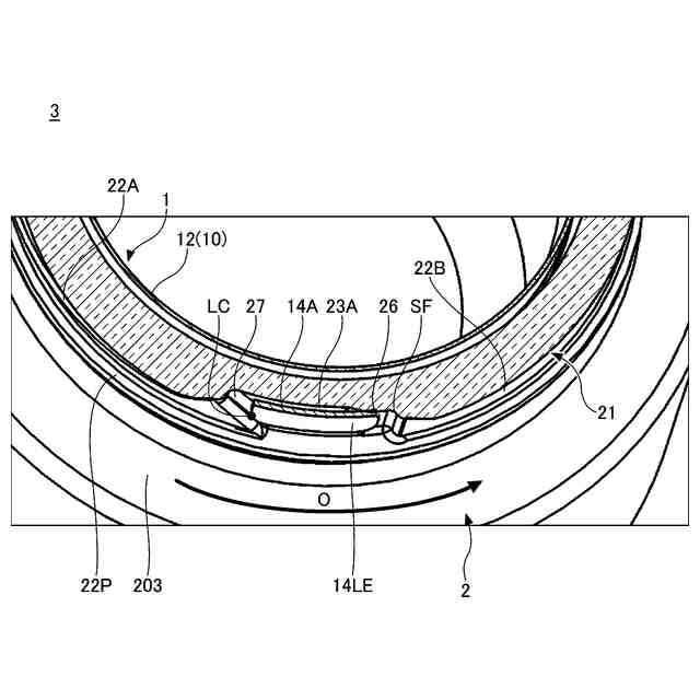
【解決手段】外容器2と内容器1とを有する二重容器3では、外容器2は筒状の口部21を有し、内容器1は垂下タブ14Aを有し、外容器2の口部21では内側面からの径方向の厚みが厚い厚肉部22A、22Bと径方向に段差状に凹んだ薄肉部23Aとが設けられ、キャップが口部21に対して螺合係合を解除する方向を開方向Oとしたとき、薄肉部23Aの、厚肉部22Bとの境界の段差において、厚肉部の上端近傍の一部が開方向の後側に突出することで抜け止め突起25が形成され、凹部の下側が前側に長い下部延出部14LEであり、内容器1を外容器2に装着した状態では、抜け止め突起25の下に、垂下タブ14Aの下部延出部14LEの少なくとも一部が位置する。
【選択図】図2
特許請求の範囲
【請求項1】
外容器と、該外容器に対して取換可能に収容される内容器とを有する二重容器であって、
前記外容器は、底壁と、側壁と、該側壁の上に位置する筒状の口部を有し、
前記内容器は、内容物を収容する底面及び側面を含む収容部と、該側面の上端全周から径外方向に突出する上端フランジと、該上端フランジの外縁から垂下する垂下タブを有し、
前記外容器の口部では、内側面が連続した円周面であり、前記内側面からの径方向の厚みが厚い厚肉部と、前記厚肉部の端部から径方向に段差状に凹み、前記厚肉部よりも周方向に短い薄肉部とが設けられ、
前記外容器の前記厚肉部の外周面には、雌ネジを有するキャップと螺合係合可能な、螺旋突起が設けられ、
前記キャップが前記外容器の前記口部に対して螺合係合を解除する方向を円周方向における開方向としたとき、
前記薄肉部の、前記開方向の前側に位置する前記厚肉部との境界の段差において、前記厚肉部の上端近傍の一部が前記開方向の後側に突出することで抜け止め突起が形成され、
前記内容器の前記垂下タブの前記開方向の前側側縁において、上端又は上端近傍が凹む凹部が形成され、該凹部の下側が前記前側に長い下部延出部であり、
前記内容器を前記外容器に装着した状態では、前記抜け止め突起の下に、前記垂下タブの前記下部延出部の少なくとも一部が位置する
二重容器。
続きを表示(約 1,700 文字)
【請求項2】
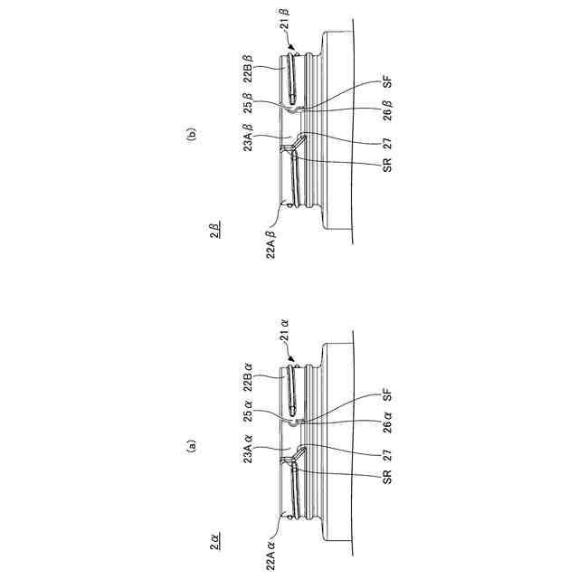
前記薄肉部の、前記開方向の後側に位置する前記厚肉部との境界の段差において、前記厚肉部の下端が、下になるほど前記薄肉部の前記開方向の前側に突出するように傾斜した傾斜端縁となっており、
前記薄肉部の上端は、前記垂下タブの下端よりも幅が広く、
前記内容器を前記外容器に装着する際、前記内容器を前記外容器の前記口部に対して載置すると、前記内容器の前記垂下タブの前記開方向の後側側縁の下端角部が、前記傾斜端縁に接触しながら、前記垂下タブが斜め下方向にスライド移動して、前記垂下タブの前記下部延出部が、前記抜け止め突起の下に案内される
請求項1に記載の二重容器。
【請求項3】
前記外容器の、前記抜け止め突起の下側には、前記薄肉部よりも外径側に厚く、前記厚肉部よりも薄い中間厚さ領域が設けられており、
前記中間厚さ領域の、前記薄肉部との境界部分は、前記抜け止め突起の突起先端よりも、前記開方向の前端側に位置するとともに、緩やかに厚みが変化しており、
前記内容器を前記外容器に装着した状態では、前記垂下タブの前記下部延出部の少なくとも一部は、前記中間厚さ領域と面接触している
請求項1に記載の二重容器。
【請求項4】
前記垂下タブの凹部は、上端を含む横向き直角台形に切り欠かれ、
前記外容器の前記傾斜端縁の傾斜と、前記垂下タブの前記凹部の前記直角台形の側辺に対応する傾斜端の傾斜は、平行である
請求項2に記載の二重容器。
【請求項5】
外容器と、該外容器に対して取換可能に収容される内容器とを有する二重容器であって、
前記外容器は、底壁と、側壁と、該側壁の上に位置する筒状の口部を有し、
前記内容器は、内容物を収容する底面及び側面を含む収容部と、該側面の上端全周から径外方向に突出する上端フランジと、該上端フランジの外縁から垂下する垂下タブを有し、
前記外容器の口部では、内側面が連続した円周面であり、前記内側面からの径方向の厚みが厚い厚肉部と、前記厚肉部の端部から径方向に段差状に凹み、前記厚肉部よりも周方向に短い薄肉部とが設けられ、
前記外容器の前記厚肉部の外周面には、雌ネジを有するキャップと螺合係合可能な、螺旋突起が設けられ、
前記キャップが前記外容器の前記口部に対して螺合係合を解除する方向を円周方向における開方向としたとき、
前記薄肉部の、円周方向の両端において少なくとも下部には、前記薄肉部よりも外径側に厚く、前記厚肉部よりも薄い中間厚さ領域が設けられており、
前記中間厚さ領域の、前記薄肉部との境界部分は、緩やかに厚みが変化しており、
前記内容器の前記垂下タブの前記円周方向の両端において、上端又は上端近傍が凹む凹部が形成され、該凹部の下側が外側に長い下部延出部であり、
前記内容器を前記外容器に装着した状態では、前記垂下タブの前記円周方向の両端の前記下部延出部の少なくとも一部は、前記中間厚さ領域と面接触している
二重容器。
【請求項6】
前記外容器の前記薄肉部の、円周方向の両端の前記厚肉部との境界の段差において、前記厚肉部の上端近傍の一部が前記開方向の後側に突出することで抜け止め突起が形成されており、
前記中間厚さ領域の、前記薄肉部との境界部分は、前記抜け止め突起の突起先端よりも、前記円周方向の中央側に位置している
請求項5に記載の二重容器。
【請求項7】
前記外容器はガラスで構成されている
請求項1に記載の二重容器。
【請求項8】
前記内容器は、金属を含んで構成されている
請求項1に記載の二重容器。
【請求項9】
請求項1乃至8のいずれか一項に記載の二重容器と、
前記外容器の口部と螺合係合可能な、雌ネジを有するキャップとを備える、
キャップ付き二重容器。
【請求項10】
前記キャップの天面の下面には、シール材が設けられている、
請求項9に記載のキャップ付き二重容器。
発明の詳細な説明
【技術分野】
【0001】
本発明は、二重容器およびキャップ付き二重容器に関する。
続きを表示(約 1,800 文字)
【背景技術】
【0002】
近年、SDGs(Sustainable Development Goals)の環境観点から内容物を使い切った後に、新たな内容器に交換可能な詰め替え容器が提案されている。
【0003】
内容器を交換可能にする場合、通常使用時は、内容器は外容器に対して係合していることが好ましい。例えば、特許文献1では、図1に示すように、内容器90の上端に位置するフランジ95の外縁から垂下する爪部97の内側下端突起98が、外容器80の環状壁81の上端の外周面に設けられた突出部87と係止する構造が開示されている。
【先行技術文献】
【特許文献】
【0004】
特許第6831267号公報
【発明の概要】
【発明が解決しようとする課題】
【0005】
しかし、特許文献1では、径方向において爪部97の内側下端突起98が突出部87を乗り越えて係合するため、仮に外容器80をガラスで成形した場合、上記爪部97の乗り越えの衝撃により、外容器80の突出部87が破損してしまう可能性があった。
【0006】
そこで、本発明は上記事情に鑑み、外容器を変形しにくい材質で形成しても、内容器と外容器との係合に関わる部分に破損を生じさせない二重容器、の提供を目的とする。
【課題を解決するための手段】
【0007】
上記課題を解決するため、本発明の一態様では、
外容器と、該外容器に対して取換可能に収容される内容器とを有する二重容器であって、
前記外容器は、底壁と、側壁と、該側壁の上に位置する筒状の口部を有し、
前記内容器は、内容物を収容する底面及び側面を含む収容部と、該側面の上端全周から径外方向に突出する上端フランジと、該上端フランジの外縁から垂下する垂下タブを有し、
前記外容器の口部では、内側面が連続した円周面であり、前記内側面からの径方向の厚みが厚い厚肉部と、前記厚肉部の端部から径方向に段差状に凹み、前記厚肉部よりも周方向に短い薄肉部とが設けられ、
前記外容器の前記厚肉部の外周面には、雌ネジを有するキャップと螺合係合可能な、螺旋突起が設けられ、
前記キャップが前記外容器の前記口部に対して螺合係合を解除する方向を円周方向における開方向としたとき、
前記薄肉部の、前記開方向の前側に位置する前記厚肉部との境界の段差において、前記厚肉部の上端近傍の一部が前記開方向の後側に突出することで抜け止め突起が形成され、
前記内容器の前記垂下タブの前記開方向の前側側縁において、上端又は上端近傍が凹む凹部が形成され、該凹部の下側が前記前側に長い下部延出部であり、
前記内容器を前記外容器に装着した状態では、前記抜け止め突起の下に、前記垂下タブの前記下部延出部の少なくとも一部が位置する
二重容器、を提供する。
【発明の効果】
【0008】
一態様によれば、二重容器において、外容器を変形しにくい材質で形成しても、内容器と外容器との係合に関わる部分に破損を生じさせなくする。
【図面の簡単な説明】
【0009】
従来例に係る二重容器を分解した側面断面図。
本発明の第1実施形態に係る二重容器の斜視図。
第1実施形態に係るキャップ付き二重容器の縦断面図。
第1実施形態に係る二重容器の内容器と外容器の分解斜視図。
第1実施形態の内容器装着時の、外容器の口部に対する垂下タブの動作説明図。
第1実施形態に係る二重容器の垂下タブの下部延出部を通る横断面斜視拡大図。
第1実施形態に係る外容器の抜け止め突起の変形例を示す拡大図。
第1実施形態に係る内容器の垂下タブの変形例を示す拡大図。
本発明の第2実施形態に係る二重容器の斜視図。
【発明を実施するための形態】
【0010】
以下、図面を参照して本発明を実施するための形態について説明する。下記、各図面において、同一構成部分には同一符号を付し、重複した説明を省略する場合がある。
(【0011】以降は省略されています)
この特許をJ-PlatPat(特許庁公式サイト)で参照する
関連特許
株式会社 資生堂
化粧料組成物
10日前
株式会社 資生堂
化粧料組成物
11日前
株式会社 資生堂
水中油型乳化化粧料
11日前
株式会社 資生堂
植物抽出物組成物およびその用途
3日前
株式会社 資生堂
評価方法、評価装置、およびプログラム
5日前
株式会社 資生堂
水中油型乳化化粧料組成物又は水系化粧料組成物
11日前
株式会社 資生堂
針状突起付きパーツ
24日前
株式会社 資生堂
血小板由来成長因子(PDGF)-BB産生亢進剤、及びそれを含む幹細胞安定化剤、並びにそれらを含む皮膚抗老化剤
24日前
個人
束ね具
27日前
個人
収容箱
4か月前
個人
コンベア
6か月前
個人
段ボール箱
8か月前
個人
ゴミ収集器
8か月前
個人
段ボール箱
8か月前
個人
土嚢運搬器具
9か月前
個人
楽ちんハンド
6か月前
個人
テープ引出機
27日前
個人
角筒状構造体
6か月前
個人
バンド
3か月前
個人
宅配システム
8か月前
個人
廃棄物収容容器
4か月前
個人
お薬の締結装置
7か月前
個人
コード類収納具
9か月前
個人
包装容器
2か月前
個人
棒状体収容容器
1か月前
株式会社和気
包装用箱
10か月前
個人
把手付米袋
6か月前
株式会社コロナ
梱包材
6か月前
株式会社バンダイ
物品
2か月前
株式会社和気
包装用箱
1か月前
個人
蓋閉止構造
5か月前
個人
ゴミ処理機
10か月前
個人
蓋閉止構造
5か月前
個人
貯蔵サイロ
8か月前
個人
積み重ね用補助具
4か月前
株式会社KY7
封止装置
4か月前
続きを見る
他の特許を見る