TOP
|
特許
|
意匠
|
商標
特許ウォッチ
Twitter
他の特許を見る
公開番号
2025163020
公報種別
公開特許公報(A)
公開日
2025-10-28
出願番号
2025112733,2024103916
出願日
2025-07-03,2016-03-08
発明の名称
符号化されたオーディオ信号を復号するためのデコーダおよびオーディオ信号を符号化するためのエンコーダ
出願人
フラウンホッファー-ゲゼルシャフト ツァ フェルダールング デァ アンゲヴァンテン フォアシュンク エー.ファオ
代理人
弁理士法人岡田特許事務所
主分類
G10L
19/02 20130101AFI20251021BHJP(楽器;音響)
要約
【課題】オーディオ符号化における信号適応変換カーネルスイッチングのための方法および装置を提供する。
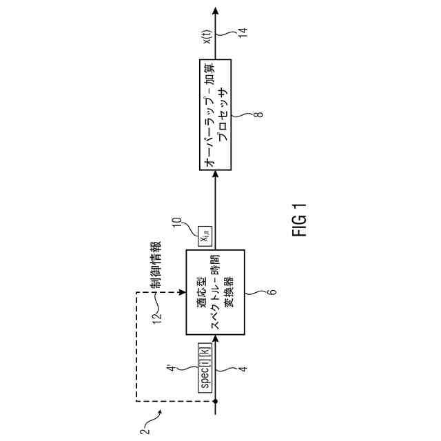
【解決手段】デコーダ2は、適応型スペクトル-時間変換器6とオーバーラップ加算プロセッサ8とを含む。適応型スペクトル-時間変換器6は、連続するスペクトル値4’のブロックを周波数-時間変換を介して時間値の連続するブロック10に変換し、さらに、制御情報12に応じて、カーネルの両側に異なる対称性を有する1つ以上の変換カーネルを含む変換カーネルの第1のグループと、カーネルの両側に同じ対称性を有する1つ以上の変換カーネルを含む変換カーネルの第2のグループと、を切り替える。オーバーラップ加算プロセッサ8は、時間値10の連続するブロックをオーバーラップして加算して復号されたオーディオ値14を生成する。
【選択図】図1
特許請求の範囲
【請求項1】
符号化されたオーディオ信号(4)を復号するためのデコーダ(2)であって、
前記デコーダは、
スペクトル値(4’、4’’)の連続するブロックを時間値(10)の連続するブロッ
クに変換する適応型スペクトル-時間変換器(6)、および
復号化されたオーディオ値(14)を得るために、時間値(10)の連続するブロック
を重ね合わせて加算するためのオーバーラップ加算プロセッサ(8)を含み、
前記適応型スペクトル-時間変換器(6)は、制御情報(12)を受信し、前記制御情
報に応じて、カーネルの両側に異なる対称性を有する1つ以上の変換カーネルを含む変換
カーネルの第1のグループと、変換カーネルの両側に同じ対称性を有する1つ以上の変換
カーネルを含む変換カーネルの第2のグループとの間で、切り替えるように構成される、
デコーダ。
続きを表示(約 2,700 文字)
【請求項2】
前記変換カーネルの第1のグループは、前記カーネルの左側に奇数対称性を有し、右側
に偶数対称性を有する、またはその逆の1つ以上の変換カーネルを有する、あるいは前記
変換カーネルの第2のグループは、前記カーネルの両側に偶数対称性または奇数対称性を
有する1つ以上の変換カーネルを有する、請求項1に記載のデコーダ(2)。
【請求項3】
前記変換カーネルの第1のグループは、逆MDCT-IV変換カーネルまたは逆MDS
T-IV変換カーネルを含む、あるいは前記変換カーネルの第2のグループは、逆MDC
T-II変換カーネルまたは逆MDST-II変換カーネルを含む、請求項1または請求
項2に記載のデコーダ(2)。
【請求項4】
前記第1のグループおよび前記第2のグループの前記変換カーネルは、以下の式に基づ
いていて、
JPEG
2025163020000012.jpg
17
133
前記第1のグループの前記少なくとも1つの変換カーネルは、
cs( )=cos( )および k
0
=0.5
または
cs( )=sin( )および k
0
=0.5
のパラメータに基づいており、
または
前記第2のグループの少なくとも1つの変換カーネルは、
cs( )=cos( )および k
0
=0
または
cs( )=sin( )および k
0
=1
のパラメータに基づいており、
ここで、x
i,n
は時間領域出力であり、Cは定数パラメータであり、Nは時間窓長であ
り、specはブロックについてM個の値を有するスペクトル値であり、MはN/2に等
しく、iは時間ブロックインデックスであり、kはスペクトル値を示すスペクトルインデ
ックスであり、nはブロックiにおける時間値を示す時間インデックスであり、n
0
は整
数またはゼロである定数パラメータである、請求項1~請求項3のいずれか1項に記載の
デコーダ(2)。
【請求項5】
前記制御情報(12)は、現在のフレームについての現在の対称性を示す現在のビット
を含み、
前記適応型スペクトル-時間変換器(6)は、前記現在のビットが前のフレームで使用
されたのと同じ対称性を示すとき、前記第1のグループから前記第2のグループに切り替
わらないように構成され、
前記適応型スペクトル-時間変換器は、前記現在のビットが前記前のフレームで使用さ
れたものとは異なる対称性を示すとき、前記第1のグループから前記第2のグループに切
り替えるように構成される、請求項1~請求項4のいずれか1項に記載のデコーダ(2)
。
【請求項6】
前記適応型スペクトル-時間変換器(6)は、現在のフレームの現在の対称性を示す現
在のビットが前記前のフレームで使用されたものと同じ対称性を示すとき、前記第2のグ
ループを前記第1のグループに切り替えるように構成され、
前記適応型スペクトル-時間変換器(6)は、前記現在のビットが前記前のフレームで
使用されていたものとは異なる対称性を有する前記現在のフレームの現在の対称性を示す
とき、前記第2のグループから前記第1のグループに切り替わらないように構成される、
請求項1~請求項5のいずれか1項に記載のデコーダ(2)。
【請求項7】
前記適応型スペクトル-時間変換器(6)は、前のフレームについての制御情報(12
)を符号化されたオーディオ信号(4)から、および前記前のフレームに続く現在のフレ
ームについての制御情報を前記現在のフレームの制御データセクション内の前記符号化さ
れたオーディオ信号から読み出すように構成される、あるいは
前記適応型スペクトル-時間変換器(6)は、前記現在のフレームの前記制御データセ
クションから前記制御情報(12)を読み出し、前記前のフレームの制御データセクショ
ンから、または前記前のフレームに適用されたデコーダ設定から、前記前のフレームにつ
いての前記制御情報(12)を取り出すように構成されている、請求項1~請求項6のい
ずれか1項に記載のデコーダ(2)。
【請求項8】
前記適応型スペクトル-時間変換器(6)は、以下の表に基づいて変換カーネルを適用
するように構成されており:
JPEG
2025163020000013.jpg
55
161
ここでsymm
i
は、インデックスiにおける前記現在のフレームの制御情報であり、
前記symm
i-1
は、インデックスi
-1
における前記前のフレームの制御情報である、
請求項1~請求項7のいずれか1項に記載のデコーダ(2)。
【請求項9】
第1のマルチチャネルおよび第2のマルチチャネルについてのスペクトル値の処理され
たブロックを得るために、前記第1および前記第2のマルチチャネルを表すスペクトル値
のブロックを受信し、ジョイントマルチチャネル処理技術に従って前記受信したブロック
を処理するためのマルチチャネルプロセッサ(40)をさらに含み、前記適応型スペクト
ル-時間プロセッサ(6)は、前記第1のマルチチャネルのための制御情報を使用して前
記第1のマルチチャネルのための前記処理されたブロックを、および前記第2のマルチチ
ャネルのための制御情報を使用して前記第2のマルチチャネルのための前記処理されたブ
ロックを処理するように構成される、請求項1~請求項8のいずれか1項に記載のデコー
ダ(2)。
【請求項10】
前記マルチチャネルプロセッサは、前記第1および前記第2のマルチチャネルを表す前
記スペクトル値のブロックに関連する複素予測制御情報を使用して複素予測を適用するよ
うに構成される、請求項9に記載のデコーダ(2)。
(【請求項11】以降は省略されています)
発明の詳細な説明
【技術分野】
【0001】
本発明は、本発明は、符号化されたオーディオ信号を復号するためのデコーダおよびオ
ーディオ信号を符号化するためのエンコーダに関する。実施形態は、オーディオ符号化に
おける信号適応変換カーネルスイッチングのための方法および装置を示す。言い換えると
、本発明は、オーディオ符号化に関し、特に、例えば、修正された離散コサイン変換(M
DCT)[1]等のラップ変換による知覚オーディオ符号化に関する。
続きを表示(約 2,400 文字)
【背景技術】
【0002】
MP3、Opus、(Celt)、HE-AACファミリ、新しいMPEG-H 3Dオ
ーディオおよび3GPPエンハンスドボイスサービス(EVS)コーデックを含む現代的
な知覚オーディオコーデックはすべて、スペクトル領域の量子化と符号化にMDCTを採
用しているか、または、それ以上のチャネル波形を生成する。長さ-Mスペクトルspe
c[]を使用するこの重複変換の合成バージョンは、M=N/2で時間窓の長さである次
式(1)によって与えられる。
JPEG
2025163020000002.jpg
11
152
窓掛け処理の後、時間出力x
i,n
はオーバーラップ・アンド・アッド(OLA)プロセ
スによって前の時間出力x
i-1,n
と組み合わされる。Cは、0より大きいか又は1以下の
定数パラメータであってもよく、例えば、2/Nとなる。
【0003】
上式(1)のMDCTは、様々なビットレートで任意のチャネルの高品質オーディオコ
ーディングに適しているが、コーディング品質が不十分な場合がある。
例えば、
・各高調波が複数のMDCTビンによって表されるように、MDCTを介してサンプリン
グされた特定の基本周波数を有する高調波信号である。これは、スペクトル領域におい
て準最適エネルギー圧縮、すなわち低い符号化利得を導く。
・従来のM/Sステレオベースのジョイントチャネルコーディングでは利用できない、チ
ャネルのMDCTビン間で約90度の位相シフトを持つステレオ信号を生成する。チャ
ネル間位相差(IPD)の符号化を含むより高度なステレオ符号化は、例えば、HE-
AACのパラメトリックステレオまたはMPEGサラウンドを使用しているが、このよ
うなツールは別のフィルタバンクドメインで動作し、複雑さが増している。
【0004】
いくつかの学術論文や論文には、MDCTやMDSTのような操作が記述されている。
これらの操作には、「重複直交変換(LOT)」、「拡張重複変換(ELT)」、「変調
重複変換(MLT)」などがあります。[4]だけが同時にいくつかの異なる重複変換を
述べているが、MDCTの前述の欠点を克服していない。
【0005】
したがって、改善されたアプローチが必要である。
【先行技術文献】
【非特許文献】
【0006】
H. S. Malvar, Signal Processing with Lapped Transforms, Norwood: Artech House, 1992.
J. P. Princen and A. B. Bradley, "Analysis/Synthesis Filter Bank Design Based on Time Domain Aliasing Cancellation," IEEE Trans. Acoustics, Speech, and Signal Proc., 1986.
J.P. Princen, A. W. Johnson, and A. B. Bradley,"Subband/transform coding using filter bank design based on time domain aliasing ancellation," in IEEE ICASSP, vol. 12, 1987.
H.S.Malvar,"Lapped Transforms for Efficient Transform/Subband Coding,"IEEE Trans.Acoustics,Speech,and Signal Proc., 1990.
http://en.wikipedia.org/wiki/Modified_discrete_cosine_transform
【発明の概要】
【発明が解決しようとする課題】
【0007】
本発明の目的は、オーディオ信号を処理するための改良された概念を提供することであ
る。この目的は、独立請求項の主題によって解決される。
【課題を解決するための手段】
【0008】
本発明は、変換カーネルの信号適応的変化または置換が、本MDCT符号化の前述の種
類の課題を克服する可能性があるという知見に基づいている。実施形態によれば、本発明
は、3つの他の同様の変換を含むようにMDCT符号化原則を一般化することによって、
従来の変換符号化に関する上記2つの課題に対処する。上記した式(1)の合成式に従っ
て、この提案された一般化を次式(2)と定義する。
JPEG
2025163020000003.jpg
14
151
【0009】
1/2定数はk
0
定数に置き換えられ、cos(...)関数はcs(...)関数で置き換
えられていることに注意して下さい。k
0
とcs(...)はどちらも信号とコンテキスト適
応的に選択される。
【0010】
実施形態によれば、MDCT符号化パラダイムの提案された修正は、例えば、前述の課
題またはケースが扱われるように、フレームごとの瞬時入力特性に適応することができる
。
(【0011】以降は省略されています)
この特許をJ-PlatPat(特許庁公式サイト)で参照する
関連特許
個人
ギター
3日前
個人
遮音材
1か月前
個人
管楽器用リガチャ-
1か月前
個人
歌唱補助器具
1か月前
横浜ゴム株式会社
音響材
24日前
個人
音声出力装置
1か月前
三井化学株式会社
防音構造体
4日前
三井化学株式会社
防音構造体
4日前
大和ハウス工業株式会社
音低減設備
1か月前
DIC株式会社
吸音材及び吸音部品
1か月前
個人
管楽器用音質改善留め具
18日前
NOK株式会社
吸音構造体
1か月前
株式会社デンソー
音低減装置
3日前
矢崎総業株式会社
車両用対話システム
1か月前
株式会社SinasSP
自動騒音低減装置
1か月前
横浜ゴム株式会社
多層空洞音響材
1か月前
株式会社第一興商
カラオケ装置
1か月前
三井化学株式会社
防音構造体および自動車の防音構造
4日前
ヤマハ株式会社
鍵盤装置
11日前
有限会社ツバサ
エレキギターおよび保護フィルム付きの樹脂プレート
1か月前
ヤマハ株式会社
音処理装置及び音処理方法
18日前
有限会社 宮脇工房
モーター挙動音発生装置
1か月前
株式会社SUBARU
乗物用遮音構造体、及び車両
1か月前
株式会社デンソー
制御装置、制御方法、及び制御プログラム
24日前
株式会社第一興商
カラオケ装置、カラオケシステム
26日前
株式会社第一興商
カラオケ装置、カラオケシステム
10日前
株式会社第一興商
カラオケ装置、カラオケシステム
3日前
株式会社コルグ
楽音信号変換装置、楽音信号変換方法、プログラム
1か月前
固昌通訊股ふん有限公司
音響調整装置
1か月前
トヨタ自動車株式会社
ブレーキインジケータシステム
3日前
株式会社東芝
発話言語理解のためのシステムおよび方法
1か月前
本田技研工業株式会社
音声認識装置、音声認識方法、及びプログラム
5日前
安克創新科技股フン有限公司
通話ノイズキャンセリング方法及びイヤホン
1か月前
株式会社枚方技研
方向付き楽器固定具
1か月前
株式会社デンソー
制御装置、ロボットシステム、制御方法、及び制御プログラム
1か月前
日本放送協会
エンコーダー・デコーダー装置、推論装置、およびプログラム
1か月前
続きを見る
他の特許を見る