TOP
|
特許
|
意匠
|
商標
特許ウォッチ
Twitter
他の特許を見る
公開番号
2025162381
公報種別
公開特許公報(A)
公開日
2025-10-27
出願番号
2024065648
出願日
2024-04-15
発明の名称
荷電粒子ビーム描画方法及び荷電粒子ビーム描画装置
出願人
株式会社ニューフレアテクノロジー
代理人
個人
,
個人
主分類
H01L
21/027 20060101AFI20251020BHJP(基本的電気素子)
要約
【課題】スループットの低下を抑制しつつ、ドリフト補正により描画精度を向上させる。
【解決手段】本実施形態による描画方法は、複数のストライプ毎に順次パターンを描画し、所定のタイミングで基板に照射される荷電粒子ビームの照射位置のドリフト補正量を算出する。この方法では、前記複数のストライプを順に描画する処理を1回のストロークとし、前記ストロークの描画処理を複数回行い、j-k回目(jは2以上の整数、kは1以上j-1以下の整数)のストロークにおいて、ドリフト量を算出して記憶し、j回目のストロークでは、記憶されたj-k回目のストロークの前記ドリフト量と、j回目のストロークで算出した前記ドリフト量と、を用いて、ドリフト補正量を算出し、算出された前記ドリフト補正量を用いて、パターン描画位置を補正する。
【選択図】図1
特許請求の範囲
【請求項1】
基板を移動させながら荷電粒子ビームを照射して、前記基板の描画領域を所定の幅で分割した複数のストライプ毎に順次パターンを描画し、所定のタイミングで前記基板に照射される前記荷電粒子ビームの照射位置のドリフト補正量を算出する荷電粒子ビーム描画方法であって、
前記複数のストライプを順に描画する処理を1回のストロークとし、前記ストロークの描画処理を複数回行い、
j-k回目(jは2以上の整数、kは1以上j-1以下の整数)のストロークにおいて、ドリフト量を算出して記憶し、
j回目のストロークでは、記憶されたj-k回目のストロークの前記ドリフト量と、j回目のストロークで算出した前記ドリフト量と、を用いて、ドリフト補正量を算出し、
算出された前記ドリフト補正量を用いて、パターン描画位置を補正する、荷電粒子ビーム描画方法。
続きを表示(約 900 文字)
【請求項2】
j-k回目(jは2以上の整数、kは1以上j-1以下の整数)のストローク内で、ドリフト測定結果に基づくドリフト補正後の補正残差を前記ドリフト量として記憶する、請求項1に記載の荷電粒子ビーム描画方法。
【請求項3】
i回目(iは2以上の整数)のストロークでは、i回目より前のストロークで算出された前記ドリフト量を用いて、i回目のストロークで生じるドリフト補正残差を予測し、予測したドリフト補正残差を打ち消すドリフト補正量を算出する、請求項1又は2に記載の荷電粒子ビーム描画方法。
【請求項4】
前記i回目のストロークは、最終ストロークである、請求項3に記載の荷電粒子ビーム描画方法。
【請求項5】
j回目のストロークとj+1回目のストロークとで、ドリフト量算出のタイミング又は前記ストライプの基準点が異なる、請求項1に記載の荷電粒子ビーム描画方法。
【請求項6】
j回目のストロークでは、さらに記憶されたj-k+1回目のストロークの前記ドリフト量を用いて、ドリフト補正量を算出する、請求項1に記載の荷電粒子ビーム描画方法。
【請求項7】
基板を移動しながら、前記基板の描画領域を所定幅で分割した複数のストライプ毎に順次パターンを描画する描画部と、
前記描画部を制御し、前記複数のストライプを描画する1回のストロークの描画処理を複数回行い、ストローク毎に前記基板に照射される前記荷電粒子ビームの照射位置のドリフト量の算出を複数回行い、j-k回目(jは2以上の整数、kは1以上j-1以下の整数)のストロークにおいて、前記ドリフト量を算出し、算出したドリフト量に基づき前記ドリフト補正を行うとともに、ドリフト補正残差を算出して記憶し、j回目のストロークでは、記憶されたj-k回目のストロークの前記ドリフト量と、j回目のストロークで算出した前記ドリフト量と、を用いて、ドリフト補正量を算出し、算出された前記ドリフト補正量を用いて、パターン描画位置を補正する制御部と、
を備える荷電粒子ビーム描画装置。
発明の詳細な説明
【技術分野】
【0001】
本発明は、荷電粒子ビーム描画方法及び荷電粒子ビーム描画装置に関する。
続きを表示(約 1,900 文字)
【背景技術】
【0002】
LSIの高集積化に伴い、半導体デバイスの回路線幅はさらに微細化されてきている。これらの半導体デバイスへ回路パターンを形成するための露光用マスク(ステッパやスキャナで用いられるものはレチクルともいう。)を形成する方法として、優れた解像性を有する電子ビーム描画技術が用いられている。
【0003】
電子ビーム描画装置では、様々な要因により、描画中に電子ビームの照射位置がシフトするビームドリフトと呼ばれる現象が発生する。このビームドリフトをキャンセルするため、ドリフト補正が行われる。従来のドリフト補正では、描画処理中に、ステージ上のマーク基板に形成された測定用マークを電子ビームで走査し、電子ビームの照射位置の測定を行い、前回測定値からの差分をドリフト補正量としていた。そのため、前の区間のビームドリフト量と次の区間のビームドリフト量との差分が補正残差となり、描画精度向上の妨げとなっていた。
【0004】
ビーム照射位置の測定間隔を短くすることで補正残差を低減できるが、スループットが低下するという問題があった。
【先行技術文献】
【特許文献】
【0005】
特開2002-093678号公報
特開2020-141022号公報
特開2012-178461号公報
【発明の概要】
【発明が解決しようとする課題】
【0006】
本発明は、上記従来の実状に鑑みてなされたものであり、スループットの低下を抑制しつつ、ドリフト補正により描画精度を向上させることができる荷電粒子ビーム描画方法及び荷電粒子ビーム描画装置を提供することを課題とする。
【課題を解決するための手段】
【0007】
本発明の一態様による荷電粒子ビーム描画方法は、基板を移動させながら荷電粒子ビームを照射して、前記基板の描画領域を所定の幅で分割した複数のストライプ毎に順次パターンを描画し、所定のタイミングで前記基板に照射される前記荷電粒子ビームの照射位置のドリフト補正量を算出する荷電粒子ビーム描画方法であって、前記複数のストライプを順に描画する処理を1回のストロークとし、前記ストロークの描画処理を複数回行い、
j-k回目(jは2以上の整数、kは1以上j-1以下の整数)のストロークにおいて、ドリフト量を算出して記憶し、j回目のストロークでは、記憶されたj-k回目のストロークの前記ドリフト量と、j回目のストロークで算出した前記ドリフト量と、を用いて、ドリフト補正量を算出し、算出された前記ドリフト補正量を用いて、パターン描画位置を補正するものである。
【0008】
本発明の一態様による荷電粒子ビーム描画装置は、基板を移動しながら、前記基板の描画領域を所定幅で分割した複数のストライプ毎に順次パターンを描画する描画部と、前記描画部を制御し、前記複数のストライプを描画する1回のストロークの描画処理を複数回行い、ストローク毎に前記基板に照射される前記荷電粒子ビームの照射位置のドリフト量の算出を複数回行い、j-k回目(jは2以上の整数、kは1以上j-1以下の整数)のストロークにおいて、前記ドリフト量を算出し、算出したドリフト量に基づき前記ドリフト補正を行うとともに、ドリフト補正残差を算出して記憶し、j回目のストロークでは、記憶されたj-k回目のストロークの前記ドリフト量と、j回目のストロークで算出した前記ドリフト量と、を用いて、ドリフト補正量を算出し、算出された前記ドリフト補正量を用いて、パターン描画位置を補正する制御部と、を備えるものである。
【発明の効果】
【0009】
本発明によれば、スループットの低下を抑制しつつ、ドリフト補正により描画精度を向上させることができる。
【図面の簡単な説明】
【0010】
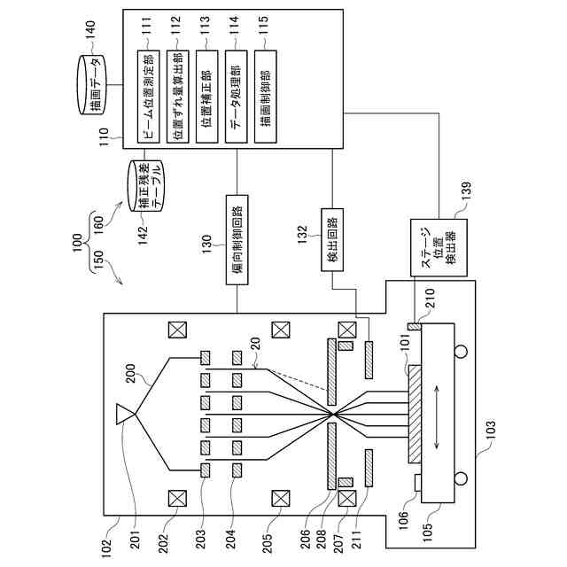
本発明の実施形態に係る描画装置の概略構成図である。
成形アパーチャアレイ基板の平面図である。
(a)(b)は描画動作の一例を説明する図である。
(a)~(c)はストローク描画を説明する図である。
同実施形態に係る描画方法を説明するフローチャートである。
残差補正テーブルを示す図である。
同実施形態に係る描画方法を説明するフローチャートである。
ストローク毎のドリフト測定のタイミングの例を示す図である。
【発明を実施するための形態】
(【0011】以降は省略されています)
この特許をJ-PlatPat(特許庁公式サイト)で参照する
関連特許
東ソー株式会社
絶縁電線
17日前
APB株式会社
蓄電セル
15日前
個人
フレキシブル電気化学素子
29日前
株式会社東芝
端子台
9日前
ローム株式会社
半導体装置
16日前
日新イオン機器株式会社
イオン源
25日前
株式会社ユーシン
操作装置
29日前
マクセル株式会社
電源装置
9日前
株式会社GSユアサ
蓄電装置
10日前
株式会社ホロン
冷陰極電子源
23日前
株式会社GSユアサ
蓄電設備
29日前
株式会社GSユアサ
蓄電設備
29日前
オムロン株式会社
電磁継電器
1か月前
太陽誘電株式会社
コイル部品
29日前
株式会社GSユアサ
蓄電装置
2日前
株式会社GSユアサ
蓄電装置
10日前
日本特殊陶業株式会社
保持装置
18日前
トヨタ自動車株式会社
冷却構造
17日前
サクサ株式会社
電池の固定構造
29日前
トヨタ自動車株式会社
蓄電装置
29日前
トヨタ自動車株式会社
蓄電装置
10日前
日本特殊陶業株式会社
保持装置
1日前
日新イオン機器株式会社
基板処理装置
12日前
トヨタ自動車株式会社
バッテリ
15日前
北道電設株式会社
配電具カバー
15日前
日東電工株式会社
積層体
1か月前
ノリタケ株式会社
熱伝導シート
29日前
株式会社トクヤマ
シリコンエッチング液
23日前
日亜化学工業株式会社
半導体レーザ素子
12日前
株式会社トクヤマ
シリコンエッチング液
23日前
日本無線株式会社
レーダアンテナ
3日前
株式会社デンソー
電子装置
12日前
甲神電機株式会社
変流器及び零相変流器
3日前
ベストテック株式会社
装置支持具
29日前
古河電気工業株式会社
端子
29日前
ローム株式会社
半導体装置
17日前
続きを見る
他の特許を見る