TOP
|
特許
|
意匠
|
商標
特許ウォッチ
Twitter
他の特許を見る
10個以上の画像は省略されています。
公開番号
2025162012
公報種別
公開特許公報(A)
公開日
2025-10-27
出願番号
2024065086
出願日
2024-04-15
発明の名称
サーバ、治安情報共有システム、治安情報共有方法及びプログラム
出願人
日本電気株式会社
代理人
個人
主分類
G06Q
50/10 20120101AFI20251020BHJP(計算;計数)
要約
【課題】治安に関する情報を共有可能なサーバ、治安情報共有システム、治安情報共有方法及びプログラムを提供する。
【解決手段】本開示に係るサーバは、ユーザが不安を感じた不安場所に関する情報に基づいて、不安場所の治安に関する情報を示す治安情報を特定する特定部と、不安場所に新たなユーザが到達する前に新たなユーザに通知される情報であって、治安情報を含む注意喚起情報を生成する生成部と、を備える。
【選択図】図1
特許請求の範囲
【請求項1】
ユーザが不安を感じた不安場所に関する情報に基づいて、前記不安場所の治安に関する情報を示す治安情報を特定する特定部と、
前記不安場所に新たなユーザが到達する前に前記新たなユーザに通知される情報であって、前記治安情報を含む注意喚起情報を生成する生成部と、
を備えた、
サーバ。
続きを表示(約 1,600 文字)
【請求項2】
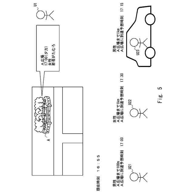
前記生成部は、さらに、前記新たなユーザの位置が、前記ユーザの不安場所から所定の範囲内である場合に、前記注意喚起情報を生成する、
請求項1に記載のサーバ。
【請求項3】
前記特定部は、さらに、前記ユーザの前記不安場所に関する情報に基づいて、前記ユーザの属性情報を前記治安情報に対応付けて特定し、
前記生成部は、前記ユーザの属性情報と前記新たなユーザの属性情報とがマッチングする場合に、マッチングした当該ユーザの不安場所のそれぞれに到達する前に前記新たなユーザに通知される情報であって、マッチングした当該ユーザの不安場所における治安情報を含む前記注意喚起情報を生成する、
請求項1又は2に記載のサーバ。
【請求項4】
前記特定部は、さらに、前記ユーザの前記不安場所に関する情報に基づいて、前記ユーザが不安を感じた時刻を前記治安情報に対応付けて特定し、
前記生成部は、さらに、前記ユーザが不安を感じた時刻と前記ユーザの不安場所に対する前記新たなユーザの到達予想時刻とが所定の時間内である場合に、前記新たなユーザの到着予想時刻と、不安を感じた時刻が所定の時間内であった当該ユーザの不安場所のそれぞれに到達するよりも前に、前記新たなユーザに通知される情報であって、当該ユーザの不安場所における治安情報を含む前記注意喚起情報を生成する、
請求項1又は2に記載のサーバ。
【請求項5】
前記生成部は、前記新たなユーザの属性情報に応じて、前記新たなユーザが認識可能な前記注意喚起情報を生成する、
請求項2に記載のサーバ。
【請求項6】
前記特定部は、前記ユーザから提供された不安場所に関する情報に基づいて、前記治安情報を特定する、
請求項1又は2に記載のサーバ。
【請求項7】
端末装置と、サーバと、を備えた情報処理システムであって、
前記端末装置は、
ユーザが不安を感じた不安場所に関する情報を取得し、
前記不安場所に関する情報を前記サーバに対して送信し、
前記サーバは、
前記端末装置から受信した前記不安場所に関する情報に基づいて、前記不安場所の治安に関する情報を示す治安情報を特定し、
前記不安場所に新たなユーザが到達する前に前記新たなユーザに通知される情報であって、前記治安情報を含む注意喚起情報を生成する、
治安情報共有システム。
【請求項8】
検知装置をさらに備え、
前記検知装置は、前記ユーザの状態変化に基づいて、前記ユーザの不安を検知し、
前記ユーザの不安を検知した旨の情報を前記端末装置に対して送信し、
前記端末装置は、前記ユーザの不安を検知した旨の情報を受信すると、前記ユーザが不安を感じた不安場所に関する情報を取得する、
請求項7に記載の治安情報共有システム。
【請求項9】
ユーザが不安を感じた不安場所に関する情報に基づいて、前記不安場所の治安に関する情報を示す治安情報を特定し、
前記不安場所に新たなユーザが到達する前に前記新たなユーザに通知される情報であって、前記治安情報を含む注意喚起情報を生成する、
処理をコンピュータが実行する、
治安情報共有方法。
【請求項10】
ユーザが不安を感じた不安場所に関する情報に基づいて、前記不安場所の治安に関する情報を示す治安情報を特定し、
前記不安場所に新たなユーザが到達する前に前記新たなユーザに通知される情報であって、前記治安情報を含む注意喚起情報を生成する、
処理をコンピュータに実行させる、
プログラム。
発明の詳細な説明
【技術分野】
【0001】
本開示は、サーバ、治安情報共有システム、治安情報共有方法及びプログラムに関する。
続きを表示(約 1,500 文字)
【背景技術】
【0002】
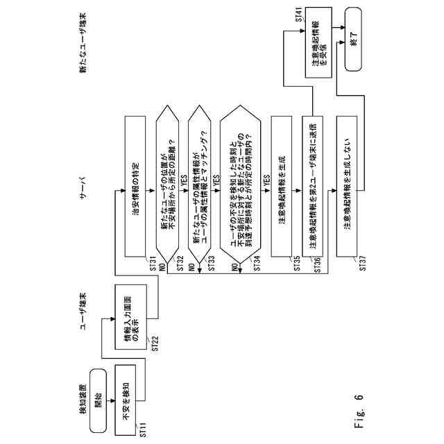
住みやすい街を実現するために治安が注視されている。治安に関する情報は、住民が暮らすなかで経験的に得られる暗黙知の情報であり、共有されにくい性質を有する。
【0003】
ここで、特許文献1には、ヒヤリハットの発生位置を共有することが可能な生成装置が開示されている。特許文献1に開示された生成装置は、対象者が異常状態である場合に、ヒヤリハットが発生したと判定し、ヒヤリハット発生場所とヒヤリハットの発生時の状況を撮影した画像とを対応付けてヒヤリハットデータベースを生成する。特許文献1に開示された生成装置は、ヒヤリハットデータベースの情報を用いて、対象者がヒヤリハットの発生場所に近づくと、注意喚起を行うための情報を生成する。
【先行技術文献】
【特許文献】
【0004】
特開2023-110307号公報
【発明の概要】
【発明が解決しようとする課題】
【0005】
ここで、治安に関する情報は、人によって感じ方が異なる性質も有する。特許文献1に開示された生成装置では、ヒヤリハットの内容に関する情報を把握するために、ヒヤリハットの発生時の状況を撮影した画像を取得しているが、治安に関する情報は、人の感じ方によって異なる情報であるため、画像から取得することが困難な場合もある。
【0006】
本開示の目的は、上述した課題に鑑み、治安に関する情報を共有可能なサーバ、治安情報共有システム、治安情報共有方法及びプログラムを提供することにある。
【課題を解決するための手段】
【0007】
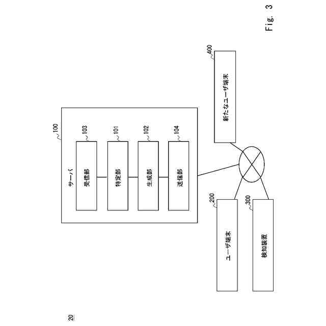
本開示に係るサーバは、
ユーザが不安を感じた不安場所に関する情報に基づいて、前記不安場所の治安に関する情報を示す治安情報を特定する特定部と、
前記不安場所に新たなユーザが到達する前に前記新たなユーザに通知される情報であって、前記治安情報を含む注意喚起情報を生成する生成部と、
を備える。
【0008】
本開示に係る治安情報共有システムは、
端末装置と、サーバと、を備えた情報処理システムであって、
前記端末装置は、
前記ユーザが不安を感じた不安場所に関する情報を取得し、
前記不安場所に関する情報を前記サーバに対して送信し、
前記サーバは、
前記端末装置から受信した前記不安場所に関する情報に基づいて、前記不安場所の治安に関する情報を示す治安情報を特定し、
前記不安場所に新たなユーザが到達する前に前記新たなユーザに通知される情報であって、前記治安情報を含む注意喚起情報を生成する。
【0009】
本開示に係る治安情報共有方法は、
ユーザが不安を感じた不安場所に関する情報に基づいて、前記不安場所の治安に関する情報を示す治安情報を特定し、
前記不安場所に新たなユーザが到達する前に前記新たなユーザに通知される情報であって、前記治安情報を含む注意喚起情報を生成する、
処理をコンピュータが実行する。
【0010】
本開示に係るプログラムは、
ユーザが不安を感じた不安場所に関する情報に基づいて、前記不安場所の治安に関する情報を示す治安情報を特定し、
前記不安場所に新たなユーザが到達する前に前記新たなユーザに通知される情報であって、前記治安情報を含む注意喚起情報を生成する、
処理をコンピュータに実行させる。
【発明の効果】
(【0011】以降は省略されています)
この特許をJ-PlatPat(特許庁公式サイト)で参照する
関連特許
日本電気株式会社
監視装置
14日前
日本電気株式会社
監視装置
14日前
日本電気株式会社
分析装置
1か月前
日本電気株式会社
管理装置
14日前
日本電気株式会社
海底分岐装置
15日前
日本電気株式会社
異常検知装置
6日前
日本電気株式会社
光モジュール
1日前
日本電気株式会社
光集積回路素子
19日前
日本電気株式会社
レーザモジュール
20日前
日本電気株式会社
超伝導量子回路装置
20日前
日本電気株式会社
受信器および通信装置
21日前
日本電気株式会社
通信装置および通信方法
26日前
日本電気株式会社
送信装置および通信装置
26日前
日本電気株式会社
量子回路装置と制御方法
1か月前
日本電気株式会社
検知装置および検知方法
1か月前
日本電気株式会社
システム、装置及び方法
20日前
日本電気株式会社
量子回路装置と制御方法
1か月前
日本電気株式会社
光伝送システムおよび方法
22日前
日本電気株式会社
分析方法および分析システム
27日前
日本電気株式会社
ラインカード及びイジェクタ
12日前
日本電気株式会社
制御装置、プログラム及び方法
20日前
日本電気株式会社
演算処理装置および演算処理方法
22日前
日本電気株式会社
兆候検知装置および兆候検知方法
22日前
日本電気株式会社
共振器及びそれを備えた導波回路
28日前
日本電気株式会社
システム及びマイグレーション方法
1か月前
日本電気株式会社
推定装置、推定方法及びプログラム
20日前
日本電気株式会社
交渉装置、交渉方法及びプログラム
1日前
日本電気株式会社
放送用システムおよび字幕作成方法
22日前
日本電気株式会社
ソーナー装置、通信方法、プログラム
22日前
日本電気株式会社
波長可変レーザ装置及びその構成方法
26日前
日本電気株式会社
端末、端末の制御方法及びプログラム
12日前
日本電気株式会社
画像管理システムおよび画像管理方法
28日前
日本電気株式会社
推定装置、推定方法、及び、記録媒体
27日前
日本電気株式会社
レコメンド装置およびレコメンド方法
8日前
日本電気株式会社
処理装置、処理方法、及びプログラム
1か月前
日本電気株式会社
情報処理装置、制御方法及び記憶媒体
20日前
続きを見る
他の特許を見る