TOP
|
特許
|
意匠
|
商標
特許ウォッチ
Twitter
他の特許を見る
10個以上の画像は省略されています。
公開番号
2025161852
公報種別
公開特許公報(A)
公開日
2025-10-24
出願番号
2025134611,2022120007
出願日
2025-08-13,2022-07-27
発明の名称
情報処理方法、情報処理システムおよびプログラム
出願人
株式会社カプコン
代理人
弁理士法人IPX
主分類
G06Q
50/10 20120101AFI20251017BHJP(計算;計数)
要約
【課題】種々の人々に興趣性の高い体験を提供する技術を提供すること。
【解決手段】本発明の一態様によれば、情報処理方法が提供される。この情報処理方法は、次の各ステップを備える。取得ステップでは、ユーザにより指定された所定情報を、複数のユーザごとにそれぞれ取得する。所定情報は、イベントに出場または登場する複数のメンバのうちの少なくとも1人である所定メンバに関する情報である。所定メンバは、ユーザごとにそれぞれ任意に指定される。特定ステップでは、ユーザのイベントへの参加を示す第1情報と、所定メンバのイベントへの出場または登場の是非を示す第2情報とを特定する。付与ステップでは、第1情報および第2情報に基づいて、ユーザとユーザに指定された所定メンバとのうち少なくとも一方に特典を付与する。
【選択図】図8
特許請求の範囲
【請求項1】
情報処理方法であって、
次の各ステップを備え、
取得ステップでは、ユーザにより指定された所定情報を、複数のユーザごとにそれぞれ取得し、ここで
前記所定情報は、イベントに出場または登場する複数のメンバのうちの少なくとも1人である所定メンバに関する情報で、
前記所定メンバは、前記ユーザごとにそれぞれ任意に指定され、
特定ステップでは、前記ユーザの前記イベントへの参加を示す第1情報と、前記所定メンバの前記イベントへの出場または登場の是非を示す第2情報とを特定し、
付与ステップでは、前記第1情報および前記第2情報に基づいて、前記ユーザと前記ユーザに指定された前記所定メンバとのうち少なくとも一方に特典を付与する、方法。
発明の詳細な説明
【技術分野】
【0001】
本開示は、情報処理方法、情報処理システムおよびプログラムに関する。
続きを表示(約 1,700 文字)
【背景技術】
【0002】
特許文献1には、権利付与システムが開示されている。この権利付与システムにおいて、観戦権付与部は、チーム「X」が行う試合の観戦チケットをその定価に相当する額の対価と引き換えにユーザに付与し、試合結果特定部は、チーム「X」が行った過去の試合の中から、ユーザに観戦チケットが付与された試合の結果を特定し、ポイント付与部は、チーム「X」が行う試合の観戦チケットをユーザに付与する際、ユーザにポイントを付与する。ここにおいて、ポイント付与部は、試合結果特定部により特定された過去の試合結果に基づいて、ユーザに付与するポイント量を制御する。
【先行技術文献】
【特許文献】
【0003】
特開2014-71744号公報
【発明の概要】
【発明が解決しようとする課題】
【0004】
しかし、上記権利付与システムでは、ユーザが支持するチームの勝敗に応じて付与されるポイント量が制御されるものの、そもそも勝敗のないイベントや、チーム等の団体に所属する所定メンバを支持することについては考慮されていない。また、ユーザではなく所定メンバに対する興趣性については、いっさい考慮されていない。
【0005】
本開示では上記事情に鑑み、種々の人々に興趣性の高い体験を提供する技術を提供することとした。
【課題を解決するための手段】
【0006】
本開示の一態様によれば、情報処理方法が提供される。この情報処理方法は、次の各ステップを備える。取得ステップでは、ユーザにより指定された所定情報を、複数のユーザごとにそれぞれ取得する。所定情報は、イベントに出場または登場する複数のメンバのうちの少なくとも1人である所定メンバに関する情報である。所定メンバは、ユーザごとにそれぞれ任意に指定される。特定ステップでは、ユーザのイベントへの参加を示す第1情報と、所定メンバのイベントへの出場または登場の是非を示す第2情報とを特定する。付与ステップでは、第1情報および第2情報に基づいて、ユーザとユーザに指定された所定メンバとのうち少なくとも一方に特典を付与する。
【0007】
本開示によれば、種々の人々に興趣性の高い体験を提供することができる。
【図面の簡単な説明】
【0008】
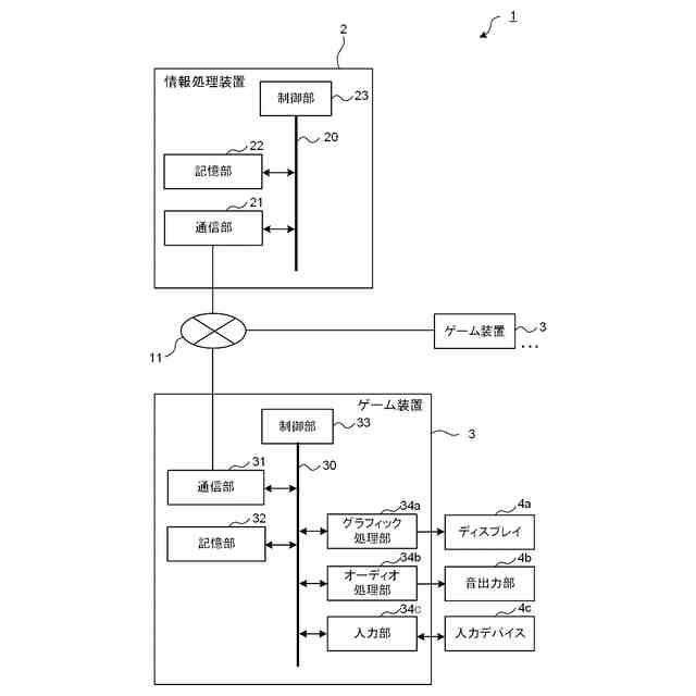
本実施形態に係る情報処理システム1のハードウェア構成を示すブロック図である。
本実施形態に係る情報処理装置2の機能構成を示すブロック図である。
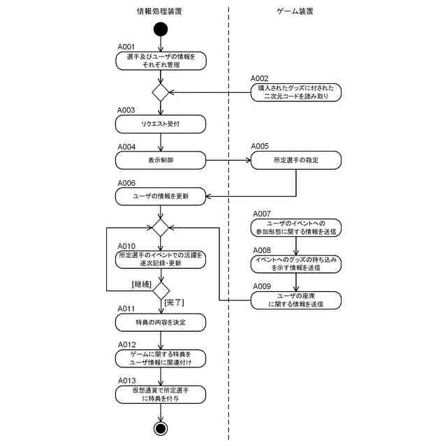
情報処理システム1によって実行される情報処理の概要を示すアクティビティ図である。
グッズ(物品)の一例であるうちわ5を示す模式図であり、図4Aはうちわ5の一方面51a側、図4Bは一方面51aの裏面である他方面51b側を示している。
所定選手(所定メンバ)を登録するユーザ登録画面6を示す模式図である。
ユーザに関する情報のデータ構造であるユーザ情報テーブル7aの一例を示している。
選手(メンバ)に関する情報のデータ構造である選手情報テーブル7bの一例を示している。
コンサートイベントに出場または登場するアイドルユニット8を示す概念図である。
NFTが発行されたデジタル資産の一例であるNFTトレーディングカード9の模式図である。
【発明を実施するための形態】
【0009】
[実施形態]
以下、図面を用いて本開示の実施形態について説明する。以下に示す実施形態中で示した各種特徴事項は、互いに組み合わせ可能である。
【0010】
ところで、本実施形態に登場するソフトウェアを実現するためのプログラムは、コンピュータが読み取り可能な非一時的な記録媒体(Non-Transitory Computer-Readable Medium)として提供されてもよいし、外部のサーバからダウンロード可能に提供されてもよいし、外部のコンピュータで当該プログラムを起動させてクライアント端末でその機能を実現(いわゆるクラウドコンピューティング)するように提供されてもよい。
(【0011】以降は省略されています)
特許ウォッチbot のツイートを見る
この特許をJ-PlatPat(特許庁公式サイト)で参照する
関連特許
株式会社カプコン
情報処理システム
2日前
株式会社カプコン
プログラムおよびキャラクタ作成装置
6日前
株式会社カプコン
プログラム、情報処理方法および情報処理装置
今日
株式会社カプコン
情報処理方法、情報処理システムおよびプログラム
27日前
株式会社カプコン
ゲーム大会誘致プログラム、プログラム、コンピュータおよび情報処理方法
6日前
個人
詐欺保険
1か月前
個人
縁伊達ポイン
1か月前
個人
職業自動販売機
6日前
個人
5掛けポイント
13日前
個人
RFタグシート
24日前
個人
QRコードの彩色
1か月前
個人
地球保全システム
1か月前
個人
ペルソナ認証方式
21日前
個人
情報処理装置
16日前
個人
自動調理装置
23日前
個人
農作物用途分配システム
1か月前
個人
表変換編集支援システム
2か月前
個人
残土処理システム
1か月前
個人
サービス情報提供システム
8日前
個人
知的財産出願支援システム
1か月前
個人
インターネットの利用構造
20日前
個人
タッチパネル操作指代替具
1か月前
個人
携帯端末障害問合せシステム
29日前
個人
スケジュール調整プログラム
29日前
個人
パスワード管理支援システム
2か月前
個人
エリアガイドナビAIシステム
21日前
個人
食品レシピ生成システム
1か月前
株式会社キーエンス
受発注システム
1か月前
個人
システム及びプログラム
2か月前
個人
海外支援型農作物活用システム
2か月前
株式会社キーエンス
受発注システム
1か月前
株式会社キーエンス
受発注システム
1か月前
個人
AIキャラクター制御システム
2か月前
個人
音声・通知・再配達UX制御構造
1か月前
キヤノン株式会社
印刷システム
29日前
トヨタ自動車株式会社
通知装置
27日前
続きを見る
他の特許を見る