TOP
|
特許
|
意匠
|
商標
特許ウォッチ
Twitter
他の特許を見る
10個以上の画像は省略されています。
公開番号
2025161778
公報種別
公開特許公報(A)
公開日
2025-10-24
出願番号
2025064035
出願日
2025-04-09
発明の名称
コネクタ
出願人
タイコ エレクトロニクス (シャンハイ) カンパニー リミテッド
代理人
弁理士法人大場国際特許事務所
主分類
H01R
13/6581 20110101AFI20251017BHJP(基本的電気素子)
要約
【課題】小型化を実現し、防水シール、電磁シールド、高電圧インターロック、および指の保護などの機能を同時に実現できるコネクタを提供する。
【解決手段】コネクタは、前部ポートおよび後部ポート、上壁および底部開口部、上壁に形成された取付けポートを備える、外側シールドシェル1と、後部ポートから外側シールドシェル1に挿入され、外側シールドシェル1の後部ポート、底部開口部、および取付けポートと連通する挿入キャビティを有する内側絶縁ハウジング2と、内側絶縁ハウジング2の挿入キャビティに挿入され、後部ポートから引き出される電送部品3と、挿入キャビティに挿入される電送部品3の前端部3aに溶接された導電端子4と、外側シールドシェル1の底部開口部に取り付けられる絶縁保持体5と、外側シールドシェル1の上壁の取付けポートを通して内側絶縁ハウジング2に入る締結アセンブリとを備える。
【選択図】図2
特許請求の範囲
【請求項1】
コネクタであって、
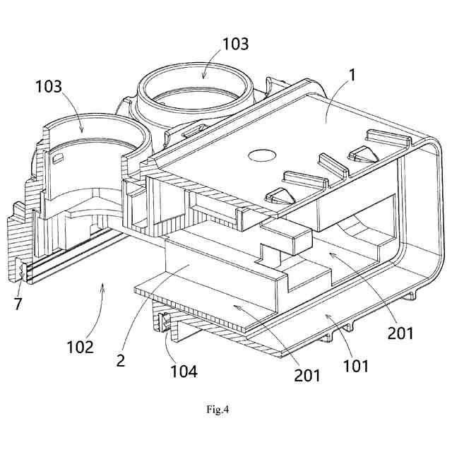
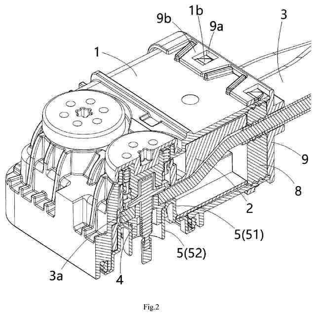
外側シールドシェル(1)であって、前記外側シールドシェル(1)の長手方向(Y)において反対側にある前部ポートおよび後部ポート(101)、前記外側シールドシェル(1)の高さ方向(Z)において反対側にある上壁および底部開口部(102)、ならびに前記上壁に形成された取付けポート(103)を備える、外側シールドシェル(1)と、
前記外側シールドシェル(1)の前記後部ポート(101)から前記外側シールドシェル(1)に挿入され、前記外側シールドシェル(1)の前記後部ポート(101)、前記底部開口部(102)、および前記取付けポート(103)と連通する挿入キャビティ(201)を有する内側絶縁ハウジング(2)と、
前記内側絶縁ハウジング(2)の前記挿入キャビティ(201)に挿入され、前記外側シールドシェル(1)の前記後部ポート(101)から引き出される電送部品(3)と、
相手側コネクタの相手側端子との電気的接触のために前記挿入キャビティ(201)に挿入される前記電送部品の前端部(3a)に溶接された導電端子(4)と、
前記導電端子(4)を保持して位置決めするために前記外側シールドシェル(1)の前記底部開口部(102)に取り付けられる絶縁保持体(5)と、
前記導電端子(4)を前記相手側端子に締結するために、前記外側シールドシェル(1)の前記上壁の前記取付けポート(103)を通して前記内側絶縁ハウジング(2)に入る締結アセンブリ(6)と
を備える、コネクタ。
続きを表示(約 2,200 文字)
【請求項2】
前記電送部品(3)は、平坦な金属バー(30)と、前記金属バー(30)を覆っている外側絶縁層(31)とを備え、前記金属バー(30)の前記前端部(3a)は、前記外側絶縁層(31)から露出し、前記導電端子(4)は、円筒形であり、前記金属バー(30)の前記前端部(3a)に垂直方向に溶接されている、請求項1に記載のコネクタ。
【請求項3】
前記導電端子(4)は、
前記導電端子(4)の一端部に位置する第1の円筒部(41)と、
前記導電端子(4)の他端部に位置する第2の円筒部(42)と、
前記第1の円筒部(41)と前記第2の円筒部(42)との間に位置するフランジ部(43)と
を備え、
ソケット(301)が、前記金属バー(30)の前記前端部(3a)に形成され、前記第1の円筒部(41)は、前記ソケット(301)に挿入されて溶接され、前記フランジ部(43)は、前記金属バー(30)の前記前端部(3a)の表面に溶接され、前記第2の円筒部(42)の端面は、前記相手側端子の端面との軸方向の電気的接触のために使用される、請求項1に記載のコネクタ。
【請求項4】
前記絶縁保持体(5)は、
前記外側シールドシェル(1)および前記内側絶縁ハウジング(2)に固定される絶縁ブラケット(51)と、
前記絶縁ブラケット(51)に形成された絶縁スリーブ(52)と
を備え、
前記導電端子(4)の前記第2の円筒部(42)は、前記絶縁保持体(5)の前記絶縁スリーブ(52)に挿入されて保持される、請求項3に記載のコネクタ。
【請求項5】
第1の弾性バックル(5a)および第2の弾性バックル(5b)が、前記絶縁ブラケット(51)に形成され、前記第1の弾性バックル(5a)および前記第2の弾性バックル(5b)は、前記外側シールドシェル(1)および前記内側絶縁ハウジング(2)にそれぞれ係合して前記絶縁保持体(5)を前記外側シールドシェル(1)および前記内側絶縁ハウジング(2)に固定する、請求項4に記載のコネクタ。
【請求項6】
前記締結アセンブリ(6)は、
前記相手側端子または前記相手側コネクタ内のナットとのねじ接続のために前記導電端子(4)を通過して前記導電端子(4)を前記相手側端子に締結するボルト(60)と、
人の指が前記ボルト(60)の端部に触れるのを防止するために前記ボルト(60)の前記端部に嵌められるかまたは形成された絶縁エンドキャップ(61)と
を備え、
前記絶縁スリーブ(52)は、前記導電端子(4)の前記第2の円筒部(42)の前記端面を越えて延び、前記絶縁エンドキャップ(61)は、前記絶縁スリーブ(52)内に位置し、前記絶縁エンドキャップ(61)と前記絶縁スリーブ(52)との間の隙間は、指の挿入を防止するために人の指よりも小さい、請求項4に記載のコネクタ。
【請求項7】
前記締結アセンブリ(6)は、
前記ボルト(60)の頭部に形成された第1の絶縁体(62)と、
前記外側シールドシェル(1)の前記取付けポート(103)への取付けのためのシールドキャップ(63)と、
前記シールドキャップ(63)の内側に形成された第2の絶縁体(64)と
をさらに備え、
前記第1の絶縁体(62)および前記第2の絶縁体(64)は、互いに係合して前記シールドキャップ(63)と前記ボルト(60)とを互いに接合し、前記シールドキャップ(63)を前記ボルト(60)から電気的に隔離し、
前記シールドキャップ(63)は、前記取付けポート(103)を覆うように適合されるとともに、電磁漏出を防止するために前記取付けポート(103)の周壁の外周面と電気的接触を形成するように適合されている、請求項6に記載のコネクタ。
【請求項8】
ジョイント部(63a)と係合した操作具を通して前記ボルト(60)を締めることまたは緩めることができるように、前記操作具との係合に適している前記ジョイント部(63a)が、前記シールドキャップ(63)の外側に形成されている、請求項7に記載のコネクタ。
【請求項9】
前記締結アセンブリ(6)は、
前記第2の絶縁体(64)に嵌められ、前記第2の絶縁体(64)の内周面と前記取付けポート(103)の前記周壁との間で径方向に圧縮されることで前記取付けポート(103)をシールするように適合されたシールリング(65)をさらに備える、請求項7に記載のコネクタ。
【請求項10】
前記締結アセンブリ(6)は、前記内側絶縁ハウジング(2)に予め取り付けられ、制限フランジ(11a)が、前記第1の絶縁体(62)に形成され、制限突起(2a)が、前記内側絶縁ハウジング(2)に形成され、
前記制限突起(2a)は、前記制限フランジ(11a)に干渉して、前記内側絶縁ハウジング(2)に予め取り付けられた前記締結アセンブリ(6)が前記内側絶縁ハウジング(2)から外れるのを防止するために使用される、請求項7に記載のコネクタ。
(【請求項11】以降は省略されています)
発明の詳細な説明
【技術分野】
【0001】
関連出願の相互参照
本出願は、2024年4月12日に中国国家知識産権局に出願された中国特許出願第CN202420766112.7号の利益を主張し、その開示全体が、参照により本明細書に組み込まれる。
続きを表示(約 1,700 文字)
【0002】
本発明は、コネクタに関する。
【背景技術】
【0003】
新エネルギー車両において、高電圧ボルトコネクタは、非常に重要な部品であり、一般に、充電台座とバッテリとの間の電気的接続のために使用され、電気エネルギーを充電バッテリに伝送してバッテリパックの充電バッテリを充電する。従来技術では、充電台座端部にあるコネクタは、構造が複雑で、体積が大きいという問題を有し、防水シール、電磁シールド、高電圧インターロック、および指の保護などの機能を同時に実現することが困難である。
【発明の概要】
【発明が解決しようとする課題】
【0004】
本発明は、上述の欠点の少なくとも1つの側面を克服または緩和するためになされたものである。
【課題を解決するための手段】
【0005】
本発明の一態様によれば、コネクタが提供される。コネクタは、外側シールドシェルであって、外側シールドシェルの長手方向において反対側にある前部ポートおよび後部ポート、外側シールドシェルの高さ方向において反対側にある上壁および底部開口部、ならびに上壁に形成された取付けポートを備える、外側シールドシェルと、外側シールドシェルの後部ポートから外側シールドシェルに挿入され、外側シールドシェルの後部ポート、底部開口部、および取付けポートと連通する挿入キャビティを有する内側絶縁ハウジングと、内側絶縁ハウジングの挿入キャビティに挿入され、外側シールドシェルの後部ポートから引き出される電送部品と、相手側コネクタの相手側端子との電気的接触のために挿入キャビティに挿入される電送部品の前端部に溶接された導電端子と、導電端子を保持して位置決めするために外側シールドシェルの底部開口部に取り付けられる絶縁保持体と、導電端子を相手側端子に締結するために、外側シールドシェルの上壁の取付けポートを通して内側絶縁ハウジングに入る締結アセンブリとを備える。
【0006】
本発明の例示的な実施形態によれば、電送部品は、平坦な金属バーと、金属バーを覆っている外側絶縁層とを備え、金属バーの前端部は、外側絶縁層から露出し、導電端子は、円筒形であり、金属バーの前端部に垂直方向に溶接されている。
【0007】
本発明の別の例示的な実施形態によれば、導電端子は、導電端子の一端部に位置する第1の円筒部と、導電端子の他端部に位置する第2の円筒部と、第1の円筒部と第2の円筒部との間に位置するフランジ部とを備える。ソケットが、金属バーの前端部に形成され、第1の円筒部は、ソケットに挿入されて溶接され、フランジ部は、金属バーの前端部の表面に溶接され、第2の円筒部の端面は、相手側端子の端面との軸方向の電気的接触のために使用される。
【0008】
本発明の別の例示的な実施形態によれば、絶縁保持体は、外側シールドシェルおよび内側絶縁ハウジングに固定される絶縁ブラケットと、絶縁ブラケットに形成された絶縁スリーブとを備える。導電端子の第2の円筒部は、絶縁保持体の絶縁スリーブに挿入されて保持される。
【0009】
本発明の別の例示的な実施形態によれば、第1の弾性バックルおよび第2の弾性バックルが、絶縁ブラケットに形成され、第1の弾性バックルおよび第2の弾性バックルは、外側シールドシェルおよび内側絶縁ハウジングにそれぞれ係合して絶縁保持体を外側シールドシェルおよび内側絶縁ハウジングに固定する。
【0010】
本発明の別の例示的な実施形態によれば、締結アセンブリは、相手側端子または相手側コネクタ内のナットとのねじ接続のために導電端子を通過して導電端子を相手側端子に締結するボルトと、人の指がボルトの端部に触れるのを防止するためにボルトの端部に嵌められるかまたは形成された絶縁エンドキャップとを備える。絶縁スリーブは、導電端子の第2の円筒部の端面を越えて延び、絶縁エンドキャップは、絶縁スリーブ内に位置し、絶縁エンドキャップと絶縁スリーブとの間の隙間は、指の挿入を防止するために人の指よりも小さい。
(【0011】以降は省略されています)
この特許をJ-PlatPat(特許庁公式サイト)で参照する
関連特許
東ソー株式会社
絶縁電線
16日前
APB株式会社
蓄電セル
14日前
個人
フレキシブル電気化学素子
28日前
ローム株式会社
半導体装置
1か月前
株式会社東芝
端子台
8日前
日新イオン機器株式会社
イオン源
24日前
株式会社ユーシン
操作装置
28日前
マクセル株式会社
電源装置
8日前
ローム株式会社
半導体装置
1か月前
ローム株式会社
半導体装置
15日前
太陽誘電株式会社
全固体電池
1か月前
株式会社GSユアサ
蓄電装置
9日前
株式会社ホロン
冷陰極電子源
22日前
株式会社GSユアサ
蓄電設備
28日前
株式会社GSユアサ
蓄電設備
28日前
株式会社GSユアサ
蓄電装置
9日前
太陽誘電株式会社
コイル部品
28日前
株式会社GSユアサ
蓄電装置
1日前
オムロン株式会社
電磁継電器
29日前
TDK株式会社
電子部品
1か月前
サクサ株式会社
電池の固定構造
28日前
日本特殊陶業株式会社
保持装置
今日
ノリタケ株式会社
熱伝導シート
28日前
北道電設株式会社
配電具カバー
14日前
トヨタ自動車株式会社
バッテリ
14日前
トヨタ自動車株式会社
冷却構造
16日前
トヨタ自動車株式会社
バッテリ
29日前
日本特殊陶業株式会社
保持装置
17日前
日東電工株式会社
積層体
29日前
トヨタ自動車株式会社
蓄電装置
9日前
トヨタ自動車株式会社
蓄電装置
28日前
日新イオン機器株式会社
基板処理装置
11日前
日本製紙株式会社
導電性フィルム
29日前
ローム株式会社
半導体装置
29日前
東レエンジニアリング株式会社
実装装置
1か月前
ローム株式会社
半導体装置
16日前
続きを見る
他の特許を見る