TOP
|
特許
|
意匠
|
商標
特許ウォッチ
Twitter
他の特許を見る
公開番号
2025161267
公報種別
公開特許公報(A)
公開日
2025-10-24
出願番号
2024064310
出願日
2024-04-11
発明の名称
梱包材
出願人
日本ケミカル工業株式会社
代理人
個人
,
個人
,
個人
主分類
B65D
81/09 20060101AFI20251017BHJP(運搬;包装;貯蔵;薄板状または線条材料の取扱い)
要約
【課題】折り曲げて使用される形態であっても、耐久性および物品保持性に優れる脱気式の梱包材を提供する。
【解決手段】梱包材1は、調節バルブ9を具備する気体非透過性袋体2と、気体非透過性袋体2の内部に内蔵されたクッション体3とを備える脱気式の梱包材であって、クッション体3は、気体透過性袋体の内部に発泡ビーズが充填された複数のクッション部4、5と、これらクッション部4、5同士を互いに連結する連結部8とを有しており、梱包材1は、クッション体3の連結部8で折り曲げてクッション部4、5の間に物品を挟んだ状態で、調節バルブ9を介して気体非透過性袋体2内の空気を脱気することで物品を保持する。
【選択図】図1
特許請求の範囲
【請求項1】
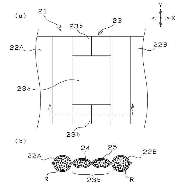
給脱気部を具備する気体非透過性袋体と、該気体非透過性袋体の内部に内蔵されたクッション体とを備える脱気式の梱包材であって、
前記クッション体は、気体透過性袋体の内部に発泡ビーズが充填された複数のクッション部と、これらクッション部同士を互いに連結する連結部とを有しており、
前記梱包材は、前記クッション体の前記連結部で折り曲げて前記クッション部の間に物品を挟んだ状態で、前記給脱気部を介して前記気体非透過性袋体内の空気を脱気することで前記物品を保持することを特徴とする梱包材。
続きを表示(約 730 文字)
【請求項2】
前記クッション部の各々は、前記気体透過性袋体の内部が一方向に延びるよう並列に並べられた複数の充填室に区画されており、それらの充填室に前記発泡ビーズが充填されていることを特徴とする請求項1記載の梱包材。
【請求項3】
前記クッション部のうち、折り曲げられて対向する1組のクッション部は、各クッション部において前記充填室の延びる方向が互いに異なっていることを特徴とする請求項2記載の梱包材。
【請求項4】
前記クッション部の各々は、複数の充填室に区画されており、それらの充填室に前記発泡ビーズが充填されており、前記クッション部のうち、折り曲げられて対向する1組のクッション部は、互いのクッション部における前記発泡ビーズの充填量、充填比率および平均粒径のうち、少なくともいずれかが異なることを特徴とする請求項1記載の梱包材。
【請求項5】
前記発泡ビーズは、ポリスチレン系樹脂、ポリオレフィン系樹脂、またはこれらの複合樹脂からなり、前記気体透過性袋体はポリエステル系樹脂製であることを特徴とする請求項1または請求項2記載の梱包材。
【請求項6】
前記連結部は、平面視で内部に切り欠き部が形成されており、該切り欠き部を介して前記気体非透過性袋体の対向する一対のシートが接合されていることを特徴とする請求項1または請求項2記載の梱包材。
【請求項7】
前記連結部にも前記発泡ビーズが充填されており、前記連結部において充填される発泡ビーズの充填量または充填比率は、前記クッション部において充填される発泡ビーズのそれよりも小さいことを特徴とする請求項1または請求項2記載の梱包材。
発明の詳細な説明
【技術分野】
【0001】
本発明は、輸送などされる物品を梱包する梱包材に関する。
続きを表示(約 1,600 文字)
【背景技術】
【0002】
近年、ECサイトの普及もあり、消費者がインターネットで商品を購入するケースが増えている。このように購入された商品をはじめ、電子機器や電子部品など様々な商品等(以下、まとめて「物品」という)が、トラックなどで日夜輸送され、個人宅や各種事業所、工場などに届けられている。このような物品を輸送する際には、輸送時の振動や衝撃から物品を保護するため、梱包材が用いられている。
【0003】
一般に、梱包材としては、ポリエチレン膜の間に多くの気泡を作った包装材(気泡緩衝材)が汎用されている。物品に対して気泡緩衝材を巻き付けることなどで、容易にクッション性を持たせることができ、身近な梱包材として知られている。一方、電化製品や工業製品などは、振動などからの保護をより高めるため、その形状に合わせた発泡成形体に嵌め込んで輸送される場合が多い。しかし、物品の形状に合わせて発泡成形体を種々準備する必要があり、手間やコストの増大などに繋がりやすい。
【0004】
従来、物品ごとの形状に合わせて対応することができる梱包材として、脱気式の梱包材が提案されている。例えば、特許文献1には、外袋と、内袋と、緩衝体ビーズからなる梱包用マットが記載されている。この梱包用マットでは、緩衝体ビーズは、内袋内において複数の接合点を結ぶそれぞれの区画内に実質的に定量が充填されている。その結果、例えば、梱包の際に梱包用マットの一部を折り曲げたりしても、マット内に充填された緩衝体ビーズは内袋内で偏ることがないとされている。
【先行技術文献】
【特許文献】
【0005】
特開2011-79537号公報
【発明の概要】
【発明が解決しようとする課題】
【0006】
上記のような脱気式の梱包材は、輸送ごとに脱気および給気を行うことで、物品の形状に合わせて変形させることができ、当該物品を安定的に保持することができる。また、繰り返しの使用が可能であり、省資源性にも優れる。一方、物品全体を包み込むため、梱包材を折り曲げて使用するケースもあるが、例えば特許文献1のような梱包用マットでは、内袋の折り曲げ箇所には負荷が掛かりやすく、繰り返しの使用によって内袋などが傷みやすく、緩衝体ビーズの飛散などに繋がるおそれがある。
【0007】
本発明は、このような事情に鑑みてなされたものであり、折り曲げて使用される形態であっても、耐久性および物品保持性に優れる脱気式の梱包材を提供することを目的とする。
【課題を解決するための手段】
【0008】
本発明の梱包材は、給脱気部を具備する気体非透過性袋体と、該気体非透過性袋体の内部に内蔵されたクッション体とを備える脱気式の梱包材であって、上記クッション体は、気体透過性袋体の内部に発泡ビーズが充填された複数のクッション部と、これらクッション部同士を互いに連結する連結部とを有しており、上記梱包材は、上記クッション体の上記連結部で折り曲げて上記クッション部の間に物品を挟んだ状態で、上記給脱気部を介して上記気体非透過性袋体内の空気を脱気することで上記物品を保持することを特徴とする。
【0009】
上記クッション部の各々は、上記気体透過性袋体の内部が一方向に延びるよう並列に並べられた複数の充填室に区画されており、それらの充填室に上記発泡ビーズが充填されていることを特徴とする。
【0010】
上記クッション部のうち、折り曲げられて対向する1組のクッション部は、各クッション部において上記充填室の延びる方向が互いに異なっていることを特徴とする。
(【0011】以降は省略されています)
この特許をJ-PlatPat(特許庁公式サイト)で参照する
関連特許
個人
収容箱
3か月前
個人
コンベア
5か月前
個人
段ボール箱
7か月前
個人
ゴミ収集器
7か月前
個人
容器
9か月前
個人
段ボール箱
7か月前
個人
バンド
2か月前
個人
楽ちんハンド
5か月前
個人
土嚢運搬器具
8か月前
個人
宅配システム
7か月前
個人
角筒状構造体
5か月前
個人
棒状体収容容器
今日
個人
廃棄物収容容器
3か月前
個人
お薬の締結装置
6か月前
個人
包装容器
1か月前
個人
コード類収納具
8か月前
個人
閉塞装置
10か月前
株式会社和気
包装用箱
10日前
株式会社和気
包装用箱
9か月前
個人
ゴミ処理機
9か月前
個人
積み重ね用補助具
3か月前
株式会社バンダイ
物品
1か月前
株式会社コロナ
梱包材
5か月前
個人
蓋閉止構造
4か月前
個人
貯蔵サイロ
7か月前
個人
把手付米袋
5か月前
個人
蓋閉止構造
4か月前
個人
袋入り即席麺
7か月前
三甲株式会社
容器
14日前
三甲株式会社
容器
2か月前
株式会社ナベル
検査装置
8日前
三甲株式会社
容器
6か月前
三甲株式会社
容器
6か月前
株式会社新弘
容器
3か月前
個人
コード折り畳み器具
4か月前
三甲株式会社
蓋体
8か月前
続きを見る
他の特許を見る