TOP
|
特許
|
意匠
|
商標
特許ウォッチ
Twitter
他の特許を見る
10個以上の画像は省略されています。
公開番号
2025161211
公報種別
公開特許公報(A)
公開日
2025-10-24
出願番号
2024064207
出願日
2024-04-11
発明の名称
同軸ケーブル、及び、デバイス試験装置
出願人
株式会社アドバンテスト
代理人
弁理士法人とこしえ特許事務所
主分類
H01B
11/18 20060101AFI20251017BHJP(基本的電気素子)
要約
【課題】高密度で配置することが可能な同軸ケーブルを提供する。
【解決手段】同軸ケーブル40は、筒状の外部導体45と、外部導体45に覆われた絶縁部44と、絶縁部44の中に配置された複数の内部導体41と、を備えている。
【選択図】図3
特許請求の範囲
【請求項1】
筒状の外部導体と、
前記外部導体に覆われた絶縁部と、
前記絶縁部の中に配置された複数の内部導体と、を備えた同軸ケーブル。
続きを表示(約 870 文字)
【請求項2】
請求項1に記載の同軸ケーブルであって、
前記複数の内部導体は、相互に離れるように前記絶縁部の中に配置されている同軸ケーブル。
【請求項3】
請求項1に記載の同軸ケーブルであって、
前記内部導体は、円弧状に延在する断面形状を有している同軸ケーブル。
【請求項4】
請求項1に記載の同軸ケーブルであって、
前記内部導体は、前記外部導体の内周面に実質的に平行に延在する断面形状を有している同軸ケーブル。
【請求項5】
請求項1に記載の同軸ケーブルであって、
前記内部導体の前記同軸ケーブルの径方向に沿った厚さは、前記内部導体の前記同軸ケーブルの周方向に沿った幅よりも小さい同軸ケーブル。
【請求項6】
請求項1に記載の同軸ケーブルであって、
前記複数の内部導体は、前記同軸ケーブルの周方向に間隔を空けて配置されていると共に、前記外部導体と同心円状に配置されている同軸ケーブル。
【請求項7】
請求項1に記載の同軸ケーブルであって、
前記内部導体は、円弧状の断面形状を有する金属層、又は、円弧状に並べられた複数の金属素線を備えた同軸ケーブル。
【請求項8】
請求項1に記載の同軸ケーブルであって、
前記絶縁部は、樹脂材料を備えた第1の絶縁部を備えた同軸ケーブル。
【請求項9】
請求項8に記載の同軸ケーブルであって、
前記第1の絶縁部は、前記複数の内部導体を保持する柱状又は筒状の樹脂体であり、
前記外部導体は、前記樹脂体を覆っている同軸ケーブル。
【請求項10】
請求項8に記載の同軸ケーブルであって、
前記第1の絶縁部は、相互に集合した複数の樹脂素線を備え、前記複数の内部導体を保持する素線集合体を備え、
前記外部導体は、前記素線集合体を覆っている同軸ケーブル。
(【請求項11】以降は省略されています)
発明の詳細な説明
【技術分野】
【0001】
本発明は、同軸ケーブル、及び、その同軸ケーブルを備えたデバイス試験装置に関するものである。
続きを表示(約 1,000 文字)
【背景技術】
【0002】
半導体集積回路素子等の各種半導体デバイス(DUT)の電気的特性を試験する半導体デバイス試験装置として、ソケットを備えたDSAと、ピンエレクトロニクスカードを備えたテストヘッドと、このDSAとテストヘッドとを電気的に接続する同軸ケーブルを備えたマザーボードと、を備えたものが知られている(例えば特許文献1参照)。
【先行技術文献】
【特許文献】
【0003】
特開2008-078048号公報
【発明の概要】
【発明が解決しようとする課題】
【0004】
半導体デバイス試験装置において、同時測定数(同時に試験可能なDUTの数)が増加すると、マザーボードが備える同軸ケーブルの本数も増加する。一方で、マザーボードの筐体内のスペースは限られているため、同軸ケーブルの本数を増やすことが難しい場合がある、という問題がある。
【0005】
本発明が解決しようとする課題は、高密度で配置することが可能な同軸ケーブル、及び、その同軸ケーブルを備えたデバイス試験装置を提供することである。
【課題を解決するための手段】
【0006】
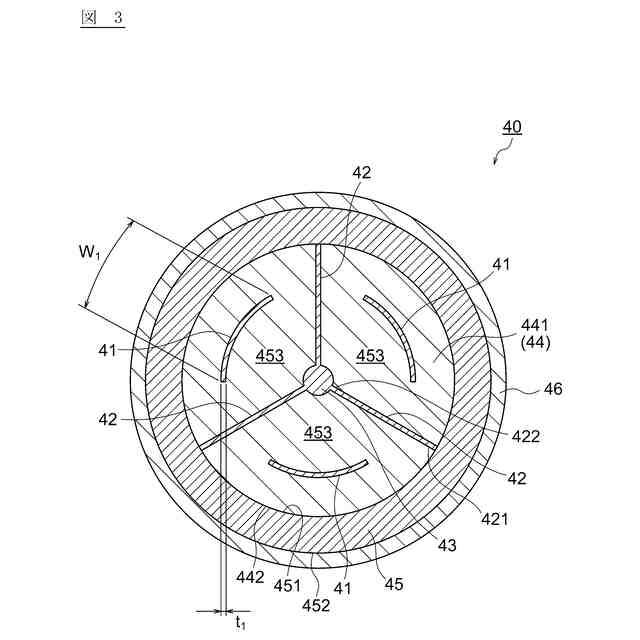
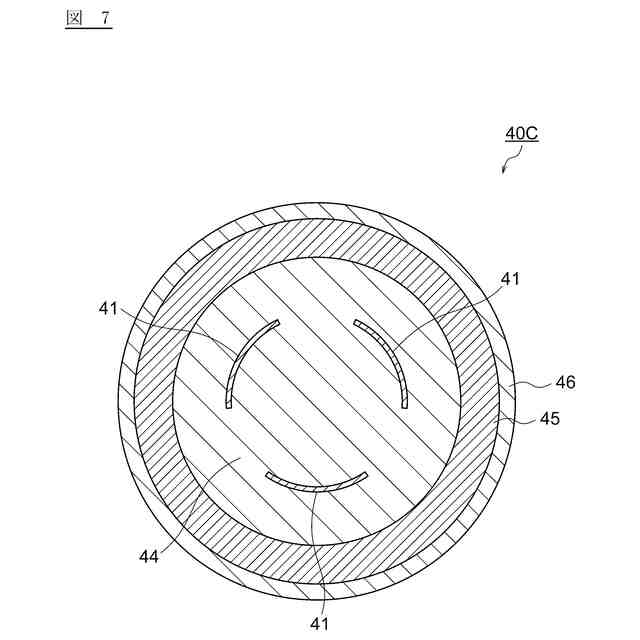
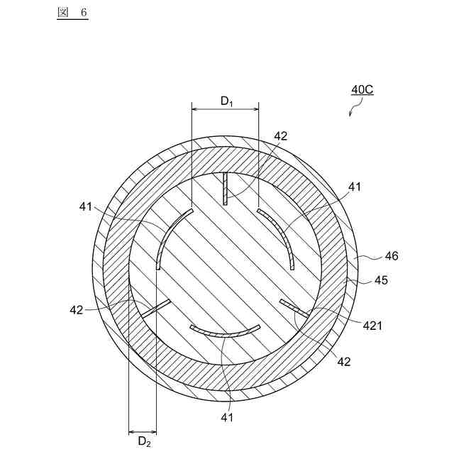
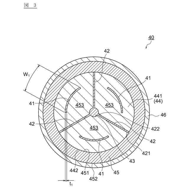
[1]本発明の態様1は、筒状の外部導体と、前記外部導体に覆われた絶縁部と、前記絶縁部の中に配置された複数の内部導体と、を備えた同軸ケーブルである。
【0007】
[2]本発明の態様2は、態様1の同軸ケーブルにおいて、前記複数の内部導体は、相互に離れるように前記絶縁部の中に配置されている同軸ケーブルであってもよい。
【0008】
[3]本発明の態様3は、態様1又は2の同軸ケーブルにおいて、前記絶縁部は、前記複数の内部導体の間に介在している同軸ケーブルであってもよい。
【0009】
[4]本発明の態様4は、態様1~3のいずれか一つの同軸ケーブルにおいて、前記内部導体は、円弧状に延在する断面形状を有している同軸ケーブルであってもよい。
【0010】
[5]本発明の態様5は、態様1~4のいずれか一つの同軸ケーブルにおいて、前記内部導体は、前記外部導体の内周面に実質的に平行に延在する断面形状を有している同軸ケーブルであってもよい。
(【0011】以降は省略されています)
この特許をJ-PlatPat(特許庁公式サイト)で参照する
関連特許
APB株式会社
蓄電セル
12日前
東ソー株式会社
絶縁電線
14日前
個人
フレキシブル電気化学素子
26日前
日新イオン機器株式会社
イオン源
22日前
ローム株式会社
半導体装置
13日前
株式会社ユーシン
操作装置
26日前
株式会社東芝
端子台
6日前
ローム株式会社
半導体装置
28日前
ローム株式会社
半導体装置
1か月前
マクセル株式会社
電源装置
6日前
株式会社GSユアサ
蓄電装置
7日前
株式会社GSユアサ
蓄電装置
7日前
オムロン株式会社
電磁継電器
27日前
株式会社GSユアサ
蓄電設備
26日前
太陽誘電株式会社
全固体電池
1か月前
株式会社GSユアサ
蓄電設備
26日前
株式会社ホロン
冷陰極電子源
20日前
太陽誘電株式会社
コイル部品
26日前
トヨタ自動車株式会社
蓄電装置
26日前
北道電設株式会社
配電具カバー
12日前
ノリタケ株式会社
熱伝導シート
26日前
日本特殊陶業株式会社
保持装置
15日前
TDK株式会社
電子部品
1か月前
日新イオン機器株式会社
基板処理装置
9日前
トヨタ自動車株式会社
バッテリ
27日前
日東電工株式会社
積層体
27日前
トヨタ自動車株式会社
蓄電装置
7日前
トヨタ自動車株式会社
冷却構造
14日前
トヨタ自動車株式会社
バッテリ
12日前
日本特殊陶業株式会社
保持装置
1か月前
日本特殊陶業株式会社
保持装置
1か月前
サクサ株式会社
電池の固定構造
26日前
日本無線株式会社
レーダアンテナ
今日
株式会社デンソー
電子装置
9日前
日本特殊陶業株式会社
電極
1か月前
トヨタ自動車株式会社
電池パック
19日前
続きを見る
他の特許を見る