TOP
|
特許
|
意匠
|
商標
特許ウォッチ
Twitter
他の特許を見る
公開番号
2025160754
公報種別
公開特許公報(A)
公開日
2025-10-23
出願番号
2024063521
出願日
2024-04-10
発明の名称
延焼防止シート、その製造方法およびそれを備えるバッテリー
出願人
信越ポリマー株式会社
代理人
めぶき弁理士法人
,
個人
主分類
C09K
21/02 20060101AFI20251016BHJP(染料;ペイント;つや出し剤;天然樹脂;接着剤;他に分類されない組成物;他に分類されない材料の応用)
要約
【課題】
断熱性と厚さ方向の圧力変化への順応性を示しつつ、高い耐熱性を有する延熱防止シート、その製造方法およびそれを備えるバッテリーを提供する。
【解決手段】
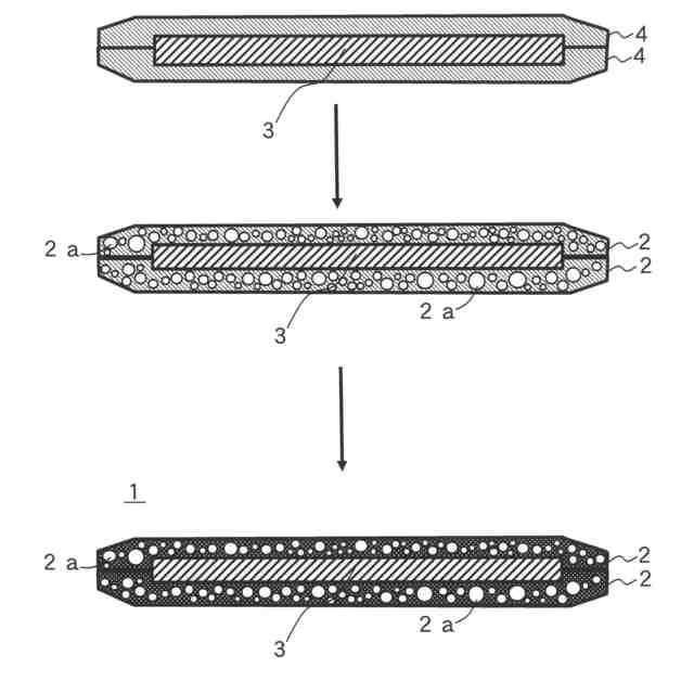
本発明は、複数の熱源同士の間に少なくとも配置され、熱源が過熱状態の際に他の熱源への伝熱を抑制して延焼を防止可能な延焼防止シート1であって、2枚の弾性発泡シート2と、金属酸化物を含む断熱シート3とを積層してなり、断熱シート3を2枚の弾性発泡シート2の間に挟むと共に、弾性発泡シート2の外周囲を封止した形態を有する延焼防止シート1、その製造方法および同シート1を備えるバッテリーに関する。
【選択図】図1
特許請求の範囲
【請求項1】
複数の熱源同士の間に少なくとも配置され、前記熱源が過熱状態の際に他の熱源への伝熱を抑制して延焼を防止可能な延焼防止シートであって、
2枚の弾性発泡シートと、
金属酸化物を含む断熱シートと、
を積層してなり、
前記断熱シートを2枚の前記弾性発泡シートの間に挟むと共に、前記弾性発泡シートの外周囲を封止した形態を有することを特徴とする延焼防止シート。
続きを表示(約 840 文字)
【請求項2】
前記弾性発泡シートが、いずれも発泡シリコーンゴムのシートであることを特徴とする請求項1に記載の延焼防止シート。
【請求項3】
前記断熱シートが、前記金属酸化物またはそれを含む材料として、シリカ、珪藻土およびタルクの少なくともいずれか1つを含むことを特徴とする請求項1に記載の延焼防止シート。
【請求項4】
前記断熱シートが、シリカ、エアロゲル、珪藻土およびタルクの少なくともいずれか一つを前記断熱シートの全質量に対して50質量%以上含むことを特徴とする請求項3に記載の延焼防止シート。
【請求項5】
請求項1から4のいずれか1項に記載の延焼防止シートを製造する方法であって、
前記断熱シートの両面に、発泡剤を含む未硬化状態のシートを貼り合わせた積層体を作製する積層ステップと、
前記積層体を加熱して、前記未硬化状態のシートを発泡させて硬化する発泡・硬化ステップと、を含むことを特徴とする延焼防止シートの製造方法。
【請求項6】
前記発泡・硬化ステップが、前記未硬化状態のシートを加熱して発泡させる発泡ステップと、その後に前記発泡ステップより高温で加熱を行って、発泡したシートの硬化を促進する硬化ステップと、を含むことを特徴とする請求項5に記載の延焼防止シートの製造方法。
【請求項7】
前記断熱シートが、シリカ、珪藻土およびタルクの少なくともいずれか一つを前記断熱シートの全質量に対して50質量%以上含むことを特徴とする請求項5に記載の延焼防止シートの製造方法。
【請求項8】
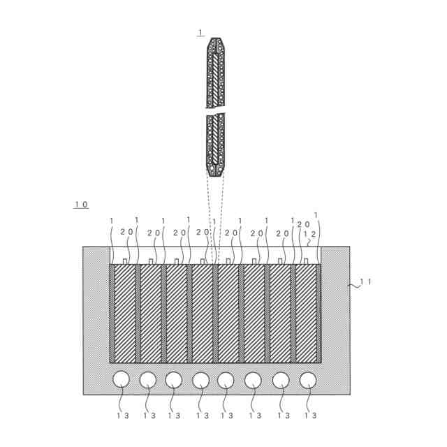
複数のバッテリーセルを筐体内に備えるバッテリーにおいて、
前記バッテリーセル同士の間および前記バッテリーセルと前記筐体との間の内、少なくとも前記バッテリーセル同士の間に、請求項1から4のいずれか1項に記載の延焼防止シートを備えることを特徴とするバッテリー。
発明の詳細な説明
【技術分野】
【0001】
本発明は、延焼防止シート、その製造方法およびそれを備えるバッテリーに関する。
続きを表示(約 2,500 文字)
【背景技術】
【0002】
現在、世界中で、地球環境への負荷軽減を目的として、従来からのガソリン車あるいはディーゼル車を徐々に電気自動車に転換しようとする動きが活発化している。特に、フランス、オランダ、ドイツをはじめとする欧州諸国の他、中国でも、電気自動車の普及が進行してきている。電気自動車の普及には、高性能のバッテリーが必要である。
【0003】
バッテリーの中には、放電時または充電時に熱暴走して発火や発煙等が生じるものもある。近年では、自動車用のバッテリーとして、筐体内に複数のバッテリーセルを並べて装着したものが知られている。このような複数のバッテリーセルが並べて装着されたバッテリーにおいて、1つのバッテリーセルから発火や発煙等が生じた場合、周囲のバッテリーセルに熱が伝わることにより、さらに大きな発火、発煙、爆発等の不具合が生じる虞がある。このような不具合による被害を最小限に抑えるため、異常高温になったバッテリーセルの熱を周囲のバッテリーセルに伝え難くする方法が検討されている。例えば、複数のバッテリーセル同士の間に、耐火材や断熱層等の延焼防止シートを設ける方法が知られている(特許文献1を参照)。
【先行技術文献】
【特許文献】
【0004】
特開2018-206604号公報
【発明の概要】
【発明が解決しようとする課題】
【0005】
延焼防止シートとして、例えば、セラミックス製耐火シートを、バッテリーセル(単に「セル」ともいう。)の間に配置することが考えられる。しかし、バッテリーを構成するセルの容器は、放電時および/または充電時に過熱すると膨張する。よって、高硬度のセラミックス製のシートが、耐熱性(耐火性)に優れていても、クッション性に劣ることからセル間の延焼防止用途には適さない。
【0006】
一方、樹脂製のシートは、断熱性およびクッション性に優れていても、耐熱性(耐火性)の点では、セラミックス製のシートに劣る。市場では、断熱性とクッション性を発揮でき、かつ高い耐熱性を有する延熱防止シートが求められている。このような要望に応えることは、「すべての人々の、安価かつ信頼できる持続可能な近代的エネルギーへのアクセスを確保する」という本出願人の持続可能な開発目標の達成にも資する。
【0007】
本発明は、上記課題を解決するためになされたものであり、断熱性とクッション性を発揮でき、かつ高い耐熱性を有する延熱防止シート、その製造方法およびそれを備えるバッテリーを提供することを目的とする。
【課題を解決するための手段】
【0008】
(1)上記目的を達成するための一実施形態に係る延焼防止シートは、複数の熱源同士の間に少なくとも配置され、前記熱源が過熱状態の際に他の熱源への伝熱を抑制して延焼を防止可能な延焼防止シートであって、
2枚の弾性発泡シートと、
金属酸化物を含む断熱シートと、
を積層してなり、
前記断熱シートを2枚の前記弾性発泡シートの間に挟むと共に、前記弾性発泡シートの外周囲を封止した形態を有する。
(2)別の実施形態に係る延焼防止シートは、好ましくは、前記弾性発泡シートが、いずれも発泡シリコーンゴムのシートであってもよい。
(3)別の実施形態に係る延焼防止シートは、好ましくは、前記断熱シートが、前記金属酸化物またはそれを含む材料として、シリカ、エアロゲル、珪藻土およびタルクの少なくともいずれか1つを含んでもよい。
(4)別の実施形態に係る延焼防止シートは、好ましくは、前記断熱シートが、シリカ、珪藻土およびタルクの少なくともいずれか1つを前記断熱シートの全質量に対して50質量%以上含んでもよい。
(5)上記目的を達成するための一実施形態に係る延焼防止シートの製造方法は、前記断熱シートの両面に、発泡剤を含む未硬化状態のシートを貼り合わせた積層体を作製する積層ステップと、
前記積層体を加熱して、前記未硬化状態のシートを発泡させて硬化する発泡・硬化ステップと、を含む。
(6)別の実施形態に係る延焼防止シートの製造方法は、好ましくは、前記発泡・硬化ステップが、前記未硬化状態のシートを加熱して発泡させる発泡ステップと、その後に前記発泡ステップより高温で加熱を行って、発泡したシートの硬化を促進する硬化ステップと、を含んでもよい。
(7)別の実施形態に係る延焼防止シートの製造方法は、好ましくは、前記断熱シートが、シリカ、珪藻土およびタルクの少なくともいずれか1つを前記断熱シートの全質量に対して50質量%以上含んでもよい。
(8)上記目的を達成するための一実施形態に係るバッテリーは、複数のバッテリーセルを筐体内に備えるバッテリーにおいて、
前記バッテリーセル同士の間および前記バッテリーセルと前記筐体との間の内、少なくとも前記バッテリーセル同士の間に、上述のいずれか1つの延焼防止シートを備える。
【発明の効果】
【0009】
本発明によれば、断熱性とクッション性を発揮でき、かつ高い耐熱性を有する延熱防止シート、その製造方法およびそれを備えるバッテリーを提供することができる。
【図面の簡単な説明】
【0010】
図1は、第1実施形態に係る延焼防止シートの正面図および側面図(1A)、ならびにA-A断面図(1B)を示す。
図2は、第1実施形態に係る延焼防止シートの製造過程を示す縦断面図(2A,2B,2C,2D)を示す。
図3は、第2実施形態に係る延焼防止シートを製造する場合における熱処理過程を示す縦断面図である。
図4は、一実施形態に係るバッテリーの縦断面図および当該縦断面図におけるバッテリーセル同士の間に挟まれている1つの延焼防止シートの拡大図を示す。
【発明を実施するための形態】
(【0011】以降は省略されています)
この特許をJ-PlatPat(特許庁公式サイト)で参照する
関連特許
信越ポリマー株式会社
現像ローラ
15日前
信越ポリマー株式会社
基板収納容器
15日前
信越ポリマー株式会社
医療器具、及び医療器具の製造方法
4日前
信越ポリマー株式会社
梱包資材及びその取り扱い方法、並びに輸送用外装箱
16日前
信越ポリマー株式会社
延焼防止シート、その製造方法およびそれを備えるバッテリー
2日前
ベック株式会社
被覆材
3か月前
日本化薬株式会社
インク
29日前
ベック株式会社
水性被覆材
17日前
ベック株式会社
被膜形成方法
2か月前
ベック株式会社
被膜形成方法
18日前
日本化薬株式会社
インク組成物
29日前
日本化薬株式会社
前処理組成物
15日前
日本製紙株式会社
圧着紙
15日前
個人
絵具及び絵具セット
2日前
株式会社日本触媒
インクセット
1か月前
関西ペイント株式会社
塗料組成物
2か月前
メック株式会社
表面処理剤
10日前
東ソー株式会社
印刷インキ組成物
8日前
株式会社KRI
潜熱蓄熱材組成物
15日前
ぺんてる株式会社
水性インキ組成物
3か月前
日澱化學株式会社
ホットメルト接着剤
17日前
東ソー株式会社
土木用注入薬液組成物
1か月前
シヤチハタ株式会社
油性インキ組成物
2か月前
アイカ工業株式会社
ホットメルト組成物
18日前
アイカ工業株式会社
光硬化型圧着組成物
2か月前
大日精化工業株式会社
顔料分散液
1か月前
AGC株式会社
液状組成物
2か月前
デンカ株式会社
蛍光体
17日前
東ソー株式会社
土質安定化注入薬液組成物
1か月前
東ソー株式会社
土質安定化注入薬液組成物
1か月前
マクセル株式会社
粘着テープ
2か月前
大日本印刷株式会社
積層シート
15日前
日本化薬株式会社
インク組成物及び捺染方法
15日前
リンテック株式会社
粘着シート
16日前
artience株式会社
水性フレキソインキ
16日前
ダイキン工業株式会社
撥剤
15日前
続きを見る
他の特許を見る