TOP
|
特許
|
意匠
|
商標
特許ウォッチ
Twitter
他の特許を見る
公開番号
2025153709
公報種別
公開特許公報(A)
公開日
2025-10-10
出願番号
2024056321
出願日
2024-03-29
発明の名称
基板収納容器
出願人
信越ポリマー株式会社
代理人
個人
,
個人
,
個人
,
個人
主分類
H01L
21/673 20060101AFI20251002BHJP(基本的電気素子)
要約
【課題】 ボディ内外の圧力が高い場合にもボディとドアの間でリークや外気の侵入を招くおそれを払拭でき、シールガスケットの一部がめくれるおそれを排除できる基板収納容器を提供する。
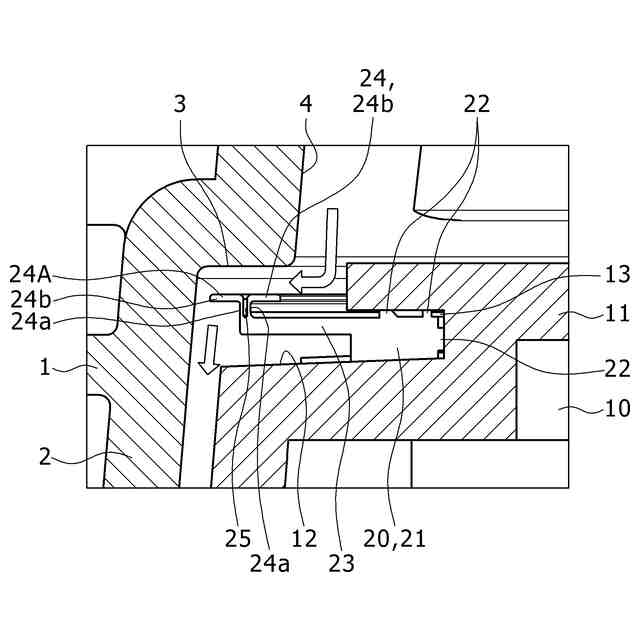
【解決手段】 半導体ウェーハ収納用のボディ1と、ボディ1の正面部2に嵌合されるドアセット10と、ボディ1とドアセット10間に介在されるシールガスケット20とを備えた基板収納容器であり、ボディ1の正面部内周にシール形成面3が形成され、ドアセット10の裏面周縁部に取付溝13が形成されており、シールガスケット20は、取付溝13に嵌合されるガスケット本体21と、ガスケット本体21から延びる延長片23と、シール形成面内側に接触する第一のリップ片24と、シール形成面外側に接触する第二のリップ片24Aとを備え、第一、第二のリップ片24・24Aを断面逆L字形に形成し、これらの間にドアセット10が嵌合時に圧潰する二股空間25を形成する。
【選択図】 図4
特許請求の範囲
【請求項1】
基板を収納するボディと、このボディの開口部に嵌め合わされるドアと、これらボディとドアとの間に介在される変形可能なシールガスケットとを備えた基板収納容器であって、
ボディの開口部内周とドアの周縁部のうち、いずれか一方にシールガスケット用のシール形成面が形成され、他方にはシールガスケット用の取付溝が形成されており、
シールガスケットは、取付溝に嵌められるガスケット本体と、このガスケット本体から延長される延長片と、この延長片に形成されてシール形成面内側に接触可能な第一のリップ片と、延長片に形成されてシール形成面外側に接触可能な第二のリップ片とを含み、第一、第二のリップ片をそれぞれ断面略L字形に形成し、これら第一、第二のリップ片の間に、ボディの開口部にドアが嵌め合わされた場合に潰れる二股空間を形成したことを特徴とする基板収納容器。
続きを表示(約 430 文字)
【請求項2】
ボディは、複数枚の半導体ウェーハを上下方向に整列収納可能なフロントオープンボックスに成形され、開口した正面部が幅方向外側に膨出形成されるとともに、正面部内周の段差がシール形成面に形成されており、
ドアは、裏面の周縁部に取付溝がエンドレスに形成され、この取付溝にシールガスケットのガスケット本体が嵌め入れられる請求項1記載の基板収納容器。
【請求項3】
シールガスケットは、所定の成形材料によりエンドレスに成形され、ガスケット本体が断面略多角形に形成されており、このガスケット本体から突起が突出して取付溝内に接触する請求項1又は2記載の基板収納容器。
【請求項4】
第一、第二のリップ片は、延長片の先端部からシール形成面方向に形成される屈曲部と、この屈曲部に形成されてシール形成面に接触する接触部とを備え、この接触部と二股空間の形成する角度が70°以上90°以下である請求項1又は2記載の基板収納容器。
発明の詳細な説明
【技術分野】
【0001】
本発明は、半導体ウェーハ等の基板を収納するボディとドアとの間にシールガスケットが介在される基板収納容器に関するものである。
続きを表示(約 2,000 文字)
【背景技術】
【0002】
半導体ウェーハを収納する基板収納容器には、輸送用のFOSBと工程内搬送用のFOUPのタイプがあるが、いずれのタイプにも高性能化が求められている。具体的には、輸送用のFOSBタイプの場合には、シール性や清浄度の向上が求められ、工程内搬送用のFOUPタイプの場合には、パージ機能の向上が求められている(特許文献1、2参照)。
【0003】
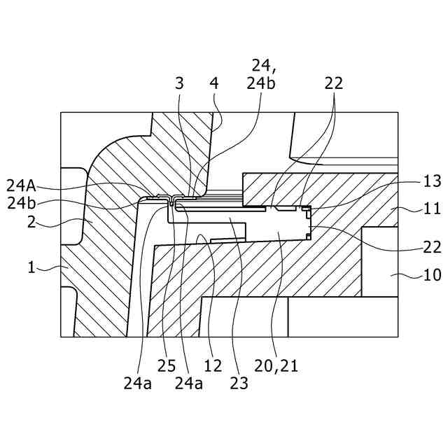
従来におけるFOSBタイプの基板収納容器は、図7に示すように、半導体ウェーハを収納するボディ1と、このボディ1の開口した正面部2に嵌合されるドアセット10と、これらボディ1とドアセット10との間に介在されるエンドレスのシールガスケット30とを備え、輸送時の気圧の変動等によりボディ1とドアセット10の間で気体が流通するのを防ぐため、シールガスケット30のシール性や清浄度の向上が求められている。
【0004】
ボディ1は、複数枚の半導体ウェーハを整列収納可能なフロントオープンボックスに成形され、開口した正面部2が外方向に膨出形成されるとともに、この正面部2の内周の段差がシール形成面3に形成されており、このシール形成面3に屈曲して隣接する隣接面4がボディ1の周壁内面を形成している。また、ドアセット10は、ボディ1の正面部2に対応する大きさ・形に構成され、裏面12の周縁部に取付溝13が形成されており、この取付溝13にシールガスケット30が嵌入される。
【0005】
シールガスケット30は、様々なタイプがあるが、例えば図7に示すタイプの場合、ドアセット10の取付溝13に嵌入される基体31と、この基体31から幅方向外側に延長される延出片32と、この延出片32の先端部に湾曲形成されて外側に伸びるシール片33とを備えた枠形に成形され、シール片33の先端部に、ボディ1のシール形成面3に圧接してシールする球状突起34が膨出形成されている。
【0006】
このようなシールガスケット30は、ボディ1の開口した正面部2にドアセット10が圧入して嵌合されると、シール片33が外方向に撓んで球状突起34をボディ1のシール形成面3に圧接し、この圧接により、シール形成面3とドアセット10との間にシールを形成してボディ1の外部から内部にパーティクル等の混在した外気が流入するのを防止する。
【先行技術文献】
【特許文献】
【0007】
特開2013-105931号公報
特開2014-017452号公報
【発明の概要】
【発明が解決しようとする課題】
【0008】
従来における基板収納容器は、以上のようにシールガスケット30が形成されて所定の効果を発揮するものの、ボディ1内外の圧力(気圧)が想定値以上の場合には、ボディ1とドアセット10との間でリークや外気の侵入を招くおそれが考えられる。例えば、ボディ1内の圧力が想定値以上に高い場合には、シールガスケット30のシール片33や球状突起34が内圧に負けてボディ1のシール形成面3から離れ、リークを招く懸念がある。また、特許文献1に記載されたシールガスケット30の場合、優れた効果が期待できるものの、延出片32の中間部付近から突出する第二のシール片がシール形成面3とは別位置の隣接面4に接触するので、ドアセット10の嵌合位置が正規の位置でないときには、第二のシール片がめくれる懸念がある。
【0009】
本発明は上記に鑑みなされたもので、ボディ内外の圧力が高い場合にもボディとドアとの間でリークや外気の侵入を招くおそれを払拭することができ、シールガスケットの一部がめくれるおそれを排除することのできる基板収納容器を提供することを目的としている。
【課題を解決するための手段】
【0010】
本発明においては上記課題を解決するため、基板を収納するボディと、このボディの開口部に嵌め合わされるドアと、これらボディとドアとの間に介在される変形可能なシールガスケットとを備えたものであって、
ボディの開口部内周とドアの周縁部のうち、いずれか一方にシールガスケット用のシール形成面が形成され、他方にはシールガスケット用の取付溝が形成されており、
シールガスケットは、取付溝に嵌められるガスケット本体と、このガスケット本体から延長される延長片と、この延長片に形成されてシール形成面内側に接触可能な第一のリップ片と、延長片に形成されてシール形成面外側に接触可能な第二のリップ片とを含み、第一、第二のリップ片をそれぞれ断面略L字形に形成し、これら第一、第二のリップ片の間に、ボディの開口部にドアが嵌め合わされた場合に潰れる二股空間を形成したことを特徴としている。
(【0011】以降は省略されています)
この特許をJ-PlatPat(特許庁公式サイト)で参照する
関連特許
信越ポリマー株式会社
現像ローラ
17日前
信越ポリマー株式会社
基板収納容器
17日前
信越ポリマー株式会社
パネル収納容器
今日
信越ポリマー株式会社
塩化ビニル樹脂組成物
今日
信越ポリマー株式会社
アロイ樹脂及び成形品
今日
信越ポリマー株式会社
配線基板及びその製造方法
今日
信越ポリマー株式会社
医療器具、及び医療器具の製造方法
6日前
信越ポリマー株式会社
パネル収納容器、清浄システム、及び清浄方法
今日
信越ポリマー株式会社
延焼防止シート、その製造方法およびそれを備えるバッテリー
4日前
東ソー株式会社
絶縁電線
5日前
APB株式会社
蓄電セル
3日前
個人
フレキシブル電気化学素子
17日前
ローム株式会社
半導体装置
26日前
ローム株式会社
半導体装置
4日前
日新イオン機器株式会社
イオン源
13日前
ローム株式会社
半導体装置
26日前
ローム株式会社
半導体装置
19日前
ローム株式会社
半導体装置
24日前
ローム株式会社
半導体装置
26日前
株式会社ユーシン
操作装置
17日前
株式会社GSユアサ
蓄電装置
24日前
株式会社GSユアサ
蓄電設備
17日前
オムロン株式会社
電磁継電器
18日前
個人
半導体パッケージ用ガラス基板
27日前
株式会社GSユアサ
蓄電設備
17日前
株式会社ホロン
冷陰極電子源
11日前
太陽誘電株式会社
コイル部品
17日前
株式会社ホロン
冷陰極電子源
24日前
太陽誘電株式会社
全固体電池
24日前
トヨタ自動車株式会社
バッテリ
3日前
サクサ株式会社
電池の固定構造
17日前
日本特殊陶業株式会社
保持装置
26日前
北道電設株式会社
配電具カバー
3日前
トヨタ自動車株式会社
蓄電装置
17日前
日新イオン機器株式会社
基板処理装置
今日
ノリタケ株式会社
熱伝導シート
17日前
続きを見る
他の特許を見る