TOP
|
特許
|
意匠
|
商標
特許ウォッチ
Twitter
他の特許を見る
10個以上の画像は省略されています。
公開番号
2025160704
公報種別
公開特許公報(A)
公開日
2025-10-23
出願番号
2024063430
出願日
2024-04-10
発明の名称
飛行装置
出願人
株式会社石川エナジーリサーチ
代理人
個人
,
個人
,
個人
主分類
B64U
10/13 20230101AFI20251016BHJP(航空機;飛行;宇宙工学)
要約
【課題】飛行中に於いてエンジンを効果的に運転できる飛行装置を提供する。
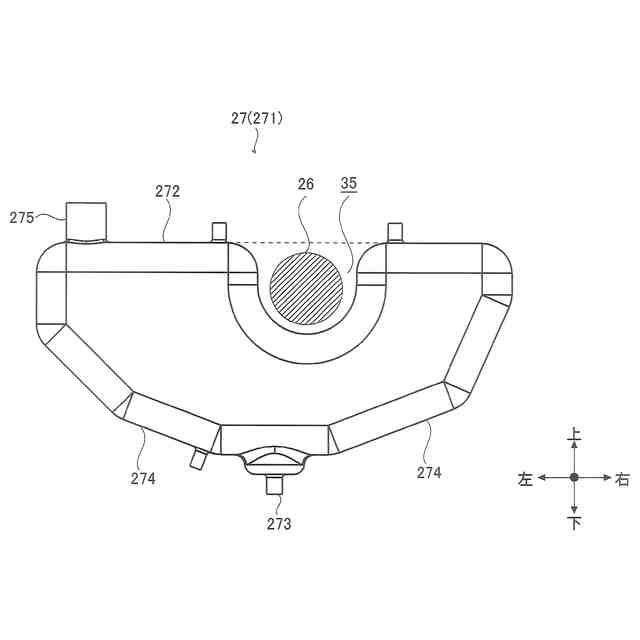
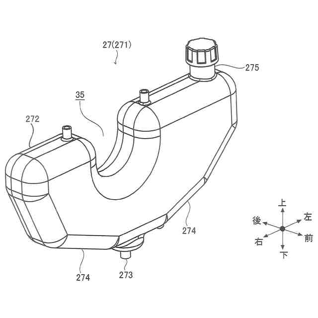
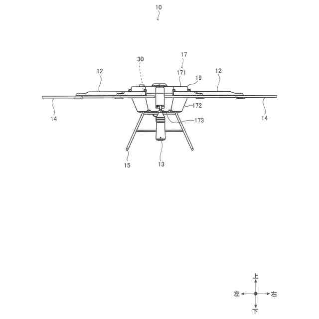
【解決手段】飛行装置10は、ロータ14の回転により発生する推力により空中を浮遊する装置である。飛行装置10は、機体19と、エンジン30と、タンク27と、電装品28と、を具備する。機体19の内部空間29は、タンク27により、第1空間291と第2空間292とに区画される。エンジン30は第1空間291に配設される。電装品28は、第2空間292に配設される。
【選択図】図5
特許請求の範囲
【請求項1】
ロータが回転することで発生する推力により空中を浮遊する飛行装置であり、
機体と、エンジンと、タンクと、電装品と、を具備し、
前記機体の内部空間は、前記タンクにより、第1空間と第2空間とに区画され、
前記エンジンは、前記第1空間に配設され、
前記電装品は、前記第2空間に配設されることを特徴とする飛行装置。
続きを表示(約 570 文字)
【請求項2】
上面から前記機体を見た場合において、前記タンクは、前記内部空間を前記第1空間と前記第2空間とに区画することを特徴とする請求項1に記載の飛行装置。
【請求項3】
前記タンクは、前記第1空間と前記第2空間とを連通させる連通部を有することを特徴とする請求項1に記載の飛行装置。
【請求項4】
前記連通部は、前記タンクの上面を部分的に下方に向かって窪ませた凹状の部位であることを特徴とする請求項3に記載の飛行装置。
【請求項5】
前記エンジンは、エンジン本体部と、外部から空気を取り入れる給気部と、前記給気部から前記エンジン本体部に空気を供給する供給風路部と、を有し、
前記供給風路部は、前記連通部を貫通して、前記第1空間から前記第2空間に延在し、
前記給気部は、前記第2空間に配設されることを特徴とする請求項3に記載の飛行装置。
【請求項6】
前記タンクは、前記エンジンに供給される燃料が貯留される燃料タンクであることを特徴とする請求項3に記載の飛行装置。
【請求項7】
前記タンクは、流体が外部に取り出される取出部と、底面部を有し、
前記底面部は、前記取出部に向かって下方に傾斜することを特徴とする請求項1に記載の飛行装置。
発明の詳細な説明
【技術分野】
【0001】
本発明は、飛行装置に関し、特に、機体にタンクを有する飛行装置に関する。
続きを表示(約 1,600 文字)
【背景技術】
【0002】
従来から、無人で空中を飛行することが可能な飛行装置が知られている。このような飛行装置は、垂直軸回りに回転するロータの推力で、空中を飛行することを可能としている。
【0003】
かかる飛行装置の適用分野としては、例えば、輸送分野、測量分野および撮影分野等が挙げられる。このような分野に飛行装置を適用する場合は、測量機器や撮影機器を飛行装置に備え付ける。飛行装置をかかる分野に適用させることで、人が立ち入れない地域に飛行装置を飛行させ、そのような地域の輸送、撮影および測量を行うことができる。このような飛行装置に関する発明は、例えば、特許文献1や特許文献2に記載されている。
【0004】
一般的な飛行装置では、飛行装置に搭載された蓄電池から供給される電力により、上記したロータは回転する。しかしながら、蓄電池による電力の供給ではエネルギの供給量が必ずしも十分ではないため、長時間に渡る連続飛行を実現するために、エンジンを搭載した飛行装置も出現している。このような飛行装置では、エンジンの駆動力で発電機を回転させ、発電機で発電された電力でロータを回転駆動する。かかる構成の飛行装置は、動力源からロータにエネルギが供給される経路に、エンジンと発電機とが直列的に接続されることから、シリーズ型ハイブリッドドローンとも称される。このような飛行装置を用いて撮影や測量を行うことで、広範囲な撮影や測量を行うことができる。エンジンが搭載された飛行装置は、例えば特許文献3に記載されている。また、エンジンの駆動力により機械的にメインロータを回転させ、モータによりサブロータを回転させるパラレル型ハイブリッドドローンも徐々に登場している。
【先行技術文献】
【特許文献】
【0005】
特開2012-51545号公報
特開2014-240242号公報
特開2011-251678号公報
【発明の概要】
【発明が解決しようとする課題】
【0006】
しかしながら、前述した従前の飛行装置においては、飛行装置に搭載されるエンジンに関して改善の余地があった。
【0007】
具体的には、エンジンが運転することによりエンジンを取り巻く空気は昇温する。よって、昇温された空気が、エンジンの燃焼室に送りこまれると、エンジンの運転効率が低下してしまう課題があった。また、係る課題を解決するために、エンジンに供給される空気を遠方から取り込むためのダクトを配設すると、飛行装置全体の構成が複雑化すると共に、飛行装置全体の軽量化が困難になる課題があった。また、飛行装置の機体の内部において、エンジンの近傍に、バッテリやインバータ等の電装品が配設されると、エンジンにより電装品が過熱され、電装品の動作が不安定になる恐れもあった。
【0008】
本発明は、上記の事情に鑑みてなされたものであり、その目的とするところは、飛行中に於いてエンジンを効果的に運転できる飛行装置を提供することにある。
【課題を解決するための手段】
【0009】
本発明の飛行装置は、ロータが回転することで発生する推力により空中を浮遊する飛行装置であり、機体と、エンジンと、タンクと、電装品と、を具備し、前記機体の内部空間は、前記タンクにより、第1空間と第2空間とに区画され、前記エンジンは、前記第1空間に配設され、前記電装品は、前記第2空間に配設されることを特徴とする。
【0010】
また、本発明の飛行装置では、上面から前記機体を見た場合において、前記タンクは、前記内部空間を前記第1空間と前記第2空間とに区画することを特徴とする。
(【0011】以降は省略されています)
この特許をJ-PlatPat(特許庁公式サイト)で参照する
関連特許
個人
ドローン
8か月前
個人
人工台風
3か月前
個人
着火ドローン
5か月前
個人
救難消防飛行艇
5か月前
個人
AERO JET
24日前
個人
ドローンシステム
9か月前
東レ株式会社
中空回転翼
4か月前
個人
無人空中移動体
1か月前
個人
飛行自動車vol.2
2日前
個人
動力原付きグライダー
1か月前
個人
連続回転可能な飛行機翼
6か月前
個人
導風板付き垂直離着陸機
3か月前
個人
陸海空用の乗り物
6か月前
東レ株式会社
プロペラブレード
4か月前
個人
空飛ぶクルマ
4か月前
東レ株式会社
飛翔体用ブレード
1か月前
東レ株式会社
プロペラブレード
4か月前
東レ株式会社
プロペラブレード
4か月前
個人
垂直離着陸機用エンジン改
9か月前
個人
空中移動システム
11か月前
個人
ドローンを自動離着陸する方法
9か月前
トヨタ自動車株式会社
ドローン
7か月前
個人
エアライナー全自動パラシュート
8か月前
個人
搬送方法および搬送システム
5か月前
個人
ヘリコプター駆動装置
5か月前
株式会社小糸製作所
飛行体ポート
6か月前
株式会社ACSL
システム
8か月前
合同会社アドエア
パラシュート射出装置
8か月前
合同会社アドエア
飛行体の落下補助装置
10か月前
株式会社ACSL
システム
8か月前
個人
飛行体
4か月前
個人
垂直離着陸機用ガスタービンエンジン
9か月前
個人
飛行体
1か月前
株式会社SUBARU
移動体
11か月前
個人
飛行体
4か月前
個人
パラボラ型スペースデブリカタパルト
5か月前
続きを見る
他の特許を見る