TOP
|
特許
|
意匠
|
商標
特許ウォッチ
Twitter
他の特許を見る
10個以上の画像は省略されています。
公開番号
2025160352
公報種別
公開特許公報(A)
公開日
2025-10-22
出願番号
2025125878,2023117993
出願日
2025-07-28,2023-01-30
発明の名称
情報処理装置、システム及び方法、並びに、プログラム
出願人
日本電気株式会社
代理人
個人
主分類
G06Q
20/20 20120101AFI20251015BHJP(計算;計数)
要約
【課題】年齢確認が必要となる商品等の決済を考慮した生体認証による電子決済を、既存の電子決済の仕組みを活用しつつ低コストで実現するための電子決済支援装置、システム、方法、及び、プログラムを提供する。
【解決手段】電子決済支援装置1は、生体認証に成功したユーザが所有する端末の識別情報とユーザの年齢情報とを受信する手段と、識別情報と年齢情報とを対応付けて登録する登録部と、ユーザが決済を所望する決済対象情報の中に年齢条件が課された決済対象が含まれる場合、端末の識別情報に対応付けられた年齢情報に基づき、決済対象情報に対する所定の処理を実行する実行部と、を備える。
【選択図】図1
特許請求の範囲
【請求項1】
生体認証に成功したユーザが所有する端末の識別情報と、前記ユーザの年齢情報とを受信する手段と、
前記識別情報と、前記年齢情報とを対応付けて登録する登録手段と、
前記ユーザが決済を所望する決済対象情報の中に年齢条件が課された決済対象が含まれる場合、前記端末の識別情報に対応付けられた前記年齢情報に基づき、前記決済対象情報に対する所定の処理を実行する実行手段と、
を備える情報処理装置。
続きを表示(約 1,300 文字)
【請求項2】
前記実行手段は、
前記決済対象情報の中に年齢条件が課された決済対象が含まれる場合、決済要求に含まれる決済用コードに対応付けられた前記年齢情報が前記年齢条件を満たすか否かが判定され、
前記年齢情報が前記年齢条件を満たす場合、前記決済対象情報に対する電子決済処理を行い、決済結果を決済端末へ返信する
請求項1に記載の情報処理装置。
【請求項3】
前記実行手段は、
前記年齢情報が前記年齢条件を満たさない場合、前記年齢条件が課された決済対象を除外した前記決済対象情報に対して前記電子決済処理を行う
請求項2に記載の情報処理装置。
【請求項4】
前記実行手段は、
前記年齢情報が前記年齢条件を満たさない場合、前記決済対象について電子決済処理が不可の旨を前記決済端末へ返信する
請求項2に記載の情報処理装置。
【請求項5】
前記実行手段は、
前記決済対象情報の中に前記年齢条件が課された決済対象が含まれることを示す年齢確認情報が、前記受信した決済要求に含まれるか否かが判定され、
前記年齢確認情報が前記受信した決済要求に含まれる場合、前記年齢情報が前記年齢条件を満たすか否かを判定された結果に応じて、動作を行う
請求項2から請求項4までのいずれか1項に記載の情報処理装置。
【請求項6】
前記実行手段は、
前記年齢確認情報が前記受信した決済要求に含まれない場合、前記決済対象情報に対する電子決済処理を行い、決済結果を前記決済端末へ返信する
請求項5に記載の情報処理装置。
【請求項7】
生体認証に成功したユーザが所有する端末の識別情報と、前記ユーザの年齢情報とを受信する手段と、
前記識別情報と、前記年齢情報とを対応付けて登録する登録手段と、
前記ユーザが決済を所望する決済対象情報の中に年齢条件が課された決済対象が含まれる場合、前記端末の識別情報に対応付けられた前記年齢情報に基づき、前記決済対象情報に対する所定の処理を実行する実行手段と、
を備える情報処理システム。
【請求項8】
コンピュータが、
生体認証に成功したユーザが所有する端末の識別情報と、前記ユーザの年齢情報とを受信し、
前記識別情報と、前記年齢情報とを対応付けて登録し、
前記ユーザが決済を所望する決済対象情報の中に年齢条件が課された決済対象が含まれる場合、前記端末の識別情報に対応付けられた前記年齢情報に基づき、前記決済対象情報に対する所定の処理を実行する、
情報処理方法。
【請求項9】
生体認証に成功したユーザが所有する端末の識別情報と、前記ユーザの年齢情報とを受信する処理と、
前記識別情報と、前記年齢情報とを対応付けて登録する処理と、
前記ユーザが決済を所望する決済対象情報の中に年齢条件が課された決済対象が含まれる場合、前記端末の識別情報に対応付けられた前記年齢情報に基づき、前記決済対象情報に対する所定の処理を実行する処理と、
をコンピュータに実行させる情報処理プログラム。
発明の詳細な説明
【技術分野】
【0001】
本開示は、電子決済支援装置、システム、方法及びプログラムに関する。
続きを表示(約 2,700 文字)
【背景技術】
【0002】
特許文献1には、生体認証を用いて電子決済を行うための技術が開示されている。特許文献1にかかるユーザ端末は、事前に登録された本人特定情報と、カメラで撮像された顔の特徴量とを照合し、本人であることが認証されると、決済用の二次元コード(以下、「決済用コード」という。)を表示する。特許文献1にかかる決済用コードには、決済手段特定情報と共に、年齢情報や本人特定情報が含まれる。そこで、特許文献1にかかるオーダ端末は、ユーザ端末に表示されたコードをカメラにより撮影し、コードから決済手段特定情報等を読み取り、決済処理を行う。
【先行技術文献】
【特許文献】
【0003】
国際公開第2022/085469号
【発明の概要】
【発明が解決しようとする課題】
【0004】
ここで、電子決済の対象商品又はサービスには、年齢確認が必要なものがある。そして、年齢確認が必要な商品等について生体認証を用いた電子決済を行うために、例えば上述した特許文献1にかかる技術を用いた場合、決済用コードに独自に年齢情報を含めることとなる。そのため、既存の電子決済の仕組みの大幅な変更が必要となり、生体認証を用いた電子決済の導入のコストが課題となっていた。
【0005】
本開示の目的は、上述した課題を鑑み、年齢確認が必要となる商品等の決済を考慮した生体認証を用いた電子決済を、既存の電子決済の仕組みを活用しつつ低コストで実現するための電子決済支援装置、システム、方法、及び、プログラムを提供することにある。
【課題を解決するための手段】
【0006】
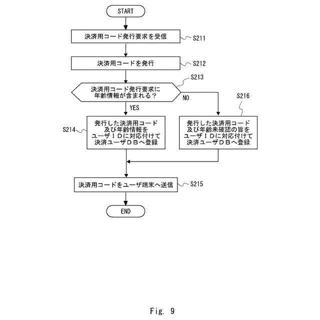
本開示にかかる電子決済支援装置は、
ユーザ端末における生体認証に成功したユーザの年齢情報を含む決済用コード発行要求を受信した場合、決済用コードを発行し、当該決済用コードを前記ユーザ端末へ送信するコード発行手段と、
前記発行した決済用コードと、前記決済用コード発行要求に含まれる前記年齢情報とを対応付けて登録する登録手段と、
前記ユーザ端末から前記決済用コードを取得した決済端末から、当該決済用コードと前記ユーザの決済対象情報とを含む決済要求を受信した場合、前記決済対象情報の中に年齢条件が課された決済対象が含まれるか否かを判定する判定手段と、
前記決済対象情報の中に年齢条件が課された決済対象が含まれる場合、前記決済要求に含まれる決済用コードに対応付けられた前記年齢情報に基づき、前記決済対象情報に対する所定の処理を実行する実行手段と、
を備える。
【0007】
本開示にかかる電子決済支援システムは、
ユーザ端末と、電子決済支援装置と、決済端末と、を備え、
前記ユーザ端末は、生体認証に成功したユーザの年齢情報を含む決済用コード発行要求を前記電子決済支援装置へ送信し、
前記電子決済支援装置は、
前記ユーザ端末から決済用コード発行要求を受信した場合、決済用コードを発行し、
前記発行した決済用コードと、前記決済用コード発行要求に含まれる前記年齢情報とを対応付けて登録し、
前記発行した決済用コードを前記ユーザ端末へ送信し、
前記ユーザ端末は、前記電子決済支援装置から受信した決済用コードを表示し、
前記決済端末は、前記ユーザの決済時に、前記ユーザ端末に表示された前記決済用コードを読み取り、当該決済用コードと前記ユーザの決済対象情報とを含む決済要求を前記電子決済支援装置へ送信し、
前記電子決済支援装置は、
前記決済端末から受信した前記決済要求に含まれる前記決済対象情報の中に年齢条件が課された決済対象が含まれるか否かを判定し、
前記決済対象情報の中に年齢条件が課された決済対象が含まれる場合、前記決済要求に含まれる決済用コードに対応付けられた前記年齢情報に基づき、前記決済対象情報に対する所定の処理を実行する。
【0008】
本開示にかかる電子決済支援方法は、
コンピュータが、
ユーザ端末における生体認証に成功したユーザの年齢情報を含む決済用コード発行要求を受信した場合、決済用コードを発行し、
前記発行した決済用コードと、前記決済用コード発行要求に含まれる前記年齢情報とを対応付けて登録し、
前記発行した決済用コードを前記ユーザ端末へ送信し、
前記ユーザ端末から前記決済用コードを取得した決済端末から、当該決済用コードと前記ユーザの決済対象情報とを含む決済要求を受信した場合、前記決済対象情報の中に年齢条件が課された決済対象が含まれるか否かを判定し、
前記決済対象情報の中に年齢条件が課された決済対象が含まれる場合、前記決済要求に含まれる決済用コードに対応付けられた前記年齢情報に基づき、前記決済対象情報に対する所定の処理を実行する。
【0009】
本開示にかかる電子決済支援プログラムは、
ユーザ端末における生体認証に成功したユーザの年齢情報を含む決済用コード発行要求を受信した場合、決済用コードを発行する処理と、
前記発行した決済用コードと、前記決済用コード発行要求に含まれる前記年齢情報とを対応付けて登録する処理と、
前記発行した決済用コードを前記ユーザ端末へ送信する処理と、
前記ユーザ端末から前記決済用コードを取得した決済端末から、当該決済用コードと前記ユーザの決済対象情報とを含む決済要求を受信した場合、前記決済対象情報の中に年齢条件が課された決済対象が含まれるか否かを判定する処理と、
前記決済対象情報の中に年齢条件が課された決済対象が含まれる場合、前記決済要求に含まれる決済用コードに対応付けられた前記年齢情報に基づき、前記決済対象情報に対する所定の処理を実行する処理と、
をコンピュータに実行させる。
【発明の効果】
【0010】
本開示により、年齢確認が必要となる商品等の決済を考慮した生体認証による電子決済を、既存の電子決済の仕組みを活用しつつ低コストで実現するための電子決済支援装置、システム、方法、及び、プログラムを提供することができる。
【図面の簡単な説明】
(【0011】以降は省略されています)
この特許をJ-PlatPat(特許庁公式サイト)で参照する
関連特許
日本電気株式会社
管理装置
17日前
日本電気株式会社
監視装置
17日前
日本電気株式会社
監視装置
17日前
日本電気株式会社
異常検知装置
9日前
日本電気株式会社
光モジュール
4日前
日本電気株式会社
海底分岐装置
18日前
日本電気株式会社
光集積回路素子
22日前
日本電気株式会社
レーザモジュール
23日前
日本電気株式会社
超伝導量子回路装置
23日前
日本電気株式会社
受信器および通信装置
24日前
日本電気株式会社
通信装置および通信方法
29日前
日本電気株式会社
送信装置および通信装置
29日前
日本電気株式会社
システム、装置及び方法
23日前
日本電気株式会社
光伝送システムおよび方法
25日前
日本電気株式会社
分析方法および分析システム
1か月前
日本電気株式会社
ラインカード及びイジェクタ
15日前
日本電気株式会社
制御装置、プログラム及び方法
23日前
日本電気株式会社
演算処理装置および演算処理方法
25日前
日本電気株式会社
兆候検知装置および兆候検知方法
25日前
日本電気株式会社
共振器及びそれを備えた導波回路
1か月前
日本電気株式会社
放送用システムおよび字幕作成方法
25日前
日本電気株式会社
推定装置、推定方法及びプログラム
23日前
日本電気株式会社
交渉装置、交渉方法及びプログラム
4日前
日本電気株式会社
ソーナー装置、通信方法、プログラム
25日前
日本電気株式会社
端末、端末の制御方法及びプログラム
15日前
日本電気株式会社
推定装置、推定方法、及び、記録媒体
1か月前
日本電気株式会社
レコメンド装置およびレコメンド方法
11日前
日本電気株式会社
波長可変レーザ装置及びその構成方法
29日前
日本電気株式会社
情報処理装置、制御方法及び記憶媒体
23日前
日本電気株式会社
判別装置、判別方法、およびプログラム
25日前
日本電気株式会社
注文端末、注文受付方法及びプログラム
29日前
日本電気株式会社
学習装置、学習方法及び学習プログラム
23日前
日本電気株式会社
安否確認支援装置、方法及びプログラム
18日前
日本電気株式会社
通信装置、通信方法及び通信プログラム
1か月前
日本電気株式会社
動作認識装置、動作認識方法、プログラム
25日前
日本電気株式会社
性能監視装置、性能監視方法、プログラム
29日前
続きを見る
他の特許を見る