TOP
|
特許
|
意匠
|
商標
特許ウォッチ
Twitter
他の特許を見る
10個以上の画像は省略されています。
公開番号
2025160186
公報種別
公開特許公報(A)
公開日
2025-10-22
出願番号
2025108709,2023183887
出願日
2025-06-27,2013-09-23
発明の名称
信頼性レベル及び混合コンテンツ情報を含む付加拡張情報
出願人
マイクロソフト テクノロジー ライセンシング,エルエルシー
,
MICROSOFT TECHNOLOGY LICENSING, LLC
代理人
弁理士法人ITOH
主分類
H04N
19/70 20140101AFI20251015BHJP(電気通信技術)
要約
【課題】ビットストリーム部分の処理方法を柔軟に決定するエンコーダ及びデコーダを提供する。
【解決手段】デコーダは、受信したビットストリームを復号して付加拡張情報(SEI)メッセージを取得する。SEIメッセージはピクチャ・ソース・データを含み、このピクチャ・ソース・データの正確性におけるエンコーダの相対的信頼性の信頼性レベルを明示する。デコーダは、信頼性レベル・インジケーションを使用して、デコーダがピクチャをプログレッシブ又はインタレースとして独立に識別すべきかどうか及び/又は複製ピクチャを識別すべきかどうかを判定するかあるいはSEI内のピクチャ・ソース・スキャニング情報をありのままに有効なものとして受け取る。
【選択図】図6
特許請求の範囲
【請求項1】
ビデオデコーダを実装するコンピュータシステムにおいて、
ビットストリームの少なくとも一部の符号化データを受信するステップであって、前記符号化データは、ビデオコンテンツのスキャンタイプの複数の可能なオプションのうちの1つと、前記ビデオコンテンツのスキャンタイプの信頼度と、を示す複数のシンタックスエレメントを、シンタックス構造の中に含み、前記複数の可能なオプションは、
(1) 前記ビデオコンテンツのスキャンタイプがプログレッシブであり、前記ビデオコンテンツのスキャンタイプに従うことが推奨される、
(2) 前記ビデオコンテンツのスキャンタイプがインターレースであり、前記ビデオコンテンツのスキャンタイプに従うことが推奨される、
(3) 前記ビデオコンテンツのスキャンタイプは信頼性を有する表示がされない、及び、
(4) 前記ビデオコンテンツのスキャンタイプは、前記ビデオコンテンツの一部ではプログレッシブであり、前記ビデオコンテンツの一部ではインターレースであり、前記ビデオコンテンツのスキャンタイプに従うことが推奨される、ことを含む、ステップと、
前記符号化データを復号して、前記ビデオコンテンツを再構成するステップであって、前記符号化データを復号するステップは、前記複数の可能なオプションのうちの1つを示す前記複数のシンタックスエレメントを解析するステップを含む、ステップと、を含む、
方法。
続きを表示(約 1,300 文字)
【請求項2】
前記複数のシンタックスエレメントは、前記ビデオコンテンツのスキャンタイプがプログレッシブであるか否かを示すフラグを含む、請求項1に記載の方法。
【請求項3】
前記複数のシンタックスエレメントは、前記ビデオコンテンツのスキャンタイプが、前記ビデオコンテンツの一部ではプログレッシブであり、前記ビデオコンテンツの一部ではインターレースであるか否かを示すフラグを含む、請求項1に記載の方法。
【請求項4】
前記複数のシンタックスエレメントは、前記ビデオコンテンツのスキャンタイプの信頼度を示すシンタックスエレメントを含む、請求項1に記載の方法。
【請求項5】
前記シンタックス構造は、ビデオ利用情報の一部である、請求項1に記載の方法。
【請求項6】
前記シンタックス構造は、付加拡張情報メッセージの一部である、請求項1に記載の方法。
【請求項7】
一以上の処理部とメモリとを含み、請求項1乃至6のうちのいずれか1項に記載の方法を実行するように構成される、コンピュータシステム。
【請求項8】
プログラムされるときに、一以上の処理部に請求項1乃至6のうちのいずれか1項に記載の方法を実行させるコンピュータ実行可能命令を格納している一以上のコンピュータ可読媒体。
【請求項9】
ビットストリームの少なくとも一部の符号化データを格納している一以上の非一時的なコンピュータ可読媒体であって、前記符号化データは、ビデオコンテンツのスキャンタイプの複数の可能なオプションのうちの1つと、前記ビデオコンテンツのスキャンタイプの信頼度と、を示す複数のシンタックスエレメントを、シンタックス構造の中に含み、前記複数の可能なオプションは、
(1) 前記ビデオコンテンツのスキャンタイプがプログレッシブであり、前記ビデオコンテンツのスキャンタイプに従うことが推奨される、
(2) 前記ビデオコンテンツのスキャンタイプがインターレースであり、前記ビデオコンテンツのスキャンタイプに従うことが推奨される、
(3) 前記ビデオコンテンツのスキャンタイプは信頼性を有する表示がされない、及び、
(4) 前記ビデオコンテンツのスキャンタイプは、前記ビデオコンテンツの一部ではプログレッシブであり、前記ビデオコンテンツの一部ではインターレースであり、前記ビデオコンテンツのスキャンタイプに従うことが推奨される、ことを含み、
前記符号化データは、一以上の処理部とメモリとを含むコンピュータシステムの中で実装されるビデオデコーダによって、前記符号化データを復号して、前記ビデオコンテンツを再構成することを容易にするように編成され、前記符号化データを復号することは、前記複数の可能なオプションの1つを示す前記複数のシンタックスエレメントを解析することを含む、
非一時的なコンピュータ可読媒体。
【請求項10】
前記複数のシンタックスエレメントは、前記ビデオコンテンツのスキャンタイプがプログレッシブであるか否かを示すフラグを含む、請求項9に記載の非一時的なコンピュータ可読媒体。
(【請求項11】以降は省略されています)
発明の詳細な説明
【技術分野】
【0001】
本出願は、ビデオ符号化及びビデオ復号化に関し、詳細には、ビットストリームにおいて付加拡張情報を使用及び提供するためのツール及び技術に関する。
続きを表示(約 2,800 文字)
【背景技術】
【0002】
エンジニアは、デジタル・ビデオのビット・レートを低減させるために、圧縮(ソース符号化とも呼ばれる)を使用する。圧縮は、ビデオ情報をより低いビット・レート形式に変換することにより、ビデオ情報を記憶して伝送するコストを低減させる。伸張(復号化とも呼ばれる)は、圧縮形式からオリジナル情報のバージョンを再構築する。「コーデック」はエンコーダ/デコーダ・システムである。
【0003】
ここ20年の間、H.261規格、H.262(MPEG-2又はISO/IEC 13818-2)規格、H.263規格、及びH.264(AVC又はISO/IEC 14496-10)規格、並びに、MPEG-1(ISO/IEC 11172-2)規格、MPEG-4 Visual(ISO/IEC 14496-2)規格、及びSMPTE 421M(VC-1)規格を含む様々なビデオ・コーデック規格が採用されてきた。より最近では、HEVC(H.265)規格を策定中である。ビデオ・コーデック規格は、通常、特定の機能が符号化及び復号化において使用されるときの、符号化ビデオ・ビットストリームのシンタックスのためのオプション、ビットストリームにおける詳細パラメータを定義している。多くの場合、ビデオ・コーデック規格はまた、デコーダが復号化において正しい結果を達成するために実行すべき復号化オペレーションに関する詳細を提供している。
【発明の概要】
【0004】
とりわけ、詳細な説明は、付加拡張情報(SEI)を有するビットストリームのためのイノベーションを提供する。特定の実施形態において、SEIメッセージは、ピクチャ・ソース・データ(例えば、関連未圧縮ピクチャがプログレッシブ・スキャン・ピクチャ又はインタレース・スキャン・ピクチャであるかを示すデータ、及び/又は関連ピクチャが複製ピクチャであるかどうかを示すデータ)を含み、SEIメッセージはまた、このピクチャ・ソース・データのフォーマットの正確性におけるエンコーダの相対的信頼性の信頼性レベルを明示し得る。デコーダは、信頼性レベル・インジケーションを使用して、デコーダがピクチャをプログレッシブ又はインタレースとして独立に識別すべきかどうか、及び/又は示される複製ピクチャを識別すべきかどうかを判定することができる。
【0005】
所定の実施例において、SEIメッセージはまた、関連ピクチャが混合データ(例えば、インタレース・データとプログレッシブ・データとの混合)を含むかどうかを示すためのインジケータを含む。そのようなイノベーションは、符号化ビットストリーム又はビットストリーム部分をどのように処理するかを柔軟に決定するビデオ復号化システムの能力を向上させるのに役立ち得る。
【0006】
本発明の前述の目的及び他の目的、特徴、並びに利点が、添付の図面を参照しながら進む以下の詳細な説明からより明らかになるであろう。
【図面の簡単な説明】
【0007】
いくつかの説明する実施形態を実装することができる例示的なコンピューティング・システムの図。
いくつかの説明する実施形態を実装することができる例示的なネットワーク環境の図。
いくつかの説明する実施形態を実装することができる例示的なネットワーク環境の図。
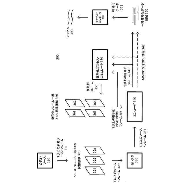
いくつかの説明する実施形態を協働して実装することができる例示的なエンコーダ・システムの図。
いくつかの説明する実施形態を協働して実装することができる例示的なデコーダ・システムの図。
開示する技術の実施形態に従った、付加拡張情報を使用するための第1の例示的な方法のフローチャート。
開示する技術の実施形態に従った、付加拡張情報を使用するための第1の例示的な方法のフローチャート。
【発明を実施するための形態】
【0008】
詳細な説明は、付加拡張情報(SEI)を有するビットストリームを符号化及び復号化するためのイノベーションを提供する。詳細には、詳細な説明は、ピクチャがプログレッシブ・スキャン・ピクチャ又はインタレース・スキャン・ピクチャであるかを示す、SEIメッセージ内のシンタックス要素又はフラグの正確性における信頼性を示す信頼性レベル・インジケータをピクチャのSEIメッセージが含む実施形態を説明する。いくつかの実施形態において、1以上のシンタックス要素は組み合わされて、1以上の関連ピクチャが、プログレッシブ・スキャンであるか、インタレース・スキャンであるか、あるいは未知のソースのものであるかを明示することができる。所定の実施形態において、SEIメッセージは、関連ピクチャがデータの混合を含むかどうか、及び/又は関連ピクチャが複製ピクチャであるかどうかを示すためのフラグをさらに含む。
【0009】
本明細書で説明するイノベーションのいくつかは、HEVC規格に固有のシンタックス要素及びオペレーションを参照して示される。例えば、HEVC規格の所定のドラフト・バージョン、すなわち、HEVC規格のドラフト・バージョンJCTVC-I1003(2012年7月にストックホルムで開催された第10回会合の"High efficiency video coding (HEVC) text specification draft 8", JCTVC-I1003_d8)、及びHEVC規格のドラフト・バージョンJCTVC-L1003(2013年1月14日~23日にスイスのジュネーブで開催された第12回会合の"High efficiency video coding (HEVC) text specification draft 10", JCTVC-L1003_v34)を参照する。本明細書で説明するイノベーションは、他の規格又はフォーマットのためにも実装され得る。
【0010】
より一般的に、本明細書で説明する例に対する様々な代替例が可能である。例えば、本明細書で説明する方法のいくつかは、説明する方法動作の順番を変えることにより、所定の方法動作を分けることにより、所定の方法動作を繰り返すことにより、又は所定の方法動作を省略することにより、変更することができる。開示する技術の様々な態様が、組み合わせることにより、又は別々に使用され得る。様々な実施形態が、説明するイノベーションのうちの1以上を使用する。本明細書で説明するイノベーションのいくつかは、背景技術において記した問題のうちの1以上に対処する。一般的に、所与の技術/ツールが、そのような問題の全てを解決するわけではない。
(【0011】以降は省略されています)
この特許をJ-PlatPat(特許庁公式サイト)で参照する
関連特許
個人
監視カメラシステム
7日前
キーコム株式会社
光伝送線路
8日前
WHISMR合同会社
収音装置
1か月前
サクサ株式会社
中継装置
13日前
個人
スキャン式車載用撮像装置
7日前
サクサ株式会社
中継装置
14日前
アイホン株式会社
電気機器
1か月前
サクサ株式会社
無線通信装置
13日前
サクサ株式会社
無線通信装置
13日前
株式会社リコー
画像形成装置
今日
サクサ株式会社
無線システム
12日前
株式会社リコー
画像形成装置
1か月前
個人
ワイヤレスイヤホン対応耳掛け
1か月前
キヤノン電子株式会社
画像読取装置
6日前
キヤノン電子株式会社
画像読取装置
1か月前
個人
発信機及び発信方法
12日前
キヤノン株式会社
撮像システム
1か月前
日本電気株式会社
海底分岐装置
8日前
キヤノン電子株式会社
画像処理システム
6日前
パテントフレア株式会社
超高速電波通信
1か月前
株式会社小糸製作所
画像照射装置
1か月前
大日本印刷株式会社
写真撮影装置
1か月前
株式会社松平商会
携帯機器カバー
1か月前
沖電気工業株式会社
画像形成装置
23日前
株式会社JVCケンウッド
通信システム
19日前
株式会社NTTドコモ
端末
7日前
株式会社NTTドコモ
端末
7日前
株式会社NTTドコモ
端末
7日前
沖電気工業株式会社
画像形成装置
15日前
有限会社フィデリックス
マイクロフォン
19日前
株式会社NTTドコモ
端末
8日前
シャープ株式会社
端末装置
5日前
株式会社NTTドコモ
端末
8日前
ダイハツ工業株式会社
人流取得装置
13日前
個人
回動アームを構築する関節モジュール
15日前
株式会社国際電気
遠隔監視システム
1か月前
続きを見る
他の特許を見る