TOP
|
特許
|
意匠
|
商標
特許ウォッチ
Twitter
他の特許を見る
公開番号
2025160160
公報種別
公開特許公報(A)
公開日
2025-10-22
出願番号
2025102985,2022540367
出願日
2025-06-19,2020-11-24
発明の名称
メディアアプリケーションのためのマルチメディアリダイレクト
出願人
マイクロソフト テクノロジー ライセンシング,エルエルシー
,
MICROSOFT TECHNOLOGY LICENSING, LLC
代理人
弁理士法人ITOH
主分類
H04N
21/241 20110101AFI20251015BHJP(電気通信技術)
要約
【課題】メディアアプリケーションのためのマルチメディアリダイレクトのためのコンピュータシステムおよび方法を提供する。
【解決手段】クライアントコンピュータ装置とのセッションをホストするホスト仮想マシンを含むコンピュータシステムであって、サーバシステム上のホスト仮想マシンは、メディアコンテンツをレンダリングするマルチメディアフレームワークを有するオペレーティングシステムを含み、メディアソースからのメディアコンテンツにアクセスするメディアアプリケーションを実行し、マルチメディアフレームワークを用いてメディアアプリケーションからの符号化メディアコンテンツを処理し、符号化メディアコンテンツをインターセプトするマルチメディアリダイレクトモジュールを実行する。マルチメディアリダイレクトモジュールは、符号化メディアコンテンツを少なくとも1つのクライアントコンピュータ装置にリダイレクトする。
【選択図】図1
特許請求の範囲
【請求項1】
コンピュータシステムであって、
少なくとも1つのクライアントコンピュータ装置とのセッションをホストするように構成されたホスト仮想マシンを実行するように構成された少なくとも1つのプロセッサであり、前記ホスト仮想マシンは、メディアコンテンツを復号およびレンダリングするマルチメディアフレームワークを有するオペレーティングシステムを含む、少なくとも1つのプロセッサ、
を含み、
前記少なくとも1つのプロセッサは、さらに、
メディアソースからの符号化メディアコンテンツにアクセスし、前記符号化メディアコンテンツは、ビデオストリーム、オーディオストリーム、テキストストリーム、またはこれらの組み合わせのうちの2つ以上を含むメディアコンテナフォーマットにフォーマットされ、
前記マルチメディアフレームワークによって、前記メディアコンテナフォーマットにフォーマットされた前記符号化メディアコンテンツを、独立したストリームに多重化解除し、
前記独立したストリームが前記マルチメディアフレームワークのデコーダに提供される前に前記独立したストリームをインターセプトすることによって、前記独立したストリームが前記デコーダによって復号されることを防止し、
前記マルチメディアフレームワークによって、前記独立したストリームの部分をバッファリングし、
前記マルチメディアフレームワークによって、前記独立したストリームの前記部分のメディアサンプルを前記少なくとも1つのクライアントコンピュータ装置に送信する、
ように構成される、コンピュータシステム。
続きを表示(約 1,400 文字)
【請求項2】
前記符号化メディアコンテンツは、動的ストリーミングメディアコンテンツである、請求項1に記載のコンピュータシステム。
【請求項3】
前記独立したストリームの前記部分の前記メディアサンプルを、前記少なくとも1つのクライアントコンピュータ装置からの前記メディアサンプルの要求を受信することに応答して、前記少なくとも1つのクライアントコンピュータ装置に送信する、請求項1に記載のコンピュータシステム。
【請求項4】
前記独立したストリームの各々についての前記メディアサンプルを、前記少なくとも1つのクライアントコンピュータ装置から受信した前記メディアサンプルの要求に基づいて、独立したレートで送信する、請求項3に記載のコンピュータシステム。
【請求項5】
前記少なくとも1つのプロセッサは、前記独立したストリームをインターセプトするか、又は前記独立したストリームが前記マルチメディアフレームワークの前記デコーダにより復号されることを可能にするかを、1つ以上の監視パラメータに基づいて決定するように構成される、請求項1に記載のコンピュータシステム。
【請求項6】
前記1つ以上の監視パラメータは、当該コンピュータシステムと前記少なくとも1つのクライアントコンピュータ装置との間のネットワークパラメータ、当該コンピュータシステムの前記少なくとも1つのプロセッサの現在の処理負荷、前記符号化メディアコンテンツのサイズ、または前記少なくとも1つのクライアントコンピュータ装置のユーザ設定を含む群から選択される、請求項5に記載のコンピュータシステム。
【請求項7】
前記オペレーティングシステムは、複数のクライアントコンピュータ装置に対する複数のセッションを同時にホストするように構成されたマルチセッションオペレーティングシステムである、請求項5に記載のコンピュータシステム。
【請求項8】
前記1つ以上の監視パラメータは、前記マルチセッションオペレーティングシステムによりホストされる前記複数のセッションの集約アクティビティを含む、請求項7に記載のコンピュータシステム。
【請求項9】
プロセッサが、少なくとも1つのクライアントコンピュータ装置とのセッションをホストするように構成されたホスト仮想マシンを実行するステップであり、前記ホスト仮想マシンは、メディアコンテンツを復号およびレンダリングするマルチメディアフレームワークを有するオペレーティングシステムを含む、ステップと、
前記プロセッサが、メディアソースからの符号化メディアコンテンツにアクセスするように構成されたメディアアプリケーションを実行するステップと、
前記プロセッサが、前記マルチメディアフレームワークからの前記符号化メディアコンテンツの処理を、前記少なくとも1つのクライアントコンピュータ装置にリダイレクトするか、前記符号化メディアコンテンツが前記マルチメディアフレームワークのデコーダにより処理されることを可能にするかを、1つ以上の監視パラメータに基づいて決定するステップと、
を含む方法。
【請求項10】
前記符号化メディアコンテンツは、動的ストリーミングメディアコンテンツである、請求項9に記載の方法。
(【請求項11】以降は省略されています)
発明の詳細な説明
【背景技術】
【0001】
仮想環境において、エンドユーザは、クライアント装置を使用して、サーバハードウェア上で動作する仮想マシンに接続することができ、これは、エンドユーザに追加の計算能力、アプリケーションの互換性、セキュリティ及び規制への準拠、並びにエンドユーザのための全体的なコストの低減の利点を提供することができる。典型的には、これらのエンドユーザは、メディアプレーヤアプリケーションを介してメディアを消費することがあり、これは、潜在的に、サーバハードウェアに課されるワークロードを増加させ、関連するコストを増加させる可能性がある。
続きを表示(約 3,800 文字)
【発明の概要】
【0002】
少なくとも1つのクライアントコンピュータ装置とのセッションをホストするように構成されたホスト仮想マシンを実行するように構成された少なくとも1つのプロセッサを含み得るコンピュータシステムが提供される。ホスト仮想マシンは、メディアコンテンツをレンダリングするマルチメディアフレームワークを有するオペレーティングシステムを含むことができる。少なくとも1つのプロセッサは、さらに、メディアソースからのメディアコンテンツにアクセスするように構成されたメディアアプリケーションを実行し、マルチメディアフレームワークを用いてメディアアプリケーションから符号化メディアコンテンツを処理し、マルチメディアフレームワークの復号モジュールにより処理されることから符号化メディアコンテンツをインターセプトするように構成されたマルチメディアリダイレクトモジュールを実行するように構成され得る。マルチメディアリダイレクトモジュールは、符号化メディアコンテンツを少なくとも1つのクライアントコンピュータ装置にリダイレクトするように構成され得る。
【0003】
本概要は、以下で詳細な説明においてさらに記載される概念のうち選択されたものを簡略化された形式で導入するために提供されている。本概要は、請求される対象事項の重要な特徴又は必須の特徴を識別することを意図したものではなく、請求される対象事項の範囲を限定するために用いられることを意図したものでもない。さらに、請求される対象事項は、本開示のいずれかの部分に記載されたいずれかの又は全ての欠点を解決する実装に限定されない。
【図面の簡単な説明】
【0004】
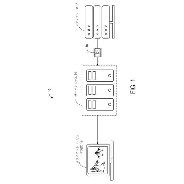
本説明のマルチメディアリダイレクトを実行する一例示的なコンピュータシステムの概略図である。
図1のコンピュータシステムの一例示的なサーバシステムの概略図である。
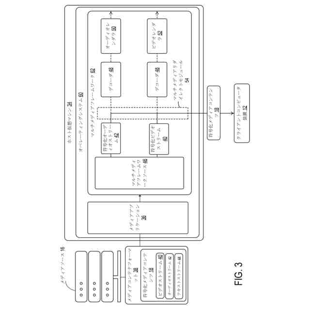
図1のコンピュータシステムのためのマルチメディアリダイレクトモジュールを実施するオペレーティングシステムのメディアアプリケーション及びマルチメディアフレームワークの概略図である。
図1のコンピュータシステムにより実施されるマルチメディアリダイレクトを実行する方法のフローチャートである。
図1のコンピュータシステムのためのマルチメディアリダイレクトを実施する、メディアアプリケーション及びマルチメディアフレームワークのソフトウェアアーキテクチャの概略図である。
図1のコンピュータシステムにより実施されるマルチメディアリダイレクトモジュールと通信するリモートデスクトップクライアントのソフトウェアアーキテクチャの概略図である。
図1のコンピュータシステムが実施され得る一例示的な計算環境の概略図である。
【発明を実施するための形態】
【0005】
クラウドプラットフォームサービスは、仮想化されたデスクトップ環境をエンドユーザに提供することがあり、エンドユーザは、クライアントコンピュータ装置を利用して、クラウドプラットフォームのサーバ装置上で動作する仮想マシンに接続することができる。典型的には、クラウドプラットフォームのコンピュータハードウェア及びネットワーク能力は、エンドユーザのクライアントコンピュータ装置より強力である。したがって、これらのエンドユーザを仮想化デスクトップ環境上でホストすることにより、クラウドプラットフォームは、これらのユーザに追加の計算能力と、向上したアプリケーションの互換性、セキュリティ/規制への準拠、及び関連する計算コストの全体的な低減などの他の潜在的な利点を提供することができる。
【0006】
いくつかの例において、これらのクラウドプラットフォームサービスは、複数のエンドユーザ及びクライアント装置を有する企業に対して仮想デスクトップインフラストラクチャを提供することがある。これらの企業のユーザは、例えば、ビデオ及び/又はオーディオメディアなどのメディアを消費することがあり、このメディアは、その企業のためのクラウドプラットフォーム上にローカルに記憶されているか、あるいはリモートメディアソースにより記憶され、クラウドプラットフォーム上で実行される仮想化デスクトップ環境にストリーミングされる。典型的には、メディアソースにより提供されているメディアコンテンツは、エンドユーザをホストしている仮想マシン上で復号され、次いで、そのメディアコンテンツを提示している仮想化デスクトップの表示フレームが再符号化され、リモートデスクトッププロトコルを通じてユーザのクライアントコンピュータ装置にストリーミングされる。次いで、クライアントコンピュータ装置は、これらの表示フレームを復号し、それらをクライアントコンピュータ装置のディスプレイを介してユーザに提示することができる。
【0007】
仮想マシン上で実行される復号及びその後の符号化プロセスは、サーバハードウェアの大量の計算リソースを消費する可能性がある。1つの特定の例において、ビデオストリーミングのためのビデオレンダリングプロセスは、潜在的に、仮想マシンを実行するサーバ装置の中央処理装置(CPU)リソースの20%~40%を消費する可能性がある。これらの問題は、複数のユーザがVM上のオペレーティングシステム(OS)インスタンスを共有するマルチセッション仮想化デスクトップ環境展開においてさらに悪化する恐れがある。例えば、複数のユーザが、共有されたホストVMを介してビデオコンテンツをストリーミングしようとする場合、そのVMのためのCPUリソースの全てが、潜在的に、関連する復号/符号化/レンダリングプロセスにより消費される可能性があり、したがって潜在的に、そのVMによりホストされている全てのユーザのユーザ体験を劣化させる。
【0008】
上記で論じた問題に対処するために、図1は、以下により詳細に論じるように、仮想化デスクトップ環境を実行するサーバハードウェア上の計算ワークロードを低減するためにマルチメディアリダイレクト(multi-media redirection)を実行する、仮想化デスクトップ環境のための一例示的なコンピュータシステム10を示す。図1に示すように、コンピュータシステム10は、1つ以上のクライアントコンピュータ装置12、サーバシステム14、及び1つ以上のメディアソース16を含む。1つ以上のクライアントコンピュータ装置12のエンドユーザは、サーバシステム14上で実行される仮想マシンに接続することができる。VMのホストオペレーティングシステム内で実行されるアプリケーション、例えば、メディアコンテンツを再生するメディアアプリケーション又はウェブブラウザアプリケーションなどを使用し、エンドユーザはメディアソース16により記憶されるメディアと対話することができる。
【0009】
一例において、メディアソース16は、サーバシステム14に対してローカルでもよく、サーバシステム14に含まれてもよい。別の例において、メディアソース16は、クライアントコンピュータ装置12及びサーバシステム14の双方に対してリモートでもよい。例えば、サーバシステム14は、ワイドエリアネットワーク(WAN)などの通信ネットワークを通じて遠隔メディアソースと通信するように構成されてもよい。特定の例として、エンドユーザは、ホストVM内で実行されるメディアアプリケーションと対話して、メディアソース16に記憶されたメディアを見るメディア体験をトリガすることができる。メディアアプリケーションは、例えば、メディアソース16から取り出されたメディアコンテンツのストリーミング及び表示を容易にするメディアストリーミングアプリケーションの形態をとってもよい。典型的には、ストリーミングビデオ及び/又はオーディオは、符号化されたメディア18としてサーバシステム14に送られ、ストリーミングビデオ及び/又はオーディオを再生しているメディアアプリケーションを実行するホストVMにより処理される。
【0010】
上記で論じたように、典型的な仮想化環境の実装は、符号化メディア18を復号すること、仮想化デスクトップ環境を介してメディアコンテンツを提示すること、仮想化デスクトップ環境のための表示/オーディオフレームを符号化すること、次いで、符号化された表示/オーディオフレームをエンドユーザへの提示のためにクライアントコンピュータ装置12に送ることを含む、メディアレンダリングプロセスを実行する。復号/符号化プロセスによりサーバシステム14のハードウェアに課される計算負担を低減するために、サーバシステム14は、マルチメディアリダイレクトを実施して、サーバシステム14上で符号化又は復号プロセスを実行することなく、メディアソース16から受信した符号化メディア18をクライアントコンピュータ装置12に渡すことができる。
(【0011】以降は省略されています)
この特許をJ-PlatPat(特許庁公式サイト)で参照する
関連特許
個人
監視カメラシステム
7日前
キーコム株式会社
光伝送線路
8日前
サクサ株式会社
中継装置
13日前
個人
スキャン式車載用撮像装置
7日前
WHISMR合同会社
収音装置
1か月前
サクサ株式会社
中継装置
14日前
アイホン株式会社
電気機器
1か月前
サクサ株式会社
無線通信装置
13日前
キヤノン電子株式会社
画像読取装置
6日前
個人
ワイヤレスイヤホン対応耳掛け
1か月前
キヤノン電子株式会社
画像読取装置
1か月前
サクサ株式会社
無線システム
12日前
サクサ株式会社
無線通信装置
13日前
株式会社リコー
画像形成装置
今日
株式会社リコー
画像形成装置
1か月前
キヤノン株式会社
撮像システム
1か月前
日本電気株式会社
海底分岐装置
8日前
個人
発信機及び発信方法
12日前
株式会社松平商会
携帯機器カバー
1か月前
株式会社NTTドコモ
端末
7日前
株式会社JVCケンウッド
通信システム
19日前
パテントフレア株式会社
超高速電波通信
1か月前
株式会社NTTドコモ
端末
7日前
有限会社フィデリックス
マイクロフォン
19日前
キヤノン電子株式会社
画像処理システム
6日前
沖電気工業株式会社
画像形成装置
23日前
株式会社NTTドコモ
端末
8日前
沖電気工業株式会社
画像形成装置
15日前
株式会社NTTドコモ
端末
7日前
シャープ株式会社
端末装置
5日前
株式会社NTTドコモ
端末
8日前
大日本印刷株式会社
写真撮影装置
1か月前
株式会社小糸製作所
画像照射装置
1か月前
株式会社国際電気
遠隔監視システム
1か月前
ダイハツ工業株式会社
人流取得装置
13日前
株式会社JVCケンウッド
スピーカ
1か月前
続きを見る
他の特許を見る