TOP
|
特許
|
意匠
|
商標
特許ウォッチ
Twitter
他の特許を見る
10個以上の画像は省略されています。
公開番号
2025160012
公報種別
公開特許公報(A)
公開日
2025-10-22
出願番号
2024062954
出願日
2024-04-09
発明の名称
サスペンションアセンブリ及びディスク装置
出願人
株式会社東芝
,
東芝デバイス&ストレージ株式会社
代理人
弁理士法人酒井国際特許事務所
主分類
G11B
5/60 20060101AFI20251015BHJP(情報記憶)
要約
【課題】接続端子の接続の信頼性を向上させるサスペンションアセンブリを提供する。
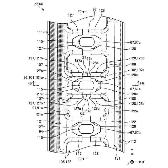
【解決手段】ハードディスクドライブにおいて、サスペンションアセンブリであるヘッドジンバルアセンブリは、配線部材56を備える。配線部材のテール接続部66は、ベース層91、カバー層92及びベース層とカバー層との間に配置された導電層93を有する。カバー層にはカバー溝105が設けられる。導電層93は、第1の配線111、第2の配線112及びカバー溝を横断して第1の配線と第2の配線との間で延びる接続端子67を有する。ベースは、第1の配線1を覆う第1のベース121、第2の配線112を覆う第2のベース122、第1のベース121から突出して接続端子67を部分的に覆う一対の第1の突出部127及び第2のベース122から突出して接続端子67を部分的に覆うとともに一対の第1の突出部127から離間した一対の第2の突出部128とを有する。
【選択図】図5
特許請求の範囲
【請求項1】
支持板と、
前記支持板に配置された実装部と、前記支持板から離間したテール接続部と、を有する配線部材と、
前記実装部に実装された磁気ヘッドと、
を具備し、
前記テール接続部は、絶縁性のベース層と、絶縁性のカバー層と、前記ベース層と前記カバー層との間に配置された導電層と、前記ベース層に取り付けられた裏打層と、を有し、
前記カバー層は、第1のカバーと、前記第1のカバーから離間した第2のカバーと、を有し、前記第1のカバーと前記第2のカバーとの間に溝が設けられ、
前記導電層は、前記第1のカバーに配置されるとともに前記磁気ヘッドに電気的に接続された少なくとも一つの第1の配線と、前記第2のカバーに配置された少なくとも一つの第2の配線と、前記溝を横断して前記第1の配線と前記第2の配線との間で延びている少なくとも一つの接続端子と、を有し、
前記ベース層は、前記第1の配線を覆う第1のベースと、前記第2の配線を覆う第2のベースと、それぞれが前記第1のベースから突出して前記接続端子を部分的に覆うとともに前記第2のベースから離間した少なくとも一対の第1の突出部と、それぞれが前記第2のベースから突出して前記接続端子を部分的に覆うとともに前記第1のベース及び前記一対の第1の突出部から離間した少なくとも一対の第2の突出部と、を有する、
サスペンションアセンブリ。
続きを表示(約 1,400 文字)
【請求項2】
前記導電層に、前記接続端子を貫通する孔が設けられた、
請求項1のサスペンションアセンブリ。
【請求項3】
前記接続端子は、前記第1の配線から前記第2の配線に向かって第1の方向に延び、
前記一対の第1の突出部のうち一方は、他方から前記第1の方向と直交する第2の方向に離間し、
前記一対の第2の突出部のうち一方は、他方から前記第2の方向に離間し、
前記第2の方向において、前記孔は、前記一対の第1の突出部の間に位置し、且つ前記一対の第2の突出部の間に位置する、
請求項2のサスペンションアセンブリ。
【請求項4】
前記接続端子は、前記第1の配線から前記第2の配線に向かって第1の方向に延び、
前記一対の第1の突出部のうち一方と前記一対の第2の突出部のうち一方との間に、第1の隙間が設けられ、
前記一対の第1の突出部のうち他方と前記一対の第2の突出部のうち他方との間に、第2の隙間が設けられ、
前記第1の方向において、前記孔は、前記第1の隙間及び前記第2の隙間のうち少なくとも一方よりも長い、
請求項2のサスペンションアセンブリ。
【請求項5】
前記孔は、前記接続端子の中央に設けられる、
請求項2乃至請求項4のいずれか一つのサスペンションアセンブリ。
【請求項6】
前記接続端子は、互いに反対側に位置する一対の縁を有し、
前記一対の第1の突出部は前記一対の縁を覆い、
前記一対の第2の突出部は前記一対の縁を覆う、
請求項1のサスペンションアセンブリ。
【請求項7】
前記接続端子は、前記第1の配線から前記第2の配線に向かって第1の方向に延び、
前記一対の第1の突出部のうち一方は、他方から前記第1の方向と直交する第2の方向に離間し、
前記一対の第2の突出部のうち一方は、他方から前記第2の方向に離間し、
前記一対の第1の突出部のうち一方と前記一対の第2の突出部のうち一方との間に、第1の隙間が設けられ、
前記一対の第1の突出部のうち他方と前記一対の第2の突出部のうち他方との間に、第2の隙間が設けられ、
前記第1の隙間と前記第2の隙間とは、前記第2の方向に並ぶ、
請求項6のサスペンションアセンブリ。
【請求項8】
前記第1の隙間と前記第2の隙間とは、前記第1の方向における前記接続端子の中央に設けられる、
請求項7のサスペンションアセンブリ。
【請求項9】
前記第1の方向において、前記一対の第1の突出部及び前記一対の第2の突出部のそれぞれの長さは、前記接続端子の長さの25%以上である、
請求項7又は請求項8のサスペンションアセンブリ。
【請求項10】
前記接続端子は、前記第1の配線から前記第2の配線に向かって第1の方向に延び、
前記一対の第1の突出部のうち一方と前記一対の第2の突出部のうち一方との間に、第1の隙間が設けられ、
前記一対の第1の突出部のうち他方と前記一対の第2の突出部のうち他方との間に、第2の隙間が設けられ、
前記第1の方向において、前記第1の隙間は、前記第2の隙間と異なる位置に配置される、
請求項6のサスペンションアセンブリ。
(【請求項11】以降は省略されています)
発明の詳細な説明
【技術分野】
【0001】
本発明の実施形態は、サスペンションアセンブリ及びディスク装置に関する。
続きを表示(約 2,000 文字)
【背景技術】
【0002】
ハードディスクドライブ(HDD)のようなディスク装置は、例えば、コントローラと、サスペンションアセンブリと、フレキシブルプリント回路板(FPC)と、磁気ディスクとを有する。コントローラは、FPCを通じてサスペンションアセンブリの磁気ヘッドを制御し、磁気ディスクに対して情報を読み書きする。
【0003】
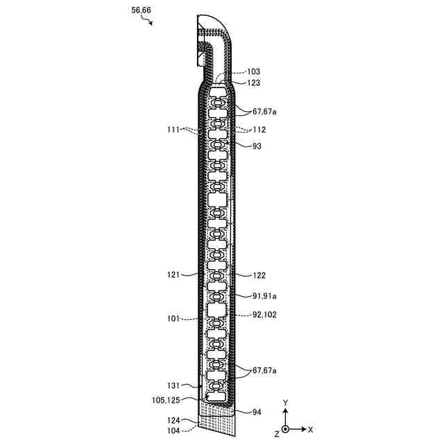
サスペンションアセンブリは、FPCと磁気ヘッドとを接続する配線部材を有する。配線部材は、二つの絶縁層の間に配置された導電層を有する。導電層の接続端子が、半田によってFPCのパッドに接合される。
【先行技術文献】
【特許文献】
【0004】
米国特許第8934201号明細書
【発明の概要】
【発明が解決しようとする課題】
【0005】
例えば接続端子がフライングリードである場合、導電層が薄くされることで、接続端子も薄くなる。絶縁層は、接続端子を覆い、補強することができる。しかし、絶縁層は、接続端子への半田の付着を妨げてしまう可能性がある。
【0006】
本発明が解決する課題の一例は、接続端子の接続の信頼性を向上可能なサスペンションアセンブリ及びディスク装置を提供することである。
【課題を解決するための手段】
【0007】
一つの実施形態に係るサスペンションアセンブリは、支持板と、配線部材と、磁気ヘッドとを備える。前記配線部材は、前記支持板に配置された実装部と、前記支持板から離間したテール接続部と、を有する。前記磁気ヘッドは、前記実装部に実装される。前記テール接続部は、絶縁性のベース層と、絶縁性のカバー層と、前記ベース層と前記カバー層との間に配置された導電層と、前記ベース層に取り付けられた裏打層と、を有する。前記カバー層は、第1のカバーと、前記第1のカバーから離間した第2のカバーと、を有し、前記第1のカバーと前記第2のカバーとの間に溝が設けられる。前記導電層は、前記第1のカバーに配置されるとともに前記磁気ヘッドに電気的に接続された少なくとも一つの第1の配線と、前記第2のカバーに配置された少なくとも一つの第2の配線と、前記溝を横断して前記第1の配線と前記第2の配線との間で延びている少なくとも一つの接続端子と、を有する。前記ベース層は、前記第1の配線を覆う第1のベースと、前記第2の配線を覆う第2のベースと、それぞれが前記第1のベースから突出して前記接続端子を部分的に覆うとともに前記第2のベースから離間した少なくとも一対の第1の突出部と、それぞれが前記第2のベースから突出して前記接続端子を部分的に覆うとともに前記第1のベース及び前記一対の第1の突出部から離間した少なくとも一対の第2の突出部と、を有する。
【図面の簡単な説明】
【0008】
図1は、第1の実施形態に係るHDDを分解して示す例示的な斜視図である。
図2は、第1の実施形態のHGAを示す例示的な平面図である。
図3は、第1の実施形態のキャリッジ、FPC、及びフレキシャの一部を模式的に示す例示的な平面図である。
図4は、第1の実施形態のテール接続部を示す例示的な平面図である。
図5は、第1の実施形態のテール接続部の一部を示す例示的な平面図である。
図6は、第1の実施形態のテール接続部を図5のF6-F6線に沿って示す例示的な断面図である。
図7は、第1の実施形態のテール接続部及び接合部を図5のF7-F7線に沿って示す例示的な断面図である。
図8は、第1の実施形態の所定の配置からズレたテール接続部及び接合部を示す例示的な断面図である。
図9は、第2の実施形態に係るテール接続部の一部を示す例示的な平面図である。
【発明を実施するための形態】
【0009】
(第1の実施形態)
以下に、第1の実施形態について、図1乃至図8を参照して説明する。なお、本明細書において、実施形態に係る構成要素及び当該要素の説明が、複数の表現で記載されることがある。構成要素及びその説明は、一例であり、本明細書の表現によって限定されない。構成要素は、本明細書におけるものとは異なる名称でも特定され得る。また、構成要素は、本明細書の表現とは異なる表現によっても説明され得る。
【0010】
以下の説明において、「抑制する」は、例えば、事象、作用、若しくは影響の発生を防ぐこと、又は事象、作用、若しくは影響の度合いを低減させること、として定義される。また、以下の説明において、「制限する」は、例えば、移動若しくは回転を防ぐこと、又は移動若しくは回転を所定の範囲内で許容するとともに当該所定の範囲を超えた移動若しくは回転を防ぐこと、として定義される。
(【0011】以降は省略されています)
この特許をJ-PlatPat(特許庁公式サイト)で参照する
関連特許
株式会社東芝
センサ
1か月前
株式会社東芝
モータ
1か月前
株式会社東芝
センサ
2か月前
株式会社東芝
センサ
1か月前
株式会社東芝
端子台
3日前
株式会社東芝
固定子
2か月前
株式会社東芝
電子装置
1か月前
株式会社東芝
電子装置
16日前
株式会社東芝
金型構造
1か月前
株式会社東芝
電子回路
12日前
株式会社東芝
吸音装置
1か月前
株式会社東芝
ドア構造
2か月前
株式会社東芝
半導体装置
16日前
株式会社東芝
半導体装置
12日前
株式会社東芝
半導体装置
18日前
株式会社東芝
半導体装置
1か月前
株式会社東芝
半導体装置
18日前
株式会社東芝
真空バルブ
17日前
株式会社東芝
半導体装置
12日前
株式会社東芝
半導体装置
19日前
株式会社東芝
半導体装置
12日前
株式会社東芝
半導体装置
12日前
株式会社東芝
半導体装置
1か月前
株式会社東芝
半導体装置
1か月前
株式会社東芝
半導体装置
17日前
株式会社東芝
半導体装置
1か月前
株式会社東芝
半導体装置
1か月前
株式会社東芝
半導体装置
16日前
株式会社東芝
半導体装置
16日前
株式会社東芝
高周波回路
12日前
株式会社東芝
半導体装置
12日前
株式会社東芝
半導体装置
1か月前
株式会社東芝
半導体装置
1か月前
株式会社東芝
電動送風機
2か月前
株式会社東芝
ラック装置
2か月前
株式会社東芝
半導体装置
18日前
続きを見る
他の特許を見る