TOP
|
特許
|
意匠
|
商標
特許ウォッチ
Twitter
他の特許を見る
10個以上の画像は省略されています。
公開番号
2025159779
公報種別
公開特許公報(A)
公開日
2025-10-22
出願番号
2024062531
出願日
2024-04-09
発明の名称
収容箱及びブランク
出願人
日本トーカンパッケージ株式会社
代理人
個人
,
個人
,
個人
,
個人
主分類
B65D
5/66 20060101AFI20251015BHJP(運搬;包装;貯蔵;薄板状または線条材料の取扱い)
要約
【課題】封緘状態を適切に維持することが可能な収容箱及び収容箱をなすブランクを提供する。
【解決手段】開口を有する箱本体と、開口を開閉可能な蓋部と、開口を閉じた状態で蓋部をロックするロック部40と、を備えた収容箱であって、箱本体は、第1方向における一端が開口の縁をなす壁を含み、ロック部は、箱本体の内側から壁に隣接するロック片41と、蓋部の端から延出しており、且つ蓋部により開口を閉じた状態では箱本体の内側から壁に隣接するフラップ42と、を有し、フラップには、ロック片と嵌合可能なロック穴43が設けられており、ロック片は、第1方向において開口から離れるにつれて幅が狭くなる第1部分を有し、ロック穴は、フラップの先端に近づくにつれて幅が狭くなる第2部分を有する。
【選択図】図1
特許請求の範囲
【請求項1】
開口を有する箱本体と、前記開口を開閉可能な蓋部と、前記開口を閉じた状態で前記蓋部をロックするロック部と、を備えた収容箱であって、
前記箱本体は、第1方向における一端が前記開口の縁をなす壁を含み、
前記ロック部は、前記箱本体の内側から前記壁に隣接するロック片と、前記蓋部の端から延出しており、且つ前記蓋部により前記開口を閉じた状態では前記箱本体の内側から前記壁に隣接するフラップと、を有し、
前記フラップには、前記ロック片と嵌合可能なロック穴が設けられており、
前記ロック片は、前記第1方向において前記開口から離れるにつれて幅が狭くなる第1部分を有し、
前記ロック穴は、前記フラップの先端に近づくにつれて幅が狭くなる第2部分を有する、収容箱。
続きを表示(約 790 文字)
【請求項2】
前記第1方向において前記ロック片の前記開口から遠い側の端には、前記壁の表面に沿う方向であり且つ前記第1方向と交差する第2方向に延びている第1平坦部分が設けられており、
前記ロック穴における前記フラップの先端に近い側の縁には、前記フラップの表面に沿う方向であり且つ前記フラップの延出方向と交差する方向に延びている第2平坦部分が設けられている、請求項1に記載の収容箱。
【請求項3】
前記ロック片は、前記第1方向において前記第1部分よりも前記開口から遠い位置にて、前記開口から前記第1方向に離れるにつれて幅が広くなる第3部分を有し、
前記ロック穴は、前記第2部分よりも前記フラップの先端に近い位置にて、前記フラップの先端に近づくにつれて幅が広くなる第4部分を有する、請求項1に記載の収容箱。
【請求項4】
前記ロック穴における前記フラップの先端に近い側の縁には、前記フラップの基端側に向かって突出する突出片が設けられている、請求項1に記載の収容箱。
【請求項5】
前記蓋部には、前記ロック部によるロック状態を解除可能なロック解除部材が設けられている、請求項1に記載の収容箱。
【請求項6】
前記ロック穴における前記フラップの基端に近い側の縁は、前記フラップの先端側に向かって湾曲している、請求項1に記載の収容箱。
【請求項7】
前記ロック片は、前記壁の前記第1方向における前記一端から突出しており、前記壁と前記ロック片との境界部分を基点として前記箱本体の内側に折り曲げられている、請求項1に記載の収容箱。
【請求項8】
折り曲げ線を備え、前記折り曲げ線に沿って折り曲げることにより、請求項1~7のいずれか一項に記載の収容箱をなす、ブランク。
発明の詳細な説明
【技術分野】
【0001】
本発明は、収容箱及びブランクに関する。
続きを表示(約 2,300 文字)
【背景技術】
【0002】
収容箱を封緘する技術は、既に開発されており、特許文献1に記載された技術が、その一例として挙げられる。
特許文献1に記載の収容箱では、ロック用蓋シート部の先端部には、折り返しによる撓み係止部を有するロック部が設けられ、被ロック用内蓋シート部には、ロック部が挿入される細長いロック孔が設けられている。ロック部がロック孔に挿入され、ロック孔に挿入されたロック部の撓み係止部が変形することで、ロックが可能となる。
【先行技術文献】
【特許文献】
【0003】
特開2007-320587号公報
【発明の概要】
【発明が解決しようとする課題】
【0004】
特許文献1に記載の収容箱では、折返し部分(撓み係止部)の先端が、収容箱の内側から蓋部に係止されることで封緘(ロック)されることとなる。
一方で、折返し部分の反発力は、収容箱の材質及び厚み等によって異なる。このため、折返し部分の反発力の大きさ次第では、蓋部を持ち上げた際に、ロック部に対して折返し部分が回動し、折返し部分の先端が蓋部に対して十分に係止されず、収容箱の封緘状態が適切に維持されない場合が考えられる。
【0005】
そこで、本発明は、上記の事情に鑑みてなされたものであり、その目的とするところは、封緘状態を適切に維持することが可能な収容箱及び収容箱をなすブランクを提供することである。
【課題を解決するための手段】
【0006】
上記の目的は、本発明の収容箱によれば、開口を有する箱本体と、開口を開閉可能な蓋部と、開口を閉じた状態で蓋部をロックするロック部と、を備えた収容箱であって、箱本体は、第1方向における一端が開口の縁をなす壁を含み、ロック部は、箱本体の内側から壁に隣接するロック片と、蓋部の端から延出しており、且つ蓋部により開口を閉じた状態では箱本体の内側から壁に隣接するフラップと、を有し、フラップには、ロック片と嵌合可能なロック穴が設けられており、ロック片は、第1方向において開口から離れるにつれて幅が狭くなる第1部分を有し、ロック穴は、フラップの先端に近づくにつれて幅が狭くなる第2部分を有することにより解決される。
また、本発明のブランクは、折り曲げ線を備え、折り曲げ線に沿って折り曲げることにより、上記に記載の収容箱をなすものである。
【発明の効果】
【0007】
本発明によれば、封緘状態を適切に維持することが可能な収容箱及び収容箱をなすブランクを提供することができる。
【図面の簡単な説明】
【0008】
本発明の一つの実施形態に係る封緘前の収容箱を示す斜視図である。
本発明の一つの実施形態に係る封緘後の収容箱を示す斜視図である。
図2に示す切断線A-Aで切断した断面図である。
嵌合前のロック片及びロック穴を収容箱の内側から見た図である。
嵌合後のロック片及びロック穴を収容箱の内側から見た図である。
封緘後の収容箱について、カードキーを使用せずに蓋部のロックを解除しようとした場合について説明する図である。
本発明の一つの実施形態に係るカードキーの平面図である。
カードキーを使用して蓋部のロックを解除する手順を説明する図である。
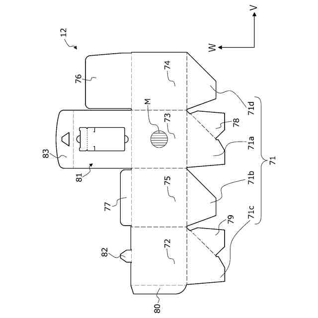
本発明の一つの実施形態に係る収容箱を構成するブランクの平面図である。
本発明の第1変形例に係る収容箱について、嵌合前のロック片及びロック穴を収容箱の内側から見た図である。
本発明の第2変形例に係る収容箱について、嵌合前のロック片及びロック穴を収容箱の内側から見た図である。
【発明を実施するための形態】
【0009】
以下、本発明の一つの実施形態(以下、本実施形態)について、添付の図面を参照しながら説明する。
なお、以下の実施形態は、本発明の理解を容易にするために挙げた一例にすぎず、本発明を限定するものではない。すなわち、本発明の構成は、その趣旨を逸脱しない限り、下記の実施形態から変更又は改良され得る。
また、本発明を実施するために用いられる各部材の材質及び形状等は、特に断る場合を除き、本発明の用途及び本発明の実施時点での技術水準等に応じて任意に設定できる。また、本発明には、その等価物が含まれる。
【0010】
また、本明細書において、「直交」、「平行」、及び「垂直」は、本発明が属する技術分野において許容される誤差の範囲を含むものとする。例えば、本明細書の「直交」、「平行」、及び「垂直」は、厳密な「直交」、「平行」又は「垂直」に対して±10°未満の範囲内であること等を意味する。なお、厳密な「直交」、「平行」、及び「垂直」からの誤差は、5°以下であることが好ましく、3°以下であることがより好ましい。
また、本明細書において、「同じ」、「同一」、及び「同程度」という意味には、本発明が属する技術分野で一般的に許容される誤差の範囲が含まれ得る。
また、本明細書において、「全部」及び「全域」という意味には、100%である場合のほか、本発明が属する技術分野で一般的に許容される誤差の範囲が含まれ、例えば99%以上、95%以上、又は90%以上である場合が含まれ得る。
(【0011】以降は省略されています)
この特許をJ-PlatPat(特許庁公式サイト)で参照する
関連特許
個人
収容箱
3か月前
個人
コンベア
5か月前
個人
容器
9か月前
個人
段ボール箱
7か月前
個人
段ボール箱
7か月前
個人
ゴミ収集器
7か月前
個人
角筒状構造体
5か月前
個人
土嚢運搬器具
8か月前
個人
宅配システム
7か月前
個人
楽ちんハンド
5か月前
個人
バンド
2か月前
個人
廃棄物収容容器
2か月前
個人
コード類収納具
8か月前
個人
包装容器
1か月前
個人
お薬の締結装置
6か月前
個人
閉塞装置
10か月前
個人
蓋閉止構造
4か月前
株式会社和気
包装用箱
9か月前
個人
蓋閉止構造
4か月前
個人
貯蔵サイロ
7か月前
株式会社和気
包装用箱
4日前
個人
積み重ね用補助具
2か月前
個人
ゴミ処理機
9か月前
株式会社コロナ
梱包材
5か月前
株式会社バンダイ
物品
24日前
個人
把手付米袋
4か月前
三甲株式会社
容器
8日前
株式会社KY7
封止装置
3か月前
個人
袋入り即席麺
7か月前
個人
搬送システム
6か月前
個人
コード折り畳み器具
4か月前
個人
包装箱
10か月前
個人
輸送積荷用動吸振器
6か月前
株式会社新弘
容器
3か月前
株式会社イシダ
搬送装置
6か月前
個人
介護用コップ
2か月前
続きを見る
他の特許を見る