TOP
|
特許
|
意匠
|
商標
特許ウォッチ
Twitter
他の特許を見る
10個以上の画像は省略されています。
公開番号
2025159724
公報種別
公開特許公報(A)
公開日
2025-10-21
出願番号
2025063882
出願日
2025-04-08
発明の名称
運搬用容器
出願人
岐阜プラスチック工業株式会社
代理人
弁理士法人北斗特許事務所
主分類
B65D
77/04 20060101AFI20251014BHJP(運搬;包装;貯蔵;薄板状または線条材料の取扱い)
要約
【課題】外装容器の側方から内装容器を取り出すことができて、外装容器から内装容器を取り出しやすいうえ、蓋を被せた状態では外装容器から内装容器を取り出せないようにすることができる運搬用容器を提案する。
【解決手段】運搬用容器1は、上方に開放された収納空間S1を内部に有する外装容器2と、収納空間S1に配置される内装容器3と、内装容器3を上方から覆う蓋4と、を備える。外装容器2は、外装容器2の上端面から下方に切り欠かれ、かつ外側に向けて開口した切欠き部27を有する。内装容器3は、切欠き部27の底面から上方に離れた位置に向けて突出する突出部33を有する。蓋4は、突出部33の上方に位置する蓋外周部41と、蓋外周部41から下方に延び、突出部33を外側から覆う覆い部43と、を有する。
【選択図】図9
特許請求の範囲
【請求項1】
上方に開放された収納空間を内部に有する外装容器と、
前記収納空間に配置される内装容器と、
前記内装容器を上方から覆う蓋と、を備え、
前記外装容器は、前記外装容器の上端面から下方に切り欠かれ、かつ外側に向けて開口した切欠き部を有し、
前記内装容器は、前記切欠き部の底面から上方に離れた位置に向けて突出する突出部を有し、
前記蓋は、前記突出部の上方に位置する蓋外周部と、
前記蓋外周部から下方に延び、前記突出部を外側から覆う覆い部と、を有する、
運搬用容器。
続きを表示(約 360 文字)
【請求項2】
前記覆い部は、前記切欠き部の外側に位置する、
請求項1に記載の運搬用容器。
【請求項3】
前記蓋は、
前記蓋外周部の外周縁部から下方に延びた周壁部を有し、
前記周壁部の一部が、前記覆い部である、
請求項1又は2に記載の運搬用容器。
【請求項4】
前記内装容器は、
前記収納空間に配置される容器本体部と、
前記容器本体部の上端部から外側に突出したフランジと、を有し、
前記フランジの一部が、前記突出部を構成している、
請求項1又は2に記載の運搬用容器。
【請求項5】
前記突出部は、突出方向の先端が前記切欠き部よりも内側に位置するように設けられている、
請求項1に記載の運搬用容器。
発明の詳細な説明
【技術分野】
【0001】
本開示は、運搬用容器に関し、より詳しくは、外装容器と内装容器と蓋とを備える運搬用容器に関する。
続きを表示(約 1,700 文字)
【背景技術】
【0002】
特許文献1には、上面が開放された直方体の形状を有する外装容器と、外装容器内に収容される内装トレーとが記載されている。
【0003】
内装トレーは、その全体が、外装容器内に収容されており、外装容器に内側から接することによって、外装容器内で位置決めがなされている。
【先行技術文献】
【特許文献】
【0004】
特許第7205872号公報
【発明の概要】
【発明が解決しようとする課題】
【0005】
ところで、特許文献1に記載の内装トレーを収容した外装容器では、外装容器と内装トレーとの間に隙間がなく、手や自動機によって内装トレーを取り出しにくい。また、この内装トレーを収容した外装容器では、外装容器の側方から内装トレーを取り出すことができない。
【0006】
上記事情に鑑みて、本開示は、外装容器の側方から内装容器を取り出すことができて、外装容器から内装容器を取り出しやすいうえ、蓋を被せた状態では外装容器から内装容器を取り出せないようにすることができる運搬用容器を提案することを、目的とする。
【課題を解決するための手段】
【0007】
上記課題を解決するために、本開示に係る一態様の運搬用容器は、上方に開放された収納空間を内部に有する外装容器と、前記収納空間に配置される内装容器と、前記内装容器を上方から覆う蓋と、を備える。前記外装容器は、前記外装容器の上端面から下方に切り欠かれ、かつ外側に向けて開口した切欠き部を有する。前記内装容器は、前記切欠き部の底面から上方に離れた位置に向けて突出する突出部を有する。前記蓋は、前記突出部の上方に位置する蓋外周部と、前記蓋外周部から下方に延び、前記突出部を外側から覆う覆い部と、を有する。
【発明の効果】
【0008】
本開示に係る一態様の運搬用容器では、外装容器の側方から内装容器を取り出すことができて、外装容器から内装容器を取り出しやすいうえ、蓋を被せた状態では外装容器から内装容器を取り出せないようにすることができる。
【図面の簡単な説明】
【0009】
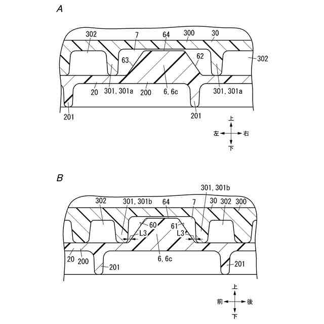
図1は、一実施形態の運搬用容器を示す斜視図である。
図2は、同上の運搬用容器の蓋を取り外した状態を示す斜視図である。
図3は、同上の運搬用容器が備える外装容器を示す斜視図である。
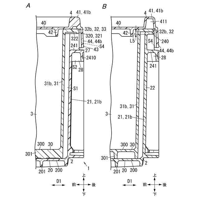
図4Aは、同上の外装容器を示す平面図であり、図4Bは、図4AのA部分を示す斜視図である。
図5A,図5Bは、同上の運搬用容器が備える外装容器と内装容器が有する位置決め部を示す断面図であり、図5Aは、図4AのB-B線に対応する部分における断面図であり、図5Bは、図4AのC-C線に対応する部分における断面図である。
図6は、同上の内装容器を示す斜視図である。
図7は、同上の内装容器を示す下面図である。
図8は、図1のD部分を示す斜視図である。
図9Aは、図8のE-E線における断面図であり、図9Bは、図8のF-F線における断面図である。
図10は、図9Aの一部を拡大して示す断面図である。
図11は、同上の運搬用容器の変形例を示す断面図であり、図8のE-E線に対応する部分における図である。
【発明を実施するための形態】
【0010】
(一実施形態)
1.概要
図1及び図9Aに示す一実施形態の運搬用容器1は、上方に開放された収納空間S1を内部に有する外装容器2と、収納空間S1に配置される内装容器3と、内装容器3を上方から覆う蓋4と、を備える。外装容器2は、外装容器2の上端面から下方に切り欠かれ、かつ外側に向けて開口した切欠き部27を有する。内装容器3は、切欠き部27の底面から上方に離れた位置に向けて突出する突出部33を有する。蓋4は、突出部33の上方に位置する蓋外周部41と、蓋外周部41から下方に延び、突出部33を外側から覆う覆い部43と、を有する。
(【0011】以降は省略されています)
この特許をJ-PlatPat(特許庁公式サイト)で参照する
関連特許
個人
収容箱
3か月前
個人
コンベア
5か月前
個人
ゴミ収集器
7か月前
個人
段ボール箱
7か月前
個人
容器
9か月前
個人
段ボール箱
6か月前
個人
宅配システム
7か月前
個人
土嚢運搬器具
8か月前
個人
角筒状構造体
5か月前
個人
楽ちんハンド
5か月前
個人
バンド
2か月前
個人
閉塞装置
10か月前
個人
包装容器
1か月前
個人
廃棄物収容容器
2か月前
個人
お薬の締結装置
5か月前
個人
コード類収納具
8か月前
個人
積み重ね用補助具
2か月前
株式会社バンダイ
物品
20日前
個人
蓋閉止構造
3か月前
個人
把手付米袋
4か月前
個人
貯蔵サイロ
7か月前
個人
蓋閉止構造
3か月前
個人
ゴミ処理機
9か月前
株式会社コロナ
梱包材
5か月前
株式会社和気
包装用箱
今日
株式会社和気
包装用箱
9か月前
株式会社イシダ
搬送装置
6か月前
三甲株式会社
容器
4日前
個人
輸送積荷用動吸振器
6か月前
個人
包装箱
10か月前
三甲株式会社
容器
5か月前
株式会社新弘
容器
2か月前
個人
搬送システム
6か月前
個人
袋入り即席麺
7か月前
三甲株式会社
蓋体
9か月前
個人
コード折り畳み器具
4か月前
続きを見る
他の特許を見る