TOP
|
特許
|
意匠
|
商標
特許ウォッチ
Twitter
他の特許を見る
公開番号
2025159581
公報種別
公開特許公報(A)
公開日
2025-10-21
出願番号
2024062266
出願日
2024-04-08
発明の名称
電極触媒層、膜電極接合体、固体高分子形燃料電池、および、電極触媒層の製造方法
出願人
TOPPANホールディングス株式会社
代理人
個人
,
個人
主分類
H01M
4/86 20060101AFI20251014BHJP(基本的電気素子)
要約
【課題】簡易な構成によって標準条件および高湿条件においてプロトン伝導性を高めることのできる電極触媒層、膜電極接合体、固体高分子形燃料電池、および、電極触媒層の製造方法を提供する。
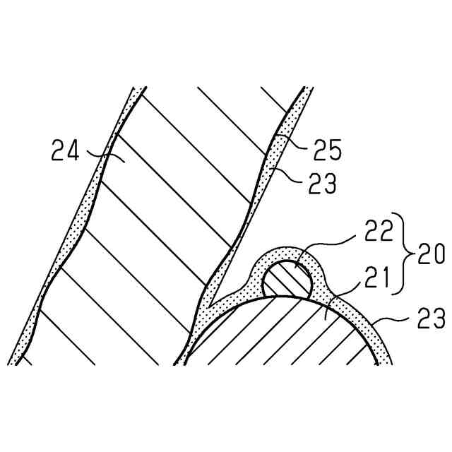
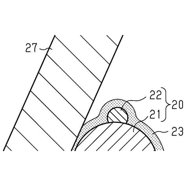
【解決手段】電極触媒層は、触媒物質22を担持した導電性担体21と、高分子電解質23と、電子伝導性繊維である繊維状物質24とを含む。繊維状物質24は表面に凹凸25を有し、凹凸の深さの分布のピークである深さピークは、10nm以上50nm以下であり、凹凸の幅の分布のピークである幅ピークは、100nm以上300nm以下であり、深さピークと幅ピークとの積は、10000以下である。
【選択図】図4
特許請求の範囲
【請求項1】
触媒物質を担持した導電性担体と、高分子電解質と、電子伝導性繊維である繊維状物質と、を含み、
前記繊維状物質は表面に凹凸を有し、
前記凹凸の深さの分布のピークである深さピークは、10nm以上50nm以下であり、前記凹凸の幅の分布のピークである幅ピークは、100nm以上300nm以下であり、前記深さピークと前記幅ピークとの積は、10000以下である
電極触媒層。
続きを表示(約 870 文字)
【請求項2】
前記深さピークは、20nm以上40nm以下であり、前記幅ピークは、100nm以上150nm以下である
請求項1に記載の電極触媒層。
【請求項3】
前記繊維状物質は、炭素繊維である
請求項1に記載の電極触媒層。
【請求項4】
前記繊維状物質は、カーボンナノファイバーである
請求項1に記載の電極触媒層。
【請求項5】
前記繊維状物質の平均繊維径は、50nm以上400nm以下である
請求項1に記載の電極触媒層。
【請求項6】
前記繊維状物質の平均繊維長は、1μm以上50μm以下である
請求項1に記載の電極触媒層。
【請求項7】
高分子電解質膜と、
請求項1~6のいずれか一項に記載の電極触媒層であって、前記高分子電解質膜の面に接する前記電極触媒層と、を備える
膜電極接合体。
【請求項8】
請求項7に記載の膜電極接合体と、
前記膜電極接合体を挟む一対のセパレータと、を備える
固体高分子形燃料電池。
【請求項9】
触媒物質を担持した導電性担体と、高分子電解質と、電子伝導性繊維である繊維状物質と、を含む触媒インクを製造することと、
前記触媒インクから形成した塗膜を乾燥することにより電極触媒層を形成することと、を含み、
前記繊維状物質は表面に凹凸を有し、
前記凹凸の深さの分布のピークである深さピークは、10nm以上50nm以下であり、前記凹凸の幅の分布のピークである幅ピークは、100nm以上300nm以下であり、前記深さピークと前記幅ピークとの積であるピーク積は、10000以下である
電極触媒層の製造方法。
【請求項10】
電子伝導性繊維を焼成することにより当該繊維の表面に前記凹凸を形成して前記繊維状物質を形成することを含む
請求項9に記載の電極触媒層の製造方法。
発明の詳細な説明
【技術分野】
【0001】
本開示は、電極触媒層、膜電極接合体、固体高分子形燃料電池、および、電極触媒層の製造方法に関する。
続きを表示(約 1,700 文字)
【背景技術】
【0002】
環境問題やエネルギー問題の解決に寄与する電池として、燃料電池が注目されている。燃料電池は、水素等の燃料と酸素等の酸化剤との化学反応を利用して、電力を生成する。燃料電池のなかでも、固体高分子形燃料電池は、室温付近での作動が可能であるため、家庭用電源や車載用電源等としての利用が期待されている。それゆえ、固体高分子形燃料電池の実用化に向けて、発電特性や耐久性等の電池性能の向上、製造コストの低減といった課題の解決のための研究開発が進められている。
【0003】
固体高分子形燃料電池は、アノードである燃料極を構成する電極触媒層と、カソードである空気極を構成する電極触媒層と、これら2つの電極触媒層に挟まれた高分子電解質膜とを有する膜電極接合体を備えている。
【0004】
燃料極には、水素を含む燃料ガスが供給され、空気極には、酸素を含む酸化剤ガスが供給される。燃料極に供給された燃料ガスからは、電極触媒層が含む触媒の作用によりプロトンと電子とが生じる。プロトンは、電極触媒層と高分子電解質膜とが含む高分子電解質によって伝導され、高分子電解質膜を通って空気極に移動する。電子は、燃料極から外部回路に取り出され、外部回路を通って空気極に移動する。空気極では、酸化剤ガスと、燃料極から移動してきたプロトンおよび電子とが反応して水が生成される。こうした一連の電気化学反応によって、起電力が生じる。
【0005】
電極触媒層は、各ガスや生成水の通路として機能する細孔状の空隙を有している。電気化学反応の反応性の向上のためには、電極触媒層の空隙が適切な大きさや分布を有していることが好ましい。こうした空隙の良好な形成や電極触媒層の強度の向上を目的として、電極触媒層に炭素繊維等の繊維状物質を含有させることが提案されている。
【0006】
ここで、上述の一連の電気化学反応においては、電子伝導抵抗よりもプロトン伝導抵抗の方が大きい。特に、電極触媒層に繊維状物質を含有させると、プロトン伝導性が低下しやすい。そのため、反応性を向上させて電池性能の向上を図るためには、プロトン伝導の効率を高めることが重要である。例えば、特許文献1には、電極触媒層に、プロトン伝導性を有する材料を担持させた炭素繊維を含有させる構成が記載されている。
【先行技術文献】
【特許文献】
【0007】
特開2002-110181号公報
【発明の概要】
【発明が解決しようとする課題】
【0008】
特許文献1では、プロトン伝導性を有する材料として、プロトン解離性基が導入されたフラーレンを、炭素繊維に担持させている。しかしながら、こうしたプロトン解離性基の導入および炭素繊維への担持の工程は煩雑であるため、製造コストの増大を招きやすい。また、特許文献1にて炭素繊維に付与されるプロトン伝導性は、プロトン解離性基が作用したグロッタス機構によるプロトン輸送に基づく。したがって、高湿条件ではプロトン伝導性の向上の効果が小さいという問題がある。
【課題を解決するための手段】
【0009】
上記課題を解決するための電極触媒層、膜電極接合体、固体高分子形燃料電池、および、電極触媒層の製造方法の各態様を記載する。
[態様1]触媒物質を担持した導電性担体と、高分子電解質と、電子伝導性繊維である繊維状物質と、を含み、前記繊維状物質は表面に凹凸を有し、前記凹凸の深さの分布のピークである深さピークは、10nm以上50nm以下であり、前記凹凸の幅の分布のピークである幅ピークは、100nm以上300nm以下であり、前記深さピークと前記幅ピークとの積は、10000以下である、電極触媒層。
【0010】
上記構成によれば、繊維状物質に高分子電解質が絡みやすくなるため、電極触媒層においてプロトン伝導のパスが好適に形成され、プロトン伝導性が高められる。そして、高分子電解質の分布の制御によってプロトン伝導性が高められていることから、高湿条件でのプロトン伝導性の低下も抑えられる。
(【0011】以降は省略されています)
この特許をJ-PlatPat(特許庁公式サイト)で参照する
関連特許
APB株式会社
蓄電セル
1日前
東ソー株式会社
絶縁電線
3日前
日本発條株式会社
積層体
26日前
個人
フレキシブル電気化学素子
15日前
ローム株式会社
半導体装置
24日前
ローム株式会社
半導体装置
2日前
ローム株式会社
半導体装置
24日前
ローム株式会社
半導体装置
22日前
ローム株式会社
半導体装置
24日前
ローム株式会社
半導体装置
17日前
日新イオン機器株式会社
イオン源
11日前
株式会社ユーシン
操作装置
15日前
株式会社GSユアサ
蓄電装置
26日前
株式会社ホロン
冷陰極電子源
9日前
株式会社ホロン
冷陰極電子源
22日前
オムロン株式会社
電磁継電器
16日前
株式会社GSユアサ
蓄電設備
15日前
株式会社GSユアサ
蓄電設備
15日前
株式会社GSユアサ
蓄電装置
22日前
太陽誘電株式会社
コイル部品
15日前
個人
半導体パッケージ用ガラス基板
25日前
太陽誘電株式会社
全固体電池
22日前
トヨタ自動車株式会社
蓄電装置
15日前
日東電工株式会社
積層体
16日前
TDK株式会社
電子部品
22日前
日本特殊陶業株式会社
保持装置
26日前
トヨタ自動車株式会社
バッテリ
16日前
日本特殊陶業株式会社
保持装置
22日前
トヨタ自動車株式会社
バッテリ
1日前
ローム株式会社
電子装置
26日前
トヨタ自動車株式会社
冷却構造
3日前
日本特殊陶業株式会社
保持装置
24日前
ノリタケ株式会社
熱伝導シート
15日前
サクサ株式会社
電池の固定構造
15日前
日本特殊陶業株式会社
保持装置
4日前
北道電設株式会社
配電具カバー
1日前
続きを見る
他の特許を見る