TOP
|
特許
|
意匠
|
商標
特許ウォッチ
Twitter
他の特許を見る
公開番号
2025159455
公報種別
公開特許公報(A)
公開日
2025-10-21
出願番号
2024062011
出願日
2024-04-08
発明の名称
電気化学式ガスセンサ、ガス検知装置、およびガス検知システム
出願人
パナソニックIPマネジメント株式会社
代理人
弁理士法人YKI国際特許事務所
主分類
G01N
27/416 20060101AFI20251014BHJP(測定;試験)
要約
【課題】簡便な信号取り出し構造を備えた電気化学式ガスセンサを提供する。
【解決手段】電気化学式ガスセンサ1は、基板10と、基板10の第1面10aに配置されたガス検知部2と、ガス検知部2を覆うカバー40と、ガス検知部2に接続され、一部がカバー40から露出した配線11とを備える。配線11のカバー40から露出した部分には、外部配線又は外部端子に接続される接続部15が形成されている。
【選択図】図2
特許請求の範囲
【請求項1】
第1面および第2面を含む基板と、
前記基板の前記第1面に配置されたガス検知部と、
前記ガス検知部を覆うカバーと、
前記ガス検知部に接続され、一部が前記カバーから露出した配線と、
を備え、
前記配線の前記カバーから露出した部分には、外部配線又は外部端子に接続される接続部が形成されている、電気化学式ガスセンサ。
続きを表示(約 810 文字)
【請求項2】
前記基板は、前記カバーから突出した突出部を有し、
前記接続部は、前記突出部に形成されている、請求項1に記載の電気化学式ガスセンサ。
【請求項3】
前記突出部に、複数の前記接続部が形成されている、請求項2に記載の電気化学式ガスセンサ。
【請求項4】
複数の前記突出部を有し、
前記接続部は、前記突出部の各々に形成されている、請求項2に記載の電気化学式ガスセンサ。
【請求項5】
前記カバーは、前記基板の前記第1面を覆う第1カバーと、前記基板の前記第2面を覆う第2カバーとで構成され、
前記基板の前記突出部は、前記第1カバーおよび前記第2カバーにより挟まれている、請求項2に記載の電気化学式ガスセンサ。
【請求項6】
前記カバーは、前記突出部を除く前記基板の全体を覆っている、請求項5に記載の電気化学式ガスセンサ。
【請求項7】
前記第1カバーおよび前記第2カバーは、前記基板の前記突出部以外の部分を収容し、互いに連結されている、請求項5に記載の電気化学式ガスセンサ。
【請求項8】
前記基板は、前記ガス検知部と重なる領域において、前記第1面および前記第2面を連通させる第1ガス導入孔を有し、
前記第2カバーは、第2ガス導入孔を有し、前記第1ガス導入孔が形成された部分を含む前記基板の前記第2面を覆っている、請求項5に記載の電気化学式ガスセンサ。
【請求項9】
前記基板の前記第1ガス導入孔の開口面積は、前記第2カバーの前記第2ガス導入孔の開口面積より小さい、請求項8に記載の電気化学式ガスセンサ。
【請求項10】
前記接続部は、平面視円形状又は半円形状の貫通孔を含む、請求項1に記載の電気化学式ガスセンサ。
(【請求項11】以降は省略されています)
発明の詳細な説明
【技術分野】
【0001】
本開示は、電気化学式ガスセンサ、当該センサを用いたガス検知装置、および当該ガス検知装置を用いたガス検知システムに関する。
続きを表示(約 1,300 文字)
【背景技術】
【0002】
従来、触媒層および電解質層を備えた電気化学式のガスセンサが知られている。電気化学式ガスセンサでは、例えば、触媒層からなる作用電極(検知極)と対極が外部回路を介して接続されている。一酸化炭素などの検知対象ガスがセンサに流入すると、作用電極で一酸化炭素の酸化反応が起こり、その際に生じる短絡電流を測定することにより、ガスの濃度を検出することができる。
【0003】
特許文献1には、高分子固体電解質膜、検知極、対極、およびガス拡散層を備えた電気化学式ガスセンサが開示されている。特許文献1のセンサは、固体電解質膜の一方の面に検知極が、他方の面に対極がそれぞれ形成され、固体電解質膜がガス拡散層で挟まれた積層構造を有する。この積層構造がガス検知部として機能し、封口体と金属缶により挟持されることでセンサを構成している。
【先行技術文献】
【特許文献】
【0004】
国際公開第2017/047316
【発明の概要】
【発明が解決しようとする課題】
【0005】
電気化学式ガスセンサでは、上記のように、対象ガスを検知したときに電気信号が発生するため、この電気信号をガス検知部から取り出す必要がある。一方、電気化学式ガスセンサには小型化と低コスト化が求められており、複雑な信号取り出し構造を採用することは望ましくない。
【課題を解決するための手段】
【0006】
本開示に係る電気化学式ガスセンサは、第1面および第2面を含む基板と、前記基板の前記第1面に配置されたガス検知部と、前記ガス検知部を覆うカバーと、前記ガス検知部に接続され、一部が前記カバーから露出した配線とを備え、前記配線の前記カバーから露出した部分には、外部配線又は外部端子に接続される接続部が形成されていることを特徴とする。
【0007】
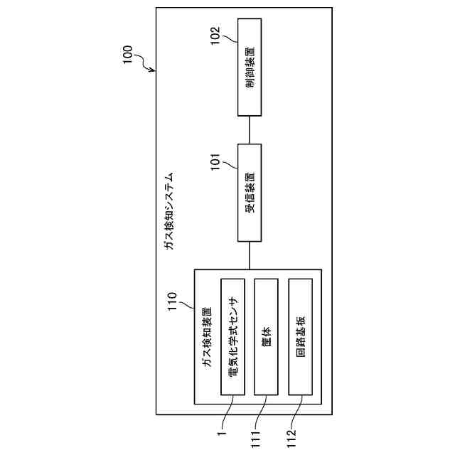
本開示に係るガス検知装置は、前記電気化学式ガスセンサと、前記電気化学式ガスセンサを収容する筐体とを備える。
【0008】
本開示に係るガス検知システムは、前記ガス検知装置と、前記ガス検知装置の検知結果を受信する受信装置とを備える。
【発明の効果】
【0009】
本開示の一態様によれば、簡便な信号取り出し構造を備えた電気化学式ガスセンサを提供でき、例えば、センサの小型化と低コスト化を図ることができる。また、本開示に係る電気化学式ガスセンサは、例えば、煙検知器等のガス検知装置に対する取り付けが容易である。
【図面の簡単な説明】
【0010】
実施形態の一例である電気化学式ガスセンサを回路基板に搭載した状態を示す図である。
実施形態の一例である電気化学式ガスセンサの斜視図である。
図2中のAA線断面図である。
図2中のBB線断面図である。
電気化学式ガスセンサの変形例を示す図である。
電気化学式ガスセンサの変形例を示す図である。
実施形態の一例であるガス検知システムの構成を示すブロック図である。
【発明を実施するための形態】
(【0011】以降は省略されています)
この特許をJ-PlatPat(特許庁公式サイト)で参照する
関連特許
個人
メジャー文具
17日前
個人
アクセサリー型テスター
10日前
個人
高精度同時多点測定装置
9日前
株式会社ミツトヨ
測定器
今日
日本精機株式会社
位置検出装置
23日前
日本精機株式会社
位置検出装置
23日前
日本精機株式会社
位置検出装置
23日前
ユニパルス株式会社
ロードセル
16日前
アズビル株式会社
電磁流量計
3日前
アズビル株式会社
圧力センサ
22日前
トヨタ自動車株式会社
監視装置
15日前
株式会社ヨコオ
ソケット
15日前
エイブリック株式会社
磁気センサ回路
22日前
ダイキン工業株式会社
監視装置
14日前
株式会社ヨコオ
ソケット
16日前
株式会社チノー
放射光測温装置
16日前
愛知時計電機株式会社
ガスメータ
今日
ローム株式会社
半導体装置
8日前
ローム株式会社
半導体装置
8日前
TDK株式会社
磁気センサ
15日前
株式会社東芝
重量測定装置
21日前
TDK株式会社
ガスセンサ
16日前
TDK株式会社
ガスセンサ
21日前
個人
システム、装置及び実験方法
3日前
長崎県
形状計測方法
10日前
TDK株式会社
ガスセンサ
22日前
日本特殊陶業株式会社
センサ
14日前
富士電機株式会社
エンコーダ
22日前
三菱マテリアル株式会社
温度センサ
17日前
日本特殊陶業株式会社
センサ
14日前
日本特殊陶業株式会社
センサ
14日前
株式会社熊谷組
RI計測装置
23日前
株式会社デンソー
電流センサ
8日前
日本特殊陶業株式会社
センサ
14日前
TDK株式会社
電磁波センサ
16日前
中国電力株式会社
電柱管理システム
14日前
続きを見る
他の特許を見る