TOP
|
特許
|
意匠
|
商標
特許ウォッチ
Twitter
他の特許を見る
10個以上の画像は省略されています。
公開番号
2025159409
公報種別
公開特許公報(A)
公開日
2025-10-21
出願番号
2024061904
出願日
2024-04-08
発明の名称
多孔質炭素複合材料、その製造方法およびそれを用いた触媒
出願人
国立研究開発法人物質・材料研究機構
代理人
主分類
B01J
31/28 20060101AFI20251014BHJP(物理的または化学的方法または装置一般)
要約
【課題】 金属粒子を担持した多孔質炭素材料、その製造方法およびそれを用いた触媒を提供すること。
【解決手段】 本発明の多孔質炭素複合材料は、フラーレンナノチューブに基づく多孔質炭素ナノチューブと、多孔質炭素ナノチューブの表面に位置し、金属粒子を含有し、ゼオライト様イミダゾレート構造体(ZIF)に基づく多孔質炭素構造体とを含有し、多孔質炭素ナノチューブおよび多孔質炭素構造体を構成する炭素(C)に対する金属粒子(M)の原子百分率の比は、0.015以上0.03以下である。
【選択図】 図1
特許請求の範囲
【請求項1】
フラーレンナノチューブに基づく多孔質炭素ナノチューブと、
前記多孔質炭素ナノチューブの表面に位置し、金属粒子を含有し、ゼオライト様イミダゾレート構造体(ZIF)に基づく多孔質炭素構造体と
を含有し、
前記多孔質炭素ナノチューブおよび前記多孔質炭素構造体を構成する炭素(C)に対する前記金属粒子(M)の原子百分率の比は、0.015以上0.03以下である、多孔質炭素複合材料。
続きを表示(約 940 文字)
【請求項2】
前記金属粒子は、コバルト(Co)、ニッケル(Ni)、鉄(Fe)、および、白金(Pt)からなる群から選択される金属からなる、請求項1に記載の多孔質炭素複合材料。
【請求項3】
シェラーの式によりX線回折の半値幅から算出される前記金属粒子の粒径は、3.5nm以上9.0nm以下の範囲である、請求項1または2に記載の多孔質炭素複合材料。
【請求項4】
前記原子百分率の比は、0.018以上0.03以下の範囲を満たす、請求項1~3のいずれかに記載の多孔質炭素複合材料。
【請求項5】
前記多孔質炭素ナノチューブおよび/または前記多孔質炭素構造体は、窒素(N)をさらに含有する、請求項1~4のいずれかに記載の多孔質炭素複合材料。
【請求項6】
前記多孔質炭素ナノチューブおよび/または前記多孔質炭素構造体は、酸素(O)をさらに含有する、請求項5に記載の多孔質炭素複合材料。
【請求項7】
前記炭素(C)、前記金属粒子(M)、前記酸素(O)、前記窒素(N)の原子百分率(%)(ただし、C、M、OおよびNの合計が100%である)は、それぞれ、
75≦C≦85
1.3≦M≦3.0
12≦O≦20
2.0≦N≦2.5
を満たす、請求項6に記載の多孔質炭素複合材料。
【請求項8】
前記ゼオライト様イミダゾレート構造体は、ZIF-7、ZIF-22、ZIF-8、ZIF-67、ZIF-69、ZIF-71、ZIF-78、ZIF-90、および、ZIF-95からなる群から選択される、請求項1~7のいずれかに記載の多孔質炭素複合材料。
【請求項9】
BET法比表面積は、370m
2
/g以上800m
2
/g以下の範囲を満たす、請求項1~8のいずれかに記載の多孔質炭素複合材料。
【請求項10】
BET法比表面積は、380m
2
/g以上450m
2
/g以下の範囲を満たす、請求項9に記載の多孔質炭素複合材料。
(【請求項11】以降は省略されています)
発明の詳細な説明
【技術分野】
【0001】
本発明は、多孔質炭素複合材料、その製造方法およびそれを用いた触媒に関する。
続きを表示(約 3,500 文字)
【背景技術】
【0002】
金属粒子を多孔質炭素材料に担持させた触媒が知られている(例えば、特許文献1を参照)。特許文献1によれば、組成に、亜鉛と、1000℃を超える融点および沸点の金属元素と、を含む、炭素元素、亜鉛元素、金属元素、水素元素、酸素元素からなる有機化合物の前駆体を調製し、当該前駆体を900~1000℃の温度で焼成することにより、亜鉛を昇華させて細孔を作るとともに、金属元素を分散および粒子化させ、前駆体を多孔質炭素材料にすると同時に、当該多孔質炭素材料に分散および粒子化させた金属粒子を担持させることを特徴とする金属粒子担持多孔質炭素材料の製造方法が開示される。しかしながら、金属粒子の粒径の制御には至っておらず、触媒のさらなる機能の向上が期待される。
【先行技術文献】
【特許文献】
【0003】
特開2024-20082号公報
【発明の概要】
【発明が解決しようとする課題】
【0004】
以上より、本発明の課題は、金属粒子を担持した多孔質炭素複合材料、その製造方法およびそれを用いた触媒を提供することである。
【課題を解決するための手段】
【0005】
本発明による多孔質炭素複合材料は、フラーレンナノチューブに基づく多孔質炭素ナノチューブと、前記多孔質炭素ナノチューブの表面に位置し、金属粒子を含有し、ゼオライト様イミダゾレート構造体(ZIF)に基づく多孔質炭素構造体とを含有し、前記多孔質炭素ナノチューブおよび前記多孔質炭素構造体を構成する炭素(C)に対する前記金属粒子(M)の原子百分率の比は、0.015以上0.03以下であり、これにより上記課題を解決する。
前記金属粒子は、コバルト(Co)、ニッケル(Ni)、鉄(Fe)、および、白金(Pt)からなる群から選択される金属からなってもよい。
シェラーの式によりX線回折の半値幅から算出される前記金属粒子の粒径は、3.5nm以上9.0nm以下の範囲であってもよい。
前記原子百分率の比は、0.018以上0.03以下の範囲を満たしてもよい。
前記多孔質炭素ナノチューブおよび/または前記多孔質炭素構造体は、窒素(N)をさらに含有してもよい。
前記多孔質炭素ナノチューブおよび/または前記多孔質炭素構造体は、酸素(O)をさらに含有してもよい。
前記炭素(C)、前記金属粒子(M)、前記酸素(O)、前記窒素(N)の原子百分率(%)(ただし、C、M、OおよびNの合計が100%である)は、それぞれ、
75≦C≦85
1.3≦M≦3.0
12≦O≦20
2.0≦N≦2.5
を満たしてもよい。
前記ゼオライト様イミダゾレート構造体は、ZIF-7、ZIF-22、ZIF-8、ZIF-67、ZIF-69、ZIF-71、ZIF-78、ZIF-90、および、ZIF-95からなる群から選択されてもよい。
BET法比表面積は、370m
2
/g以上800m
2
/g以下の範囲を満たしてもよい。
BET法比表面積は、380m
2
/g以上450m
2
/g以下の範囲を満たしてもよい。
全細孔容積は、0.65cm
3
/g以上1.0cm
3
/g以下の範囲を満たし、細孔径1nm以下のマイクロポア細孔容積は、前記全細孔容積の53.5%以上60%以下の範囲を満たしてもよい。
本発明による多孔質炭素複合材料を製造する方法は、フラーレンナノチューブを酸処理することと、前記酸処理されたフラーレンナノチューブと、イミダゾールまたはその誘導体と、金属元素の塩とを溶媒中で混合し、反応させることと、前記混合し、反応させることによって得られた生成物を洗浄し、乾燥させることと、前記乾燥させることによって得られた生成物を焼成することとを包含し、前記金属元素の塩に対する前記フラーレンナノチューブのモル比は、0.5より大きく2.0より小さく、これにより上記課題を解決する。
前記フラーレンナノチューブを構成するフラーレンは、C
60
フラーレン、C
70
フラーレン、C
76
フラーレン、C
78
フラーレン、C
82
フラーレン、C
84
フラーレン、C
90
フラーレン、C
94
フラーレン、および、これらの誘導体からなる群から選択されてもよい。
酸処理することは、塩酸、硝酸、硫酸、リン酸、および、フッ酸からなる群から選択される酸を使用してもよい。
前記金属元素の塩は、コバルト(Co)、ニッケル(Ni)、鉄(Fe)、および、白金(Pt)からなる群から選択される金属元素の無機酸塩、または、無機ハロゲン化物塩であってもよい。
前記混合し、反応させることにおいて、前記酸処理されたフラーレンナノチューブと、前記イミダゾールまたはその誘導体と、前記金属元素の塩とは、1~5:10~50:1~5のモル比を満たしてもよい。
前記焼成することは、前記生成物を、窒素雰囲気中、750℃以上1200℃以下の温度範囲で焼成してもよい。
本発明による触媒は、上記多孔質炭素複合材料を含有し、これにより上記課題を解決する。
ニトロ多環芳香族炭化水素を還元してもよい。
【発明の効果】
【0006】
本発明の多孔質炭素複合材料は、フラーレンナノチューブに基づく多孔質炭素ナノチューブと、その上に位置する金属粒子を含有し、ゼオライト様イミダゾレート構造体(ZIF)に基づく多孔質炭素構造体とを含有し、炭素(C)に対する金属粒子(M)の原子百分率の比は、0.015以上0.03以下である。本発明の多孔質炭素材料は、ニトロ多環芳香族炭化水素を還元する触媒として機能する。
【図面の簡単な説明】
【0007】
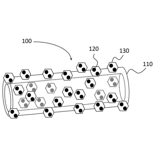
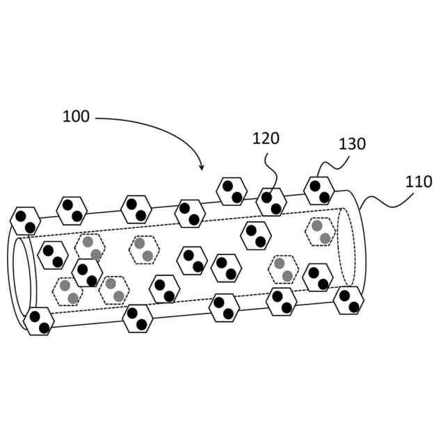
本発明の多孔質炭素複合材料を示す模式図
本発明の多孔質炭素複合材料を製造する工程を示すフローチャート
MOFOF-0.5、MOFOF-1.0、MOFOF-1.5およびMOFOF-2.0のSEM像を示す図
Co@HC-1.0のSEM像等の電子線画像を示す図
Co@HC-0.5~2.0のXRDパターンおよびラマンスペクトルを示す図
Co@HC-1.0のXPSスペクトルを示す図
Co@HC-0.5~2.0の窒素吸脱着等温線を示す図
Co@HC-1.0~1.5の4-ニトロフェノールの還元率の反応時間依存性を示す図
図8の擬一次動力学プロットを示す図
Co@HC-1.0の種々のニトロ多環芳香族炭化水素の還元率の反応時間依存性を示す図
図10の擬一次動力学プロットを示す図
Co@HC-1.0の4-ニトロフェノールの還元のサイクル試験を示す図
還元試験前後のCo@HC-1.0の窒素吸脱着等温線を示す図
【発明を実施するための形態】
【0008】
以下、図面を参照しながら本発明の実施の形態を説明する。なお、同様の要素には同様の符号を付し、その説明を省略する。
なお、本明細書において、「~」を用いて表される数値範囲は、「~」の前後に記載される数値を下限値および上限値として含む範囲を意味する。
【0009】
図1は、本発明の多孔質炭素複合材料を示す模式図である。
【0010】
本発明の多孔質炭素複合材料100は、フラーレンナノチューブに基づく多孔質炭素ナノチューブ110と、その表面に位置し、金属粒子120を含有し、ゼオライト様イミダゾレート構造体(ZIF:Zeolitic Imidazolate Framefork)に基づく多孔質炭素構造体130とを含有する。なお、以降では、ゼオライトイミダゾレート構造体を単にZIFと称する場合がある。本発明の多孔質炭素複合材料100は、階層構造を有する多孔質炭素材料を母体として、それに金属粒子が担持されて構成される。
(【0011】以降は省略されています)
この特許をJ-PlatPat(特許庁公式サイト)で参照する
関連特許
株式会社西部技研
除湿装置
12日前
株式会社日本触媒
ドロー溶質
6日前
ユニチカ株式会社
複合中空糸膜
26日前
東レ株式会社
中空糸膜モジュール
25日前
サンノプコ株式会社
消泡剤
4日前
株式会社笹山工業所
濁水処理システム
29日前
個人
攪拌装置
29日前
個人
気液混合装置
4日前
松岡紙業 株式会社
油吸着体の製造方法
6日前
大和ハウス工業株式会社
反応装置
19日前
ヤマシンフィルタ株式会社
フィルタ装置
27日前
株式会社フクハラ
圧縮空気圧回路ユニット
4日前
大陽日酸株式会社
CO2の回収方法
21日前
富士電機株式会社
ガス処理システム
1日前
本田技研工業株式会社
ガス回収装置
21日前
株式会社明電舎
成膜装置
1日前
本田技研工業株式会社
二酸化炭素回収装置
19日前
本田技研工業株式会社
二酸化炭素回収装置
19日前
本田技研工業株式会社
二酸化炭素回収装置
14日前
ノリタケ株式会社
触媒材料およびその利用
19日前
ノリタケ株式会社
触媒材料およびその利用
19日前
本田技研工業株式会社
二酸化炭素回収装置
27日前
本田技研工業株式会社
二酸化炭素回収装置
27日前
ノリタケ株式会社
触媒材料およびその利用
19日前
本田技研工業株式会社
二酸化炭素回収装置
19日前
本田技研工業株式会社
二酸化炭素回収装置
25日前
本田技研工業株式会社
二酸化炭素回収装置
21日前
本田技研工業株式会社
二酸化炭素回収装置
27日前
本田技研工業株式会社
二酸化炭素回収装置
19日前
Planet Savers株式会社
気体濃縮装置
21日前
個人
フッ化炭素糸物にフッ素をコーティングした浄水手段
4日前
日東電工株式会社
吸着材
25日前
東京応化工業株式会社
ろ過処理方法、及び多孔質膜
19日前
株式会社プロテリアル
触媒複合物および触媒前駆体複合物
20日前
三浦工業株式会社
撹拌装置
1日前
新甲エンジニアリング株式会社
使用済フロン再生装置
22日前
続きを見る
他の特許を見る