TOP
|
特許
|
意匠
|
商標
特許ウォッチ
Twitter
他の特許を見る
10個以上の画像は省略されています。
公開番号
2025159142
公報種別
公開特許公報(A)
公開日
2025-10-17
出願番号
2025135738,2023221068
出願日
2025-08-18,2018-12-10
発明の名称
光学導波管上の反射防止性コーティング
出願人
マジック リープ, インコーポレイテッド
,
Magic Leap,Inc.
代理人
個人
,
個人
,
個人
,
個人
,
個人
主分類
G02B
27/02 20060101AFI20251009BHJP(光学)
要約
【課題】光学導波管上の反射防止性コーティングの提供。
【解決手段】第1の屈折率を有する導波管基板と、導波管の第1の表面上に配置される複数の回折光学要素と、導波管の第2の表面上に配置される反射防止性コーティングとを備える反射防止性導波管アセンブリ。反射防止性コーティングは、好ましくは、光の少なくとも97パーセントが透過されるように、それが導波管の中に適用される表面を通した光の吸光を増加させる。反射防止性コーティングは、第1の屈折率および仮想的な屈折率が1×10
-3
未満であるが好ましくは5×10
-4
未満である異なる屈折率を有する材料の4つの層から成る。
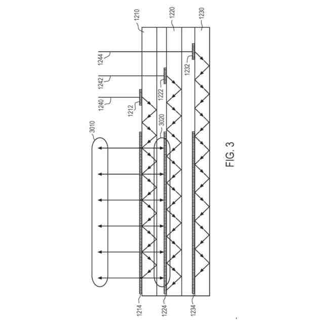
【選択図】図3
特許請求の範囲
【請求項1】
反射防止性導波管を通して光を伝搬する方法であって、前記方法は、
第1の表面および第2の表面と第1の屈折率とを有する前記反射防止性導波管の第1の平面導波管基板を通して前記光を伝搬することであって、前記第1の平面導波管基板の前記第1の表面および前記第2の表面は、前記第1の平面導波管基板の反対側に配置されている、ことと、
前記第1の平面導波管基板の前記第1の表面上に配置されている前記反射防止性導波管の複数の回折光学要素を用いて、前記第1の平面導波管基板から外に視認者に向かう第1の方向に、および、前記第1の平面導波管基板の中に前記視認者から離れる第2の方向に、前記光を回折することであって、前記反射防止性導波管は、前記第1の平面導波管基板の前記第2の表面上に配置されている反射防止性コーティングを有し、前記第2の方向に屈折させられた前記光は、前記第1の平面導波管基板の前記第2の表面を通して前記第1の平面導波管基板を離れ、前記反射防止性コーティングは、前記第1の平面導波管基板の前記第2の表面からの光の反射を減少させ、前記第1の平面導波管基板の前記第2の表面を通した前記反射防止性導波管の中への光の透過を増加させる、ことと
を含む、方法。
続きを表示(約 800 文字)
【請求項2】
前記第1の平面導波管基板は、前記複数の回折光学要素と前記反射防止性コーティングとの間の全内部反射によって光を実質的に第1の方向に伝搬することと、前記第1の方向に実質的に直交する第2の方向に光を外部結合することとを行うように構成されている、請求項1に記載の方法。
【請求項3】
全内部反射によって伝搬する前記光は、s偏光成分とp偏光成分とを含む、請求項2に記載の方法。
【請求項4】
前記反射防止性コーティングは、前記s偏光成分の入射角が前記反射防止性導波管を通した前記p偏光成分の入射角に実質的に類似するように、前記s偏光成分と前記p偏光成分との間の位相遅延を減少させるように構成されている、請求項3に記載の方法。
【請求項5】
前記光の少なくとも97パーセントは、前記第1の平面導波管基板の前記第2の表面を通して透過される、請求項1に記載の方法。
【請求項6】
前記第1の平面導波管基板は、ガラスであり、前記反射防止性コーティングは、MgF
2
の層を備える、請求項3に記載の方法。
【請求項7】
前記MgF
2
の層は、75nm~125nmの厚さを有する、請求項6に記載の方法。
【請求項8】
前記反射防止性コーティングは、SiO
2
の層を備える、請求項6に記載の方法。
【請求項9】
前記MgF
2
の層は、前記第1の平面導波管基板の前記第2の表面に直接的に隣接するように配置されている、請求項7に記載の方法。
【請求項10】
SiO
2
の層が、前記MgF
2
の層上に配置されている、請求項9に記載の方法。
(【請求項11】以降は省略されています)
発明の詳細な説明
【背景技術】
【0001】
(関連出願の相互参照)
本願は、2017年12月10日に出願された米国仮特許出願第62/596,904号、および、2018年10月26日に出願された米国仮特許出願第62/751,240号の優先権を主張し、各々、その全体が参照により本明細書に援用される。
続きを表示(約 3,300 文字)
【0002】
(発明の背景)
窓または光起電デバイス(例えば、太陽エネルギーパネル)等の基板の表面処理は、層状反射防止性材料のコーティングから利点を享受する。ガラスに衝突する光からのグレアの低減、エネルギーコストのための自然光の改良された留保、または光起電セルに衝突する増加された光の吸光は、反射防止性コーティングが使用される方法のうちのいくつかである。従来の反射防止性コーティングは、基板の表面の法線に対して略直交する光経路であって、概して、基板の完全に外部における光の発生を予期するそのような自由空間光のための反射防止を最大限にするように指向される光経路のための利点を提供する。従来のコーティングはまた、透過率を増加させることを模索する。ある光学媒体は、自由空間発生以外の光経路を操作し、そのような媒体の性能を最適化するための反射防止コーティングが、必要とされる。
【発明の概要】
【課題を解決するための手段】
【0003】
(要旨)
本発明の実施形態は、概して、光学導波管内の反射防止性コーティングのための層の具体的な材料および厚さを対象とする。より具体的には、本明細書に説明される実施形態および技法は、全内部反射(TIR)のための光伝搬を促進し、同時に、直交角度における光反射または他の自由空間光を最小限にするはずである反射防止性コーティングに関する。本明細書に説明される実施形態は、光の完全透過を模索することから外れる。
【0004】
いくつかの実施形態は、第1の屈折率を有する導波管基板(例えば、ガラス)を対象とする。基板は、平面または円筒形(例えば、光ファイバ)であってもよい。平面基板に関して、複数の回折光学要素(例えば、格子)が、第1の表面上に配置され、反射防止性コーティングが、反対表面上に配置される。円筒形導波管に関して、反射防止性コーティングは、外側表面に適用される。
【0005】
いくつかの実施形態では、導波管は、光を受け取り、全内部反射によって、軸に沿ってそれを伝搬させるように構成される。平面導波管では、光は、そのような軸に沿って第1の方向に進行し、光がその対応する表面の回折光学要素から反射すると、略直交方向に光を外部結合する。円筒形導波管では、光は、導波管の長さと略平行な軸に沿って、導波管に沿って反射し、遠位端において外部結合する。
【0006】
そのような実施形態上の反射防止性コーティングは、光の偏光成分毎のTIRによるバウンスの角度が実質的に類似するように、受け取られた光のsおよびp偏光状態間の位相遅延を最小限にするように構成される。
【0007】
いくつかの実施形態では、反射防止性コーティングは、75~125ナノメートル(nm)の厚さを有するフッ化マグネシウム(MgF
2
)の単一の層である。いくつかの実施形態では、シリカ(SiO
2
)の層が、外側層として、コーティングに適用される。
【0008】
いくつかの実施形態では、反射防止性コーティングは、5×10
-4
未満の(代替として、本明細書では、吸光係数と称される)仮想的な屈折率値kを有する。いくつかの実施形態では、完全コーティングのk値は、コーティングを含む層の数にかかわらず、5×10
-4
~1×10
-3
である。いくつかの実施形態では、コーティングは、材料の単一層である。いくつかの実施形態では、コーティングは、2つの材料間で交互し、1つの材料は、第2の材料より比較的に高い屈折率を有する。いくつかの実施形態では、8つ未満の総層が、利用される。
【0009】
いくつかの実施形態では、2より大きい屈折率を伴うチタニア(TiO
2
)が、コーティング層材料として利用され、いくつかの実施形態では、1.45~1.58の屈折率を伴うSiO
2
が、チタニアと層を交互する。
【0010】
これらの材料および層の選択は、光学導波管によって出力された光の効率を最適化し、位相遅延を最小限にし、光学欠陥(例えば、そのような導波管によって出力された画像内の条痕)を低減させ、従来の層の労力および材料コストを最小限にする。
本発明は、例えば、以下を提供する。
(項目1)
反射防止性導波管であって、
第1の屈折率を有する平面導波管基板と、
前記導波管の第1の表面上に配置される複数の回折光学要素と、
前記導波管の第2の表面上に配置される反射防止性コーティングと
を備える、反射防止性導波管。
(項目2)
前記導波管は、平面であり、前記複数の回折光学要素と前記反射防止性コーティングとの間の全内部反射によって光を略第1の方向に伝搬し、前記第1の方向に略直交する第2の方向に光を外部結合するように構成される、項目1に記載の反射防止性導波管。
(項目3)
前記全内部反射によって伝搬する光は、s偏光成分と、p偏光成分とを備える、項目2に記載の反射防止性導波管。
(項目4)
前記反射防止性コーティングは、前記s成分の入射角が、前記導波管を通した前記p成分のものに実質的に類似するように、前記2つの成分間の位相遅延を低減させるように構成される、項目3に記載の反射防止性導波管。
(項目5)
前記反射防止性コーティングは、前記導波管からの反射を低減させ、前記第2の表面を通して前記導波管の中への光の透過を増加させる、項目4に記載の反射防止性導波管。
(項目6)
前記光の少なくとも97パーセントは、前記第2の表面を通して透過される、項目5に記載の反射防止性導波管。
(項目7)
前記導波管基板は、ガラスであり、前記反射防止性コーティングは、MgF
2
の層を備える、項目3に記載の反射防止性導波管。
(項目8)
前記MgF
2
の層は、75~125nmの厚さを有する、項目7に記載の反射防止性導波管。
(項目9)
前記反射防止性コーティングは、SiO
2
の層を備える、項目7に記載の反射防止性導波管。
(項目10)
前記MgF
2
の層は、前記第2の表面に直隣接するように配置される、項目8に記載の反射防止性導波管。
(項目11)
SiO
2
の層が、前記MgF
2
の層上に配置される、項目10に記載の反射防止性導波管。
(項目12)
前記反射防止性コーティングの累積屈折率は、5×10
-4
未満の仮想的な屈折率成分値を有する、項目11に記載の反射防止性導波管。
(項目13)
前記反射防止性コーティングの累積屈折率は、5×10
-4
~1×10
-3
の仮想的な屈折率成分値を有する、項目11に記載の反射防止性導波管。
(項目14)
前記反射防止性コーティングは、第1の材料と第2の材料との間で交互する8つ未満の層から成る、項目3に記載の反射防止性導波管。
(項目15)
前記反射防止性コーティングは、4つの層から成る、項目14に記載の反射防止性導波管。
(項目16)
前記第1の材料は、前記第2の材料より比較的に高い屈折率を有する、項目14に記載の反射防止性導波管。
(項目17)
前記第1の材料は、TiO
2
である、項目14に記載の反射防止性導波管。
【図面の簡単な説明】
(【0011】以降は省略されています)
この特許をJ-PlatPat(特許庁公式サイト)で参照する
関連特許
個人
立体像表示装置
15日前
住友化学株式会社
偏光板
12日前
カンタツ株式会社
光学系
7日前
東レ株式会社
積層フィルム
21日前
株式会社シグマ
結像光学系
1日前
住友化学株式会社
垂直偏光板
12日前
東レ株式会社
赤外線遮蔽構成体
15日前
東レ株式会社
貼合体の製造方法
15日前
古河電気工業株式会社
融着機
7日前
日本電気株式会社
光モジュール
1日前
個人
多方向視差効果のための微細穴加工
2日前
スタンレー電気株式会社
照明装置
22日前
日本電気株式会社
光集積回路素子
19日前
個人
眼鏡装着位置変更具および眼鏡
13日前
三菱電機株式会社
レンズモジュール
12日前
住友化学株式会社
偏光板
15日前
住友化学株式会社
偏光板
15日前
日東電工株式会社
調光フィルム
20日前
住友化学株式会社
積層体
19日前
AGC株式会社
インフィニティミラー
8日前
日本分光株式会社
赤外顕微鏡
26日前
住友化学株式会社
光学積層体
15日前
日本精機株式会社
ヘッドアップディスプレイ装置
20日前
住友化学株式会社
偏光積層体
15日前
旭化成株式会社
成形体
26日前
旭化成株式会社
成形体
26日前
新光電気工業株式会社
光導波路部品
12日前
新光電気工業株式会社
光導波路部品
12日前
住友ベークライト株式会社
積層体の製造方法
20日前
キヤノン株式会社
レンズ装置および撮像装置
20日前
Orbray株式会社
MEMS光スイッチの制御方法
20日前
古河電気工業株式会社
光モジュール、光接続構造
20日前
住友化学株式会社
偏光板及び画像表示装置
21日前
富士通株式会社
波長変換装置および波長変換方法
5日前
京セラ株式会社
走査装置及び制御装置
19日前
京セラ株式会社
走査装置及び制御装置
19日前
続きを見る
他の特許を見る