TOP
|
特許
|
意匠
|
商標
特許ウォッチ
Twitter
他の特許を見る
10個以上の画像は省略されています。
公開番号
2025158947
公報種別
公開特許公報(A)
公開日
2025-10-17
出願番号
2025061402
出願日
2025-04-02
発明の名称
コネクテッド車両の車線変更信号を使用して車線レベル交通渋滞を推定する方法及びシステム
出願人
トヨタ自動車株式会社
代理人
個人
,
個人
,
個人
,
個人
,
個人
,
個人
,
個人
主分類
G08G
1/00 20060101AFI20251009BHJP(信号)
要約
【課題】車線レベル交通渋滞を推定するシステムが提供される。
【解決手段】システムは、1つ以上のプロセッサを含み、当該1つ以上のプロセッサは、交通渋滞セクションを含む道路セクションにおける車両の車線変更に関する情報を取得することであって、道路セクションは、複数の車線を含む、ということと、車線変更の後における車両の運転データを収集することと、車線変更に関する情報及び運転データに基づいて、複数の車線の車線レベル交通渋滞分布を推定することと、交通渋滞セクションに近付いている車両に車線レベル交通渋滞分布を送信することと、を行うようにプログラムされている。
【選択図】 図2
特許請求の範囲
【請求項1】
1つ以上のプロセッサを備えるシステムであって、
前記1つ以上のプロセッサは、
交通渋滞セクションを含む道路セクションにおける車両の車線変更に関する情報を取得することであって、前記道路セクションは、複数の車線を含む、ということと、
前記車線変更の後における前記車両の運転データを収集することと、
前記車線変更に関する前記情報及び前記運転データに基づいて、前記複数の車線の車線レベル交通渋滞分布を推定することと、
前記交通渋滞セクションに近付いている車両に前記車線レベル交通渋滞分布を送信することと、
を行うようにプログラムされた、システム。
続きを表示(約 1,700 文字)
【請求項2】
前記車線レベル交通渋滞分布は、前記複数の車線の各々における交通渋滞の確率を含む、請求項1に記載のシステム。
【請求項3】
前記1つ以上のプロセッサは更に、
交通渋滞における車両を識別し、
前記車両が右車線に移動して加速したという情報を取得し、
前記車両が前記右車線に移動して加速したという前記情報に基づいて、前記複数の車線の最も左の車線における前記交通渋滞の確率を増加させるようにプログラムされた、請求項2に記載のシステム。
【請求項4】
前記1つ以上のプロセッサは更に、
所定の期間中に前記交通渋滞において左車線に移動して加速した車両がないという情報を取得し、
前記所定の期間中に前記交通渋滞において左車線に移動して加速した車両がないという前記情報に基づいて、前記複数の車線の前記最も左の車線における前記交通渋滞の確率を増加させるようにプログラムされた、請求項3に記載のシステム。
【請求項5】
前記1つ以上のプロセッサは更に、
交通渋滞における車両を識別し、
前記車両が左車線に移動して加速したという情報を取得し、
前記車両が前記左車線に移動して加速したという前記情報に基づいて、前記複数の車線の最も右の車線における前記交通渋滞の確率を増加させるようにプログラムされた、請求項2に記載のシステム。
【請求項6】
前記1つ以上のプロセッサは更に、
交通渋滞における第1の車両及び第2の車両を識別し、
前記第1の車両が左車線に移動して加速したという情報を取得し、
前記第2の車両が右車線に移動して加速したという情報を取得し、
前記第1の車両が前記左車線に移動して加速して、前記第2の車両が前記右車線に移動して加速したという前記情報に基づいて、前記複数の車線の1つ以上の中間の車線における前記交通渋滞の確率を増加させるようにプログラムされた、請求項2に記載のシステム。
【請求項7】
前記1つ以上のプロセッサは更に、
交通渋滞にいない車両を識別し、
前記車両が左車線に移動して減速したという情報を取得し、
前記車両が前記左車線に移動して減速したという前記情報に基づいて、前記複数の車線の最も左の車線における前記交通渋滞の確率を増加させるようにプログラムされた、請求項2に記載のシステム。
【請求項8】
前記1つ以上のプロセッサは、
交通渋滞にいない車両を識別し、
前記車両が右車線に移動して減速したという情報を取得し、
前記車両が前記右車線に移動して減速したという前記情報に基づいて、前記複数の車線の最も右の車線における前記交通渋滞の確率を増加させるようにプログラムされた、請求項2に記載のシステム。
【請求項9】
前記1つ以上のプロセッサは、
交通渋滞にいない第1の車両及び第2の車両を識別し、
前記第1の車両が左車線に移動して減速したという情報を取得し、
前記第2の車両が右車線に移動して減速したという情報を取得し、
前記第1の車両が前記左車線に移動して減速して、前記第2の車両が前記右車線に移動して減速したという前記情報に基づいて、前記複数の車線の1つ以上の中間の車線における前記交通渋滞の確率を増加させるようにプログラムされた、請求項2に記載のシステム。
【請求項10】
前記1つ以上のプロセッサは、
前記車両が交通渋滞に入る前における車両による車線変更の回数を取得し、
前記車両が前記交通渋滞に入った後における前記車両による車線変更の回数を取得し、
前記車両が前記交通渋滞に入る前における前記車両による前記車線変更の回数、及び前記車両が前記交通渋滞に入った後における前記車両による前記車線変更の回数に基づいて、前記車線レベル交通渋滞分布を調整するようにプログラムされた、請求項2に記載のシステム。
(【請求項11】以降は省略されています)
発明の詳細な説明
【技術分野】
【0001】
本明細書は、車線レベル交通渋滞を推定するシステム及び方法、より具体的には、コネクテッド車両の車線変更信号を使用して車線レベル交通渋滞を推定するシステム及び方法に関する。
続きを表示(約 2,400 文字)
【背景技術】
【0002】
異なる車線における車両の平均速度が変わる車線レベルの交通は、衝突リスク、特に、追突の衝突を増加させ得る。加えて、様々なレベルの異なる交通レベルが存在する場合、運転者は、交通渋滞の列の後部を見逃し、割り込もうと試み得る。既存のナビゲーションシステムは、車線レベルの交通を提供しない。例えば、右への出口が混雑しているとき、既存のナビゲーションシステムは、混雑した右車線を示さず、他の車線において通常の速度で運転する車両の運転データにより、交通がない道路セクション全体を示す。
【0003】
したがって、車線レベル交通情報を正確に推定するシステム及び方法に対する必要性が存在する。
【発明の概要】
【0004】
本開示は、コネクテッド車両の車線変更信号を使用して交通渋滞車線を推定するシステム及び方法を提供する。
【0005】
一実施形態では、車線レベル交通渋滞を推定するシステムが提供される。システムは、1つ以上のプロセッサを含み、当該1つ以上のプロセッサは、交通渋滞セクションを含む道路セクションにおける車両の車線変更に関する情報を取得することであって、道路セクションは、複数の車線を含む、ということと、車線変更の後における車両の運転データを収集することと、車線変更に関する情報及び運転データに基づいて、複数の車線の車線レベル交通渋滞分布を推定することと、交通渋滞セクションに近付いている車両に車線レベル交通渋滞分布を送信することと、を行うようにプログラムされている。
【0006】
別の実施形態では、車線レベル交通渋滞を決定する方法が提供される。方法は、交通渋滞セクションを含む道路セクションにおける車両の車線変更に関する情報を取得することであって、道路セクションは、複数の車線を含む、ということと、車線変更の後における車両の運転データを収集することと、車線変更に関する情報及び運転データに基づいて、複数の車線の車線レベル交通渋滞分布を推定することと、車線レベル交通渋滞分布に基づいて、交通渋滞を伴う車線を識別することと、交通渋滞セクションに近付いている車両に、識別された車線に関する情報を送信することと、を含む。
【0007】
本開示の実施形態によって提供されるこれらの特徴及び更なる特徴は、図面と併せて以下の詳細な説明を考慮すると、より完全に理解されるであろう。
【図面の簡単な説明】
【0008】
図面に記載される実施形態は、本質的に実例的で例示的なものであって、本開示を限定することを意図したものではない。以下の図面と併せて読むと、実例的な実施形態の以下の詳細な説明を理解することができ、当該図面では、同様の構造は、同様の参照番号を用いて示される。
【0009】
図1Aは、本明細書に示され記載される1つ以上の実施形態に係る、コネクテッド車両の車線変更信号を使用して車線レベル交通渋滞を推定するシステムを概略的に描写する。
図1Bは、本明細書に示され記載される1つ以上の実施形態に係る、コネクテッド車両の車線変更信号を使用して車線の各々における交通渋滞の確率を推定することを描写する。
図1Cは、本明細書に示され記載される1つ以上の実施形態に係る、道路に関する例示的な車線レベル交通分布画像を示す。
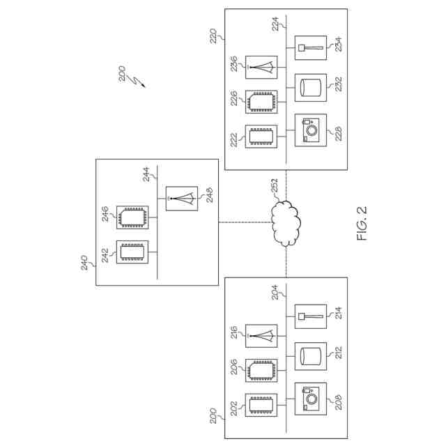
図2は、本明細書に示され記載される1つ以上の実施形態に係る、コネクテッド車両の車線変更信号を使用して車線レベル交通渋滞を推定するシステムを概略的に描写する。
図3は、本明細書に示され記載される1つ以上の実施形態に係る、車線レベル交通渋滞を推定するフローチャートを描写する。
図4は、本明細書に示され記載される1つ以上の実施形態に係る、コネクテッド車両の車線変更信号を使用して車線の各々における交通渋滞の確率を推定することを描写する。
図5は、本明細書に示され記載される1つ以上の実施形態に係る、コネクテッド車両の車線変更信号を使用して車線の各々における交通渋滞の確率を推定することを描写する。
図6は、本明細書に示され記載される1つ以上の実施形態に係る、コネクテッド車両の車線変更信号を使用して車線の各々における交通渋滞の確率を推定することを描写する。
図7は、本明細書に示され記載される1つ以上の実施形態に係る、コネクテッド車両の車線変更信号を使用して車線の各々における交通渋滞の確率を推定することを描写する。
図8は、本明細書に示され記載される1つ以上の実施形態に係る、コネクテッド車両の車線変更信号を使用して車線の各々における交通渋滞の確率を推定することを描写する。
図9は、本明細書に示され記載される1つ以上の実施形態に係る、コネクテッド車両の車線変更信号を使用して車線の各々における交通渋滞の確率を推定することを描写する。
図10は、本明細書に示され記載される1つ以上の実施形態に係る、コネクテッド車両の車線変更信号を使用して車線の各々における交通渋滞の確率を推定することを描写する。
【発明を実施するための形態】
【0010】
本明細書に開示される実施形態は、本明細書に示され記載される1つ以上の実施形態に係る、車線レベル交通渋滞を推定するシステム及び方法を含む。特に、本明細書で使用されるとき、車線レベル交通渋滞は、道路の或る車線における車両の平均速度が道路の別の車線における車両の平均速度と実質的に異なる状況を示す。より具体的には、車線レベル交通渋滞は、特定の領域内の道路の或る車線における車両の平均速度が特定の領域内の道路の別の車線における車両の平均速度と閾値量よりも多く変わる状況を示し得る。
(【0011】以降は省略されています)
この特許をJ-PlatPat(特許庁公式サイト)で参照する
関連特許
日本精機株式会社
警報システム
1か月前
株式会社SUBARU
車両
10日前
個人
自動電動車椅子
1か月前
スズキ株式会社
運転支援装置
1か月前
エムケー精工株式会社
車両誘導装置
1か月前
ニッタン株式会社
検知器
17日前
ニッタン株式会社
検知器
1か月前
ニッタン株式会社
検知器
1か月前
個人
磁気路上での車両の路線離脱防御
20日前
株式会社国際電気
防災システム
1か月前
ニッタン株式会社
検知器
1か月前
大阪瓦斯株式会社
音声出力システム
16日前
ダイハツ工業株式会社
移動支援装置
2日前
株式会社小糸製作所
移動体検出装置
1か月前
株式会社SUBARU
運転支援装置
18日前
トヨタ自動車株式会社
サーバ
24日前
日本信号株式会社
異常走行検出装置
24日前
株式会社小糸製作所
車両検出システム
1か月前
株式会社デンソー
運航管理装置
9日前
日本精機株式会社
報知装置及び報知システム
1か月前
株式会社CCT
通信装置及び表示方法
17日前
三菱自動車工業株式会社
制御システム
16日前
株式会社SUBARU
事故情報収集装置
10日前
能美防災株式会社
火災感知器
1か月前
株式会社 ミックウェア
車内環境制御システム
5日前
株式会社SUBARU
車室内異常検知装置
10日前
ホーチキ株式会社
火災検出システム
12日前
能美防災株式会社
非常伝達装置
1か月前
ヨシモトポール株式会社
接近報知システム
1か月前
シャープ株式会社
駐車制御装置
23日前
能美防災株式会社
火災感知器及び火災報知システム
9日前
大阪瓦斯株式会社
音声出力装置
11日前
株式会社豊田中央研究所
注意喚起装置
1か月前
株式会社関電工
車両運行通知システム
5日前
株式会社アイシン
運転支援装置
16日前
株式会社 ミックウェア
追従移動支援装置、端末装置
23日前
続きを見る
他の特許を見る