TOP
|
特許
|
意匠
|
商標
特許ウォッチ
Twitter
他の特許を見る
10個以上の画像は省略されています。
公開番号
2025158878
公報種別
公開特許公報(A)
公開日
2025-10-17
出願番号
2024065670
出願日
2024-04-15
発明の名称
容器
出願人
岐阜プラスチック工業株式会社
代理人
弁理士法人北斗特許事務所
主分類
B65D
25/04 20060101AFI20251009BHJP(運搬;包装;貯蔵;薄板状または線条材料の取扱い)
要約
【課題】容器本体から仕切板が外れることが効果的に抑えられた容器を提供する。
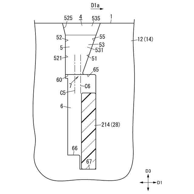
【解決手段】容器9は、容器本体1と、仕切板2と、を備える。容器本体1は、底壁11と、一対の側壁14と、を有する。仕切板2は、容器本体1の内部空間を仕切るために、容器本体1に対して着脱可能に装着される。一対の側壁14は、仕切板2の端縁部214を上方から挿し込むための縦溝部4を有する。縦溝部4は、上方に開放された挿入溝5と、挿入溝5から下方に延長された収容溝6と、を含む。挿入溝5と収容溝6は、互いの中心軸C5,C6がずれた位置で連通している。
【選択図】図2
特許請求の範囲
【請求項1】
底壁と、複数の側壁と、を有する容器本体と、
前記容器本体の内部空間を仕切るために、前記容器本体に対して着脱可能に装着される仕切板と、を備え、
前記複数の側壁は、前記仕切板の端縁部を上方から挿し込むための縦溝部を有する一対の側壁を含み、
前記縦溝部は、上方に開放された挿入溝と、前記挿入溝から下方に延長された収容溝と、を含み、
前記挿入溝と前記収容溝は、互いの中心軸がずれた位置で連通している、
容器。
続きを表示(約 300 文字)
【請求項2】
前記収容溝は、前記挿入溝との間で段差を形成する抜け止め部を有し、
前記収容溝は、前記段差を介して前記挿入溝よりも幅広に設けられている、
請求項1の容器。
【請求項3】
前記収容溝の下端縁には、前記下端縁の他の部分よりも下方に凹んだ係止凹部が含まれており、
前記係止凹部の上方に、前記抜け止め部が位置する、
請求項2の容器。
【請求項4】
前記挿入溝は、前記仕切板の前記端縁部を前記収容溝に向けて案内する傾斜面を有し、
前記抜け止め部の上方に、前記傾斜面が位置する、
請求項2又は3の容器。
発明の詳細な説明
【技術分野】
【0001】
本開示は、容器本体と仕切板を備えた容器に関する。
続きを表示(約 1,200 文字)
【背景技術】
【0002】
容器本体と仕切板を備えた容器が、従来知られている。特許文献1に開示された容器では、容器本体の内側面に溝を設け、この溝に対して仕切板の端縁部を挿し込むことで、容器本体に仕切板を装着する。
【先行技術文献】
【特許文献】
【0003】
実開平6-3843号公報
【発明の概要】
【発明が解決しようとする課題】
【0004】
上記した従来の容器では、例えば容器を移送する際に、容器に上下の振動が加わったときや、容器本体の底面や側面に衝撃が加わったときに、仕切板が容器本体から外れるおそれがある。
【0005】
本開示が解決しようとする課題は、容器本体から仕切板が外れることが効果的に抑えられた容器を提供することにある。
【課題を解決するための手段】
【0006】
本開示の一様態に係る容器は、容器本体と、仕切板と、を備える。前記容器本体は、底壁と、複数の側壁と、を有する。前記仕切板は、前記容器本体の内部空間を仕切るために、前記容器本体に対して着脱可能に装着される。
【0007】
前記複数の側壁は、前記仕切板の端縁部を上方から挿し込むための縦溝部を有する一対の側壁を含む。前記縦溝部は、上方に開放された挿入溝と、前記挿入溝から下方に延長された収容溝と、を含む。前記挿入溝と前記収容溝は、互いの中心軸がずれた位置で連通している。
【発明の効果】
【0008】
本開示は、容器本体から仕切板が外れることが効果的に抑えられるという効果を奏する。
【図面の簡単な説明】
【0009】
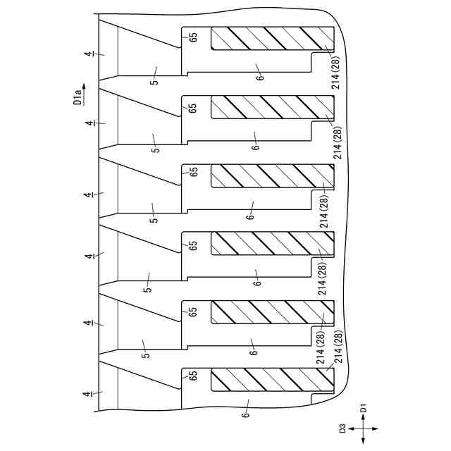
図1は、一実施形態の容器の斜視図である。
図2は、同上の容器の要部断面図である。
図3は、同上の容器の下面図である。
図4は、同上の容器の別の要部断面図である。
図5は、第1変形例の容器の要部断面図である。
図6は、第1変形例の容器に装着される複数の仕切板の側面図である。
図7Aは、第2変形例の容器の縦溝部を示す断面図であり、図7Bは、第3変形例の容器の縦溝部を示す断面図である。
図8Aは、第4変形例の容器の縦溝部を示す断面図であり、図8Bは、第5変形例の容器の縦溝部を示す断面図である。
図9Aは、第6変形例の容器の縦溝部を示す断面図であり、図9Bは、第7変形例の容器の縦溝部を示す断面図であり、図9Cは、第8変形例の容器の縦溝部を示す断面図である。
【発明を実施するための形態】
【0010】
1.一実施形態
一実施形態の容器9について、添付図面に基づいて説明する。以下の説明において用いる上下等の各方向は、図1等に示されるように、一実施形態の容器9が水平面上に置かれた状態を基準とする。
(【0011】以降は省略されています)
この特許をJ-PlatPat(特許庁公式サイト)で参照する
関連特許
個人
収容箱
3か月前
個人
コンベア
5か月前
個人
容器
9か月前
個人
段ボール箱
7か月前
個人
段ボール箱
7か月前
個人
ゴミ収集器
7か月前
個人
角筒状構造体
5か月前
個人
土嚢運搬器具
8か月前
個人
宅配システム
7か月前
個人
楽ちんハンド
5か月前
個人
バンド
2か月前
個人
廃棄物収容容器
2か月前
個人
コード類収納具
8か月前
個人
包装容器
1か月前
個人
お薬の締結装置
6か月前
個人
閉塞装置
10か月前
個人
蓋閉止構造
4か月前
株式会社和気
包装用箱
9か月前
個人
蓋閉止構造
4か月前
個人
貯蔵サイロ
7か月前
株式会社和気
包装用箱
4日前
個人
積み重ね用補助具
2か月前
個人
ゴミ処理機
9か月前
株式会社コロナ
梱包材
5か月前
株式会社バンダイ
物品
24日前
個人
把手付米袋
4か月前
三甲株式会社
容器
8日前
株式会社KY7
封止装置
3か月前
個人
袋入り即席麺
7か月前
個人
搬送システム
6か月前
個人
コード折り畳み器具
4か月前
個人
包装箱
10か月前
個人
輸送積荷用動吸振器
6か月前
株式会社新弘
容器
3か月前
株式会社イシダ
搬送装置
6か月前
個人
介護用コップ
2か月前
続きを見る
他の特許を見る